

7550 Fold-up Stationary
Wheelchair Scale
Installation and Operation Manual 
INTRODUCTION
Thank you for purchasing our DETECTO™ 7550 Fold-up Stationary Wheelchair Scale. It has been manufactured with quality and reliability at our factory in Webb City, MO USA. This scale has been assembled and tested before leaving our factory to ensure accuracy and dependability for years to come.
This manual is provided to guide you through the assembly of your scale. Please read it thoroughly before attempting to assemble your scale and keep it handy for future reference.
COPYRIGHT
All rights reserved. Reproduction or use, without expressed written permission, of editorial or pictorial content, in any manner, is prohibited. No patent liability is assumed with respect to the use of the information contained herein.
DISCLAIMER
While every precaution has been taken in the preparation of this manual, the Seller assumes no responsibility for errors or omissions. Neither is any liability assumed for damages resulting from the use of the information contained herein. All instructions and diagrams have been checked for accuracy and ease of application; however, success and safety in working with tools depend to a great extent upon individual accuracy, skill, and caution. For this reason, the Seller is not able to guarantee the result of any procedure contained herein. Nor can they assume responsibility for any damage to property or injury to persons occasioned by the procedures. Persons engaging in the procedures do so entirely at their own risk.
PRECAUTIONS
Before beginning the assembly of this scale, read this manual and pay special attention to all “NOTIFICATION” symbols:
IMPORTANT:
SPECIFICATIONS
| Capacity: | 1,000 lb x 0.2 lb / 450 kg x 0.1 kg |
| Platform Size (Flat Portion): | 32.3 in W x 33 in D / 81.9 cm W x 83.9 cm D |
| Overall Dimensions Width: | 50.3 in / 127.6 cm |
| Depth: | 39.3 in / 99.7 cm (with platform extended) 7.3 in / 18.4 cm (without platform extended) |
| Height: | 44.5 in / 113 cm (with indicator) 41.1 in / 104.4 cm (without indicator) |
| Power: | 6 “C” cell Alkaline, Ni-Cad, or NiMH batteries (not included) OR an optional 12 VDC 1.25A wall plug-in AC power adapter (Detecto part number MV1 PWR) |
| Display: | 5-digit, 7-segment, 7/8 inch (22.23 mm) high LCD weight digits |
| Keypad: | 19 key, color-coded, sealed membrane |
| Connectivity: | RS232 serial, USB, and optional wired and Wi-Fi Ethernet |
| Weight: | 180 lb |
FEATURES
- Slim, 7.3-inch Profile
- 2-Way Easy Access Ramps
- Compact Vertical Fold-Up Platform Conserves Space
- Gas Spring Lifting Mechanism
- Platform Lip to Hold Wheelchairs in Place on Scale
- Optional Wi-Fi Connectivity for EMR/HER
- USA-Made Quality – ISO 9001:2008
- Sturdy Steel Construction for Durability
- RS232 Serial and USB Ports Standard
- 350-Degree Tilt-and-Swivel Rotating Indicator
- Body Mass Index Calculation
- Optional Printer Available to Record Patient Weights
INSTALLATION
Location
The scale should be installed in a location with a flat, level floor. Note that the weighing platform will not sit completely against the floor. This will not affect the accuracy of the scale as the weighing platform will settle to the floor when the patient is placed on the scale. 
The front-load cells of the weighing platform will be off the floor. The backload cells must be sitting completely on the floor.
There should be 1/8” to 1/4” clearance between the sides of the scale frame and the floor. This clearance is required for the lift mechanism to close completely. The included shims can be used to raise the scale if there are slight imperfections with the floor or wall mount installation that sits the wall mount too low and prevents the scale from closing completely. If the wall mount is too high the back load cells will not touch the floor when the weighing of the platform is lowered. If the wall mount is too high, the wall mount must be moved lower on the wall or the scale will not function correctly.
NOTE: It may be necessary to remove any base molding/chair rail/wall guard or to remove a section of the base molding/chair rail/wall guard to provide space to mount the scale in a true vertical position. An alternative method would be to shim the wall mount away from the wall to accommodate any base molding/chair rail/wall guard.
This page was intentionally left blank.
Step 1 – Unpack the Scale
IMPORTANT: UNPACKING AND INSTALLATION OF THIS PRODUCT SHOULD BE PERFORMED BY TWO PEOPLE. PLEASE READ THROUGH THE INSTRUCTIONS CAREFULLY BEFORE STARTING TO INSTALL THE SCALE.
NOTE: Make certain the scale has been received in good condition. Check for any damage incurred in shipping. If the scale has been damaged, place a claim with the carrier. It is the responsibility of the purchaser to file all claims for any damages or loss incurred during transit. Keep the carton and packing material for return shipment if it should become necessary.
- Cut the shipping straps and remove the shipping carton top to unpack the scale.
- Remove the boxes containing the Wall Mount and Weight Indicator from the shipping carton.

NOTE: Leave the strap securing the Weighing Platform to the Scale Frame until instructed to remove it in “Step 4 – Install the Scale on the Wall Mount”.
- Remove all packing material.
- Cut the tape securing the flaps on one end of the carton and with an assistant, slide the scale out of the carton.
NOTE: When the scale is out of the carton, DO NOT lift the scale by the strap securing the weighing platform to the scale frame to raise the scale to the upright position.

The wall mount allows the scale to be adjusted up or down and left or right to accommodate floors that may not be perfectly flat. This ensures the accuracy of the weighing platform and prevents undue stress on the scale.
The wall mount should be secured to the wall using mounting hardware suitable to the wall’s construction. The six (6) holes (in groups of two, sixteen (16) inches apart) in the wall mount allow for 1/4″ hardware to be used to secure the wall mount to the wall.
- Determine the desired location where the scale is to be mounted.
- With an assistant, place the wall mount against the wall. Ensure it’s level and 35 1/2” from the top edge of the wall mount to the floor.
- Mark the holes to mount the wall mount.
- Remove the wall mount and drill the required diameter holes for the mounting hardware used.
- Fasten the wall mount to the wall.
Step 3 – Routing the Load Cell Cable
- With the help of an assistant, raise the scale to the upright position.
NOTE: DO NOT lift the scale by the shipping strap to raise it to the right position. Refer to the note and picture in “Step 1 – Unpack the Scale”. - On the back of the scale, locate the load cell cable and the large cut-out in the scale frame.

- Feed the load cell cable through the large cut-out in the back of the scale frame.

- Continue feeding the load cell cable through the scale frame and up through the notch at the top of the scale frame.

Step 4 – Install the Scale on the Wall Mount
- Once the Load Cell cable has been routed through the scale frame, remove the strap securing the weighing platform to the scale frame. Refer to the note and picture in Step 1.
- With an assistant, lift the scale above the wall mount and then lower it into position in the channel of the wall mount.

- Center the scale side to side in the channel of the wall mount.

Step 5 – Install the Weight Indicator
- Remove the weight indicator from its box and unpack it. Obtain and install1 six “C” batteries in the indicator.
- Assemble the indicator swivel ball socket mount and then place it over the bolt and washer on the top right of the scale frame.

- To install the indicator, slightly loosen the adjustment knob to allow the two parts of the socket to open enough to insert the rubber ball and place the rubber ball on the back of the indicator into the swivel ball socket mount. Tighten the adjustment knob slightly to secure the indicator for the next step.
- Turn the indicator around (display away from you). Locate the 9-pin load cell connector on the back panel of the indicator. Align the long edge of the load cell cable connector with the long edge of the indicator connector. Place the load cell cable connector on the indicator connector and secure using the load cell cable retaining screws.
- Adjust the indicator to the desired viewing angle and direction and then tighten the adjustment knob.
1 NOTE: For more detailed information on installing the batteries, connecting the load cell cable, and mounting the weight indicator on the scale, refer to the MedVue Model MV1 Medical Weight Analyzer Owner’s Manual, 8555-M512-O1.
Step 6 – Scale Operation
- With the weighing platform in the closed (stored) position, grasp the top edge of the platform and pull it down into the operating position.

- With the weighing platform in the operating position, press the indicator on. ON/OFF key to turn the
- When the indicator reads Zero, place the empty wheelchair on the weighing platform and TARE the wheelchair weight if desired.
- Position the patient on the weighing platform by pulling the wheelchair onto the platform.
Do Not push the wheelchair on or off we weighing platform.
DANGER: Never PUSH the wheelchair onto or off the weighing platform!
Always PULL the wheelchair onto and off the platform. Serious injury to the patient could occur!
Step 6 – Scale Operation, Cont. - Lock the wheelchair wheels.
- When the weight reading is steady, record the patient’s weight.
- Remove the patient by pulling the wheelchair off the weighing platform. Do Not push the wheelchair off the weighing platform.
- To return the weighing platform to the closed (stored) position, lift the platform up.


Lift weighing platform up to return to the closed (stored) position. The platform is the closed (stored) position
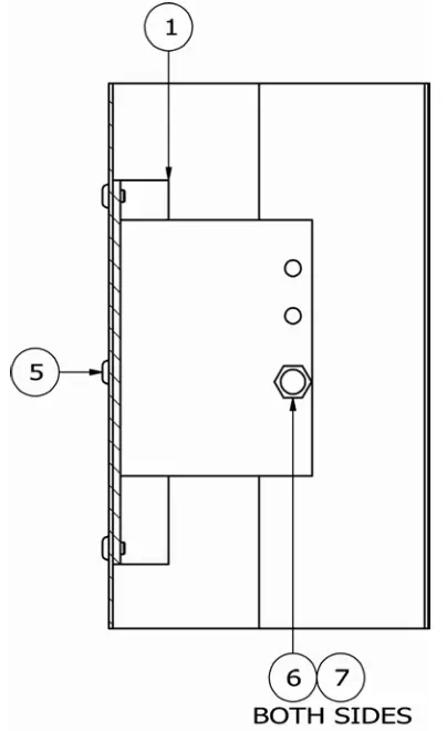
PARTS IDENTIFICATION
FRAME ASSEMBLY 
| ITEM 1 | QTY 1 | PART NUMBER 0065-C624-0A | DESCRIPTION CYLINDER MOUNT WELDMENT LEFT |
| 2 | 1 | 0065-C624-1A | CYLINDER MOUNT WELDMENT RIGHT |
| 3 | 1 | 0065-D620-08 | TOP COVER |
| 4 | 1 | 0065-D625-0A | FRAME WELDMENT |
| 5 | 20 | 6021-2033 | SCW BUTTON-HD. CAP-SCREW.. 10-32X.25 |
| 8 | 1 | 8555-B519-0A | MEDVUE MTG KIT ASSY |
PARTS IDENTIFICATION
FRAME ASSEMBLY, CONT.

SECTION B-B
| ITEM 1 | QTY 1 | PART NUMBER 0065-C624-0A | DESCRIPTION CYLINDER MOUNT WELDMENT LEFT |
| 5 | 20 | 6021-2033 | SCW BUTTON-HD. CAP-SCREW. 10-32X.25 |
| 6 | 2 | 6031-0220 | BALL STUD, GAS SPRING, 10 MM DIA, 5/16” – 18 |
| 7 | AR | 6560-1125 | ADHESIVE LOCTITE 242 THRILLER, REMOVABLE |
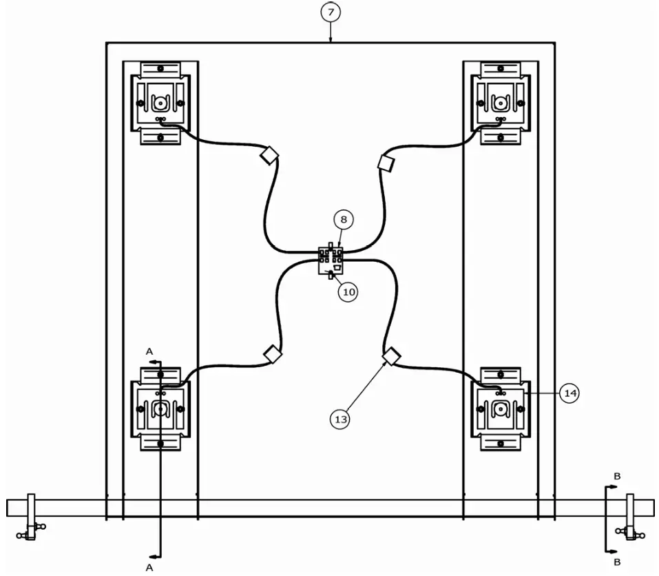
PARTS IDENTIFICATION
SUPPORT TRAY ASSEMBLY

| ITEM | QTY | PART NUMBER | DESCRIPTION |
| 7 | 1 | 0065-D627-0A | SUPPORT FRAME |
| 8 | 1 | 3502-B629-0A | PCB 7550 4 CELL TRIM BOARD |
| 10 | 2 | 6021-0654 | SCW PAN-HEAD. MACHINE-SCW 06-32X 0.25 |
| 13 | 4 | 6610-5007 | CABLE CLIP, 1” X 1” GREY |
| 14 | 4 | FP-250 | LOAD CELL, FLAT PLATE, 250 LBS |
PARTS IDENTIFICATION
SUPPORT TRAY ASSEMBLY, CONT.

| ITEM | QTY | PART NUMBER | DESCRIPTION |
| 1 | 8 | 0031-B014-08 | SPACER |
| 2 | 4 | 0065-B632-0A | LOAD CELL FOOT WELDMENT |
| 3 | 8 | 0065-B635-08 | LOAD CELL MOUNT SPRING |
| 4 | 4 | 0065-B636-08 | LOAD CELL SPACER |
| 5 | 8 | 0065-B637-08 | LOAD CELL WASHER |
| 6 | 4 | 0065-B642-08 | WEIGHBRIDGE MOUNT, 7550 |
| 9 | 16 | 6013-0295 | NUT #10-32 HEX Z/P |
| 11 | 4 | 6031-0220 | BALL STUD, GAS SPRING, 10 MM DIA, 5/16” – 18 |
| 12 | AR | 6560-1125 | ADHESIVE LOCTITE 242 THRILLER, REMOVABLE |
PARTS IDENTIFICATION
FINAL ASSEMBLY 
PARTS IDENTIFICATION
FINAL ASSEMBLY, CONT.

PARTS IDENTIFICATION
FINAL ASSEMBLY, CONT.
| ITEM | QTY | PART NUMBER | DESCRIPTION |
| 1 | 2 | 0065-B610-08 | BUSHING |
| 2 | 2 | 0065-B613-08 | CYLINDER SLIDE |
| 3 | 2 | 0065-B621-08 | BUMPER MOUNT |
| 4 | 1 | 0065-b638-0A | INDICATOR CABLE 7550 |
| 5 | 2 | 0065-C609-08 | PIVOT BLOCK |
| 6 | 2 | 0065-C618-08 | FRAME COVER |
| 8 | 1 | 0065-D630-08 | DECK, 7550 |
| 9 | 1 | 0065-D639-0A | SUPPORT TRAY ASSEMBLY |
| 10 | 1 | 0065-D640-0A | FRAME ASSEMBLY |
| 11 | 2 | 6021-1058 | SCW TRUSS-HEAD MACHINE-SCW 10-32X.375 |
| 12 | 2 | 6021-1246 | SCW SHOULDER.. SOCKET HEAD 5/16-18X1.0” |
| 13 | 4 | 6021-1801 | SCW FLAT-HEAD. SOCKET CAP .25-20X.375 BLACK OXIDE |
| 14 | 28 | 6021-2033 | SCW BUTTON-HD. CAP-SCREW. 10-32X.25 |
| 15 | 2 | 6031-0219 | CYLINDER, GAS SPRING, 191 LBS, TWO-SOCKET 8-INCH STROKE |
| 16 | 2 | 6031-0221 | CYLINDER, GAS SPRING, 191 LBS, ONE SOCKET 8-INCH STROKE |
| 17 | AR | 6050-3049 | GREASE, FOOD GRADE, MOLYKOTE G-4500 14OZ |
| 18 | AR | 6560-1125 | ADHESIVE LOCTITE 242 THRILLER, REMOVABLE |
| 19 | 3 | 6610-5007 | CABLE CLIP, 1” X 1” GREY |
| 20 | 2 | 6680-0021 | SPACER NYLON 1.000 OD X .450 ID X .219 LONG |
| 21 | 2 | 8529-B215-08 | SUPPORT, TRAY |
| 30 | 1 | 0065-C641-08 | MAT-DECK, 7550 |

STATEMENT OF LIMITED WARRANTY
Detecto Scale warrants its equipment to be free from defects in material and workmanship as follows: Detecto warrants to the original purchaser only that it will repair or replace any part of the equipment that is defective in material or workmanship for a period of one (1) year from date of shipment. Detecto shall be the sole judge of what constitutes a defect.
During the first ninety (90) days Detecto may choose to supply all necessary replacement parts and services during normal weekday working hours at no charge to the buyer.
After the first ninety (90) days Detecto will supply parts and service at the job site provided the owner agrees to pay the Dealer for all travel time, including mileage and test equipment, as well as any expenses incurred over the direct labor of the technician at the job site. This limited warranty honors only labor performed by Detecto authorized dealers.
This warranty does not apply to peripheral equipment not manufactured by Detecto; this equipment will be covered by a certain manufacturer’s warranty only.
This warranty does not include the replacement of expendable or consumable parts. This does not apply to any item which has deteriorated or damaged due to wear, accident, misuse, abuse, improper line voltage, overloading, theft, lightning, fire, water, or acts of God, or due to extended storage or exposure while in purchaser’s possession. This warranty does not apply to maintenance services. Purchased parts will have a ninety (90) day repair or replacement warranty only.
Detecto may require components to be returned to the factory; they must be properly packed and shipping charges prepaid. A return authorization number must be obtained for all returns and marked on the outside of all returned packages. Detecto accepts no responsibility for loss or damage in transit.
Conditions Which Void Limited Warranty
This warranty shall not apply to equipment that:
A.) Has been tampered with, defaced, mishandled, or has had repairs and modifications not authorized by Detecto.
B.) Has had the serial number altered, defaced, or removed.
C.) Has not been grounded according to Detecto’s recommended procedure.
Freight Carrier Damage
Claims for equipment damaged in transit must be referred to the freight carrier in accordance with freight carrier regulations.
This warranty sets forth the extent of our liability for breach of any warranty or deficiency in connection with the sale or use of the product. Detecto will not be liable for consequential damages of any nature, including but not limited to, loss of profit, delays, or expenses, whether based on tort or contract. Detecto reserves the right to incorporate improvements in material and design without notice and is not obligated to incorporate improvements in equipment previously manufactured.
The foregoing is in lieu of all other warranties, express or implied including any warranty that extends beyond the description of the product including any warranty of merchantability or fitness for a particular purpose. This warranty covers only those Detecto products installed in the forty-eight (48) contiguous continental the United States.
02/06
Printed in the USA
D268-WARRANTY-DET































