JOYO JW-02 508G Digital Wireless Transmitter & Receiver

Caution
- Do not disassemble or repair this product by yourself.
- Do not use or store it to any heat sources, damp, dusty areas. Avoid violent vibrations or shock.
- Do not drop this product otherwise it may malfunction.
- Do not use alcohol or other cleaning fluids to clean this product.
- This product works normally only when the transmitter matches with the receiver. It supports one-to-one and one-to-many.
- Please make sure the transmitter and the receiver keep a distance away from wireless router or other wireless equipments during use.
- Obstructions between the transmitter and the receiver may affect the transmission distance.
- A maximum of 4 sets of transmitters and receivers can be used in the same place simultaneously.
- If the red light flashes during use, it indicates low battery, please charge it in time.
- Please turn off the transmitter and the receiver when not in use.
- Due to one of the characteristics of lithium battery, there is a slight self-discharge. Therefore please charge the battery in 2 months so as to avoid low battery protection.
- The lithium battery capacity decreases gradually after repeated charge and discharge, so this product’s lifetime will be affected within acceptable degree with time.
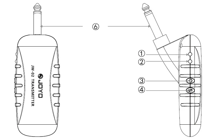
Components and functions
Transmitter
- Charge/low battery/channel indicator
- Connection indicator
- Power/channel switch
- Match button
- USB port for charging
- Signal input plug: for connecting to guitar
Receiver
- Charge and low battery indicator
- Connection indicator
- Power on/off switch
- Match button
- USB port for charging
- Signal output plug: for connecting to amplifiers
Instructions
- One transmitter to one receiver:
A.Switch on the transmitter and the receiver, and then match the 2 products. If the green light is not on, please long press the match buttons of the transmitter and the receiver for more than 3 seconds, the green lights of the transmitter and the receiver will flash, they are matched when the 2 green lights stop flashing. Repeat the above operation if still not matched.
B.Once they are matched, the system will memorize it. So from next time, no need to repeat the match operation, the receiver’ s green light will be on. If you want to match it with other similar products, operate according to the first procedure. - One transmitter to many receivers:
The receivers match with the same transmitter separately, then switch on all the products. Please refer to “one transmitter to one receiver” for detailed operation. - Switch channel: JW-02 features 4 channels, when several sets of JW-02 are being used simultaneously or has interference, you can choose different channel on your own to avoid interference.
A.Several sets of JW-02 are being used simultaneously: 4 sets of JW-02 can be used simultaneously, and you need to set each channel manually. Please note that when tap the Power/ channel switch, the red indicator will flash. And then pay attention to how many times it flashes, as the times indicate channel value.
B. lf there is any signal interference when working in the default channel, please tap the Power/channel switch so as to avoid interference.
How to charge
- If the red light flashes after you switch on the transmitter or the receiver, it indicates low battery, please charge it in time.
- If you need a full charge ASAP, then please turn off the transmitter and the receiver while charging.
- During charging, if the indicator shows red, it means charging. If the red light is off, it means full battery.
- Please use the attached charger or USB cable for charging.
- When the product is not in use for a long time or fail to charge in time, low battery protection may occur. Precharge is needed, as the charging current is small, therefore the charging time increases accordingly.
JOYO TECHNOLOGY CO., LTD
Address: 2/F, Lushi Industry Building, 28th District, Bao’an, Shenzhen, 518133 China.
www.joyoaudio.com
Email:[email protected]
Tel: 0086-755-29765381




















