

2 in 1 Wireless Transmitter/Receiver
User ManualUser Manual
2-in-1 Wireless Transmitter/Receiver
Product diagram

Packing list

Basic parameters
Name: 2-in-1 Wireless Transmitter/eceiver
Model J-CB2
BT version: V5.3
Audio decoding: SBC
Supported protocols: HSD, HFD, A2DD, AVCD
Supported modes: receiving, transmitting, BT, AUX, TF
Transmission range: <12m
Mic sensitivity. -38±20dB
TX mode music time: about 6.5h (60% volume)
RX mode music time about 9h (60% volume)
RX mode calling time: about 7h (60% volume)
Standby time (connected): about 24h
Battery capacity. 30OmAh
Charging time: about 2h
Charging port. Type-C
Charging input. 5v.
180mA
product size: 484215.2 mm
product material ABS+pC
Net weight. 34g
Pairing operation
- RX mode

- Press and hold the power button for ls to turn it on.

- When the 4-color light ring keeps on, it means the product is ready for pairing.

- Turn the phone’s BT function on, search for the BT device -CB2°.

- After R-CB2″ is found, click to pair and connectwith it.

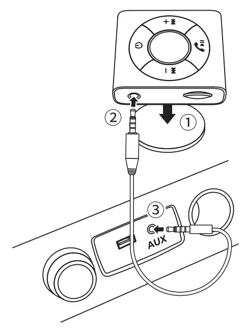
- Plug one end of the audio adapter into the wireless receiver.

- Plug the other end into the 35mm port of car audio system.

- Switch the car audio system to AUX mode, you can start to use the wireless receiver to enjoy music or answer calls
Metal plate using method:
- Rmove the protective fr.

- Stick the metal onto dashboard.

- Put the wireless recerver onto the metal plate.

2. TX mode {connecting computers or TVs without BT function).
- Slide the mode switch to TX mode.

- Press and hold the power button for1s to turn it on.

- Turn on the BT device (e.g. wireless earphones or speaker) that is to be connected to the computer or TV.

- Place the transmitter/receiver near the BT device, it will start searching automatically (the 4-color light ring keeps on).

- When the light ring changes from constant on status into slow breathing status, it means the transmitter/receiver is successfully connected to your BT device.

- Plug one end of the 3.5mm audio cable into the 3.5mm audio port of the transmitter/receiver, plug the other end into the 35mm output port of the computer or TV.
- After connecting successfully, you can start to use the computer to operate the audio function.

- Plug the TF card into the transmitter/ receiver, you can start to use the BT device to play audios in the Tr card.
Operation instructions






1. Turn on/off
The product will turn off automatically if not connected for 5 min
2. Voice assistant
3. Music function
Volume down; chick the volume down button
Previous song: long press the volume down button for 1 second
Pause/play: click the multifunctional button
Volume up click the volume up button.
Next song: long press the volume up button forl second
4. Restore factory settings Under turned on status, press and hold the+” and” buttons simultaneously for 5s
5. Call function
Answer/End catty
Click the call button (only in X mode)
Reject call
Press and hold the call button for 2s (only in PX mode)
Redial last number
Double-click the call button (only in RX mode)
6. Mode switch function
Switch between TX and x mode:
Slide the mode switch
RX: Switch between BT and F card mode
TX: Switch between
AUX and Tr card mode
Double-click the power button (note: you need to insert a TF card)
Indicator instructions
| Turn on | The 4-color light of the light ring flash 3 times simultaneously |
| Turn off | The 4-color light of the light ring flash 3 times simultaneously |
| Ready for pairing | The 4-color light of the light ring keep on |
| Connected | The 4-color light of the light ring breathe slowly |
| Low battery | The ones digit of the LED power display flashes |
| Charging | The ones digit of the LED power display flashes |
| Fully charged | The LED power display shows “100” and keeps on |
Prompt tone instructions
| Turn on | “doo-doo-doo” sound in rising tone |
| Turn off | “doo-doo-doo-doo” sound in falling tone |
| Connected | “doo-der” sound. |
| Disconnected | “doo-doo-doo” sound in falling tone |
| Low battery warning | “di-di-di” sound every 60s |
| Call reminder | Synchronize with the ringtone for iOS system; or “doo-” “doo-” “doo-” sound for Android system that cannot synchronize the ringtone. |
FAQ
– Dit may be that the mode switch is not slid to RX mode,
– It may be that the transmitter/receiver has been please slide it to RX mode manually connected to another device (such as a computer or mobile phone). Please disconnect it from the device and make a reconnection
– Since the iP phone’s BT has no automatic refresh function, you can click R-CB2″ manually on the BT interface
– It may be that the BT device has been connected to another device (such as a computer or mobile phone) please disconnect it from the device and make a reconnection.
– It may be that the transmitter/receiver has been connected to another BT device (such as wireless earphones or speaker). Please disconnect it from the BT device and make a reconnection.
– It may be that the transmitter/receiver is kept too far away from the BT device. Please place it near the BT device.
– The charging port and cable may not be connected properly, please pull the cable out and plug it in again repeatedly to make sure it is well inserted
– Please use adapters that conform to national/regional safety standards together with the included charging cable to charge the product. Chargers with excessive power may be incompatible or damage the product’s battery.
– The product does not work with PD charging cables.
Safety Criterion
- Please follow the instructions, do not disassemble the product or refit it for any reason, otherwise it may break down or burn down
- Do not immerse it in any liquid or wash it with water
- Please use adapters that conform to national/regional safety standards together with the included charging cable to charge the product, otherwise its battery may be damaged or cause safety problems.
- Please use and store it in normal temperatures; too low or too high temperature (below OC or above 45C) is not permitted
- Do not block the openings of the product, such as charging port, audio port and microphone, etc
- Do not use it under thunderstorm which may lead to abnormal performance and signal interruption
Warranty Card
User Name:……………………………………
User Tel:…………………………………………
User address (with postcode):………..
Purchase date:…………………………….
Invoice No.:…………………………………
Dealer Name:………………………………….
Dealer Address (with postcode):………..
Dealer Tel:……………………………….
Warranty
A If there is performance failure on this product and it’s not cause by human error damage, we will provide 12-month free warranty service for consumers from the date of purchase.
B. Warranty Exceptions’
Human damage,
Beyond the warranty period,
Failure to provide valid purchase certificate
Product damage caused by failure to follow the use, maintain and preserve instructions
Product damage caused by dismantle it or repair the product
Damage caused by other force majeure without authorization, or immerse the product in water,
This device complies with part 15 of the FCC Rules. Operation is subject to the following two conditions: (1) This device may not cause harmful interference, and (2) this device must accept any interference received, including interference that may cause undesired operation.
Any Changes or modifications not expressly approved by the party responsible for compliance could void the user’s authority to operate the equipment.
Note: This equipment has been tested and found to comply with the limits for a Class B digital device, pursuant to part 15 of the FCC Rules. These limits are designed to provide reasonable protection against harmful interference in a residential installation. This equipment generates uses and can radiate radio frequency energy and, if not installed and used in accordance with the instructions, may cause harmful interference to radio communications. However, there is no guarantee that interference will not occur in a particular installation. If this equipment does cause harmful interference to radio or television reception, which can be determined by turning the equipment off and on, the user is encouraged to try to correct the interference by one or more of the following measures:
- Reorient or relocate the receiving antenna.
- Increase the separation between the equipment and receiver.
- Connect the equipment into an outlet on a circuit different from that to which the receiver is connected.
- Consult the dealer or an experienced radio/TV technician for help.


































