Installation Instructions
ZEAL PENDANT/CTC
SKU# 050338, 050340
Rated Voltage 220-240V~ 50Hz
Zeal Small 8 Light Chandelier in Aged Steel Crystal
Thank you for purchasing this quality Lucci product. To ensure correct function and safety, please read and follow all instructions carefully before assembly, installation, and use of this product. Please keep instructions for future reference.
Warranty
- This fitting is covered by a 12 month warranty. The warranty is from date of purchase, not the date of installation.
- If the fitting is not assembled and installed by a licensed electrician the warranty will be void.
- Please retain proof of purchase and evidence of assembly and installation by a licensed electrician.
- Warranty will be void if there is any damage due to improper usage or modification to the fitting.
- Failure to comply with the instructions in this manual may increase the risk of damage or injury and will void warranty.
Installation Requirements
- This fitting must be assembled and installed by a licensed electrician.
- All wiring and installation of the fitting must adhere to local and national wiring rules. eg. AS/NZS 3000:2007/Amendment 2:2012 Electrical installations.
- Do not exceed the maximum wattage rating.
- Select a suitable location for installation:
– This fitting is suitable for indoor use only.
– The mounting point must support 2 times the weight of the fitting.
– Ensure the fitting is not installed in direct line of an air vent/system.
– If installing a fitting in an area prone to moisture, ensure that the area is well ventilated and an appropriately rated exhaust fan is used if required. Damage or corrosion caused by moisture is not a product fault, and as such is not covered under warranty. - Take care not to pull any electrical wires during unpacking as this may damage the connection.
- Lay out all the components on a smooth surface and make sure there are no components missing before assembling.
If parts are missing, return the complete product to the place of purchase for inspection or replacement. - Check whether the fitting has been damaged during transport. Do not operate/install any product which appears damaged in any way. Return the complete product to the place of purchase for inspection, repair, or replacement.
- Ensure power to the circuit you are working on has been switched OFF before commencing any electrical work.
Installation Directions
NOTE: Due to the size and weight of the fitting, two people may be required to lift up the fitting during installation.
- Select the type of installation you require before assembly and installation:
This light fitting can be installed as a Pendant or Close to Ceiling. Refer to the corresponding instructions and diagram for the different installation methods.
NOTE: Assembly and installation of this fitting must be done by a licensed electrician. - Remove all packaging material from the product and be careful not to throw away accessories that may be hidden within the packaging material. To help with assembly, lay the fitting on its side on a smooth non scratch surface.
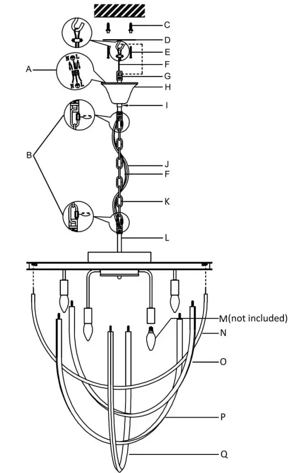
PENDANT INSTALLATION (Refer to the diagram below for components) - Use the hook mounting bracket (D) as a template to mark the screw positions on the ceiling.
- Install the hook mounting bracket (D) onto the ceiling by using appropriately sized mounting screws (E) and anchors (C). Ensure the screws (E) and anchors (C) used are suitable for the mounting surface and surrounding environment.
- Determine the suspension length required for your installation location. The chain (K) suspension length can be adjusted by using the chain link connectors (B).
- Using the fitting hook (G) to hang up the fitting onto the hook mounting bracket (D). Also attach the safety loading wire (F) onto the hook mounting bracket (D).
NOTE: Check and ensure that NO load/weight is placed onto the supply cord (J) by the chain (K) suspension.
The full load/weight of the pendant must always be on the chain (K) suspension. - Remove the cover from the terminal block (A) and connect the mains supply wire.
Mains Supply Wire Fitting Wire Earth – Yellow/Green Yellow/Green or 
Neutral – Blue or Black Blue or N Live – Brown or Red Brown or L - Ensure the wires are secure and no bare wires are exposed. Install the cover back over terminal block (A).
- Slide and install the canopy (H) over the hook mounting bracket (D) and secure it by tightening the screw (I).
- Install globes (M – not included) into the lamp holders. Do not exceed the maximum wattage rating.
- Install the smallest size glass (N) onto the fitting first, followed by the next size (O) then (P), and the largest size glass (Q) last.
- After the installation, switch on the fitting to test and enjoy your new lighting product.

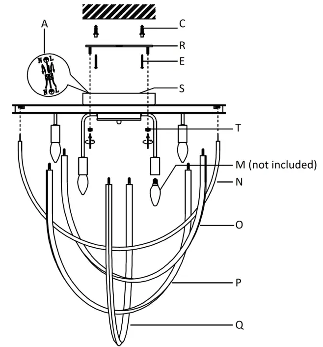
CLOSE TO CEILING INSTALLATION
For close to ceiling installation, some of the components need to be removed from the fitting before installation.
REFER TO PREVIOUS DIAGRAM FOR COMPONENTS - Remove the fitting hook (G), canopy (H), suspension chain (K), and rod (L) from the fitting.
REFER TO DIAGRAM BELOW FOR COMPONENTS - Use the CTC mounting bracket (R) as a template to mark the screw positions on the ceiling.
- Install the CTC mounting bracket (R) onto the ceiling by using appropriately sized mounting screws (E) and anchors (C). Ensure the screws (E) and anchors (C) used are suitable for the mounting surface and surrounding environment.
- Remove the cover from the terminal block (A) and connect the mains supply wire.
Mains Supply Wire Fitting Wire Earth – Yellow/Green Yellow/Green or 
Neutral – Blue or Black Blue or N Live – Brown or Red Brown or L - Ensure the wires are secure and no bare wires are exposed. Install the cover back over terminal block (A).
- Install the fitting onto the CTC mounting bracket (R) and secure it by tightening the decorative nuts (T).
- Install globes (M – not included) into the lamp holders. Do not exceed the maximum wattage rating.
- Install the smallest size glass (N) onto the fitting first, followed by the next size (O) then (P), and the largest size glass (Q) last.
- After the installation, switch on the fitting to test and enjoy your new lighting product.

Safety Tips
- Always ensure the power is OFF and the fitting has cooled down before performing any maintenance, cleaning, changing the globe, or making any adjustment to the fitting.
- To avoid injury or damage to the fitting, ensure that power leads and screws are secure before connecting the power.
- Select a suitable location away from liquids and hazards.
- Ensure that the fitting does not come in contact with corrosive chemicals, etc.
- To clean, wipe with a damp clean cloth. Never soak the fitting with water.
Specifications
| Specifications | ||
| SKU # | 050338 | 050340 |
| Rated Voltage | 220-240V~ 50Hz | |
| Rated Wattage | 360W Max. (8 x Max. 45W) | 540W Max. (12 x Max. 45W) |
| Lamp Holder | SES / E14 | SES / E14 |
| Weight | 14.8kg | 25.3kg |
| Dimensions | H:625mm Dia:635mm Susp:2000mm MAX | H:750mm Dia:800mm Susp:2000mm MAX |
v 1 . 0




















