WASHING, MACHINE
WF91490M
User Manual
WF91490M Front Loading Washing Machines
Product images are for illustrative purposes only and may differ from the actual product.
SAFETY INSTRUCTIONS
Please read the following safety information thoroughly and follow it strictly to minimize the risk of fire or explosion, or electric shock and to prevent property damage, personal injury, or loss of life. Failing to follow these instructions shall void any warranty.
WARNING!
This combination of symbol and signal word indicates a potentially dangerous situation that may result in
death or serious injuries unless it’s avoided.
CAUTION!
This combination of symbol and signal word indicates a potentially dangerous situation that may result in
slight or minor injuries or damage to property and the environment.![]()
This combination of symbol and signal words indicates a potentially dangerous situation that may result in slight or minor injuries.
WARNING!
The electric shock!
- If the supply cord is damaged, it must be replaced by the manufacturer its service agent, or similarly qualified persons in order to avoid a hazard.
- If the machine is damaged, it must not be operated unless repaired by the manufacturer, its service agent, or similarly qualified persons. Risk of electric shock!
- The appliance can be used by children aged 8 years and above and persons with reduced physical, sensory or mental capabilities or lack of experience and knowledge if they have been given supervision or instruction concerning the use of the appliance in a safe way and understand the hazards involved. Children shall not play with the appliance. Cleaning and user maintenance shall not be made by children without supervision.
- Children should be supervised so that they do not play with the appliance.
- Children 3 years and under shall be kept away from the appliance or continuously supervised.
- Animals and children may climb into the machine. Check the machine before every operation.
- Do not climb or sit on the appliance.
Installation location and surrounding
- All washing and additional substances are to be kept in a safe place out of the reach of children.
- Do not install the machine on a carpeted floor. The obstruction of the openings by a carpet can damage the machine.
- Keep the appliance clear from heating sources and direct sunlight to avoid plastic and rubber parts to corrode.
- Do not use the appliance in humid environments or rooms containing explosive or caustic gas. In case of water leakage or water, splashes let the appliance dry in the open air.
- The appliance must not be installed behind a lockable door, a sliding door, or a door with a hinge on the opposite side of that of the washing machine.
- Do not operate the machine in rooms with a temperature of below 5°C. This can cause damage to parts of it. If it is unavoidable, make sure to drain the water completely from the appliance after every use (see „Maintenance – Cleaning of drain pump filter“) to avoid damages caused by frost.
- Never use flammable sprays or substances in the immediate proximity of the appliance.
Installation
- Remove all packaging material and transport bolts before using the appliance. Otherwise, serious damage may result.
- This appliance is equipped with a single inlet valve and can be connected to the cold water supply only.
- The main plug must be accessible after installation.
- Before washing clothes for the first time, the product shall be operated once throughout all the procedures without any clothes inside.
- Before using the washing machine, the product shall be calibrated.
- Do not put any excessively heavy objects on the appliance, like water containers or heating devices.
- The new hose-sets supplied with the appliance are to be used and the old hose-sets should not be reused.
- Max. Inlet water pressure 1 MPa. Min. inlet water pressure 0.05 MPa.
Electrical connection
- Make sure the supply cable is not trapped by the machine, it can get damaged.
- Connect the product to a grounded outlet protected by a fuse complying with the values in the “ Technical specifications“ table. The grounding installation has to be made by a qualified electrician. Ensure that the machine is installed in accordance with local regulations.
- Water and electrical connections must be carried out by a qualified technician in accordance with the manufacturer‘s instructions and local safety regulations.
WARNING!
- Don´t use multiple plugs or extension cords.
- The appliance must not have an external switching device such as a timer or connected to a circuit that is regularly switched on and off.
- Do not pull the plug out of the mains outlet if there is flammable gas around.
- Never pull out the power plug with wet hands.
- Always pull at the plug, not at the cable.
- Always unplug the appliance if it is not being used.
Water connections
- Check the connections of the water inlet tubes, the water tap, and the outlet hose for possible problems due to changes in water pressure. If the connections loosen or leak close the water tap and get it repaired. Do not use the appliance before the pipes and hoses are installed properly by qualified persons.
- The glass door may become very hot during the operation. Keep children and pets far away from the machine while it is operating.
- The water inlet and outlet hoses have to be safely installed and remain undamaged. Otherwise, water leakage can occur.
- Do not remove the drain pump filter while there is still water in the appliance. Big quantities of water can leak out, and there is a risk of scalding due to hot water.
Operation and maintenance
- Never use any flammable, explosive, or toxic solvents. Do not use gasoline and alcohol etc. as detergents. Only select detergents that are suitable for machine washing.
- Make sure that all pockets are emptied. Sharp and rigid items such as coins, brooches, nails, screws, stones, etc. may cause serious damage to this machine.
- Remove all objects from pockets such as lighters and matches before using the appliance.
- Thoroughly rinse items that have been washed by hand.
- Items that have been soiled with substances such as cooking oil, acetone, alcohol, petrol, kerosene, spot removers, turpentine, wax, and wax removers should be washed hot with an extra amount of detergent before being dried in the appliance.
- Items containing foam rubber (latex foam), shower caps, waterproof textiles, rubber-backed articles, and clothes or pillows fitted with foam rubber pads should not be dried in the machine
- Fabric softeners or similar products should be used as recommended in their instructions.
- Never try to open the door forcefully. The door will unlock shortly after the end of a cycle.
- Please do not close the door with excessive force. If it is found difficult to close the door, please check if the clothes are properly inserted and distributed.
- Always unplug the appliance and close the water tap before cleaning and maintenance and after each use.
- Never pour water over the appliance for cleaning purposes. Risk of electric shock!
- Repairs shall only be carried out by the manufacturer, its service agent, or similarly qualified persons in order to avoid a hazard. The producer will not be responsible for damages caused by the intervention of not authorized persons.
Transport
- Before Transport:
– Bolts shall be reinstalled to the machine by a specialized person
– Accumulated water shall be drained out of the machine - This appliance is heavy. Transport with care. Never hold any protruding part of the machine when lifting.
The machine door cannot be used as a handle.
INTEN5DED USE
The product is intended only for home use and for textiles in household amounts suitable for machine washing and drying. This appliance is for indoor use only and is not intended for built-in use. Only use according to these instructions. The appliance is not intended for commercial use. Any other use is considered improper use. The producer is not responsible for any damage or injuries that may result from it.
- This appliance is intended to be used in household and similar applications such as:
– Staff kitchen areas in shops, offices, and other working environments;
– Farm houses;
– By clients in hotels, motels, and other residential type environments;
– Bed and breakfast type environments;
– Areas for communal use in blocks of flats or in launderettes.
Product Description

The product line chart is for reference only, please refer to the real products as standard.
Accessories
Installation area
WARNING!
- Stability is important to prevent the product from wandering! Make sure the machine is standing leveled and stable.
- Make sure that the product does not stand on the power cord.
- Make sure to maintain the minimum distances from the walls as shown in the picture

Before installing the machine, the location characterized as follows shall be selected:
- Rigid, dry, and level surface
- Avoid direct sunlight
- Sufficient ventilation
- The room temperature is above 0°C
- Keep far away from the heat sources such as coal or gas-burning appliances.

Unpacking the washing machine
WARNING!
- Packaging material (e.g. Films, Styrofoam) can be dangerous for children.
- There is a risk of suffocation! Keep all packaging well away from children.
1. Remove the cardboard box and styrofoam packing.
2. Lift the washing machine and remove the base packing. Make sure the small triangle foam is removed with the bottom one together. If not, lay the unit down with the side surface, then remove the small foam from the unit bottom manually.
3. Remove the tape securing the power supply cord and drain hose.
4. Remove the inlet hose from the drum.
Remove transport bolts
WARNING! You must remove the transport bolts from the backside before using the product.
![]() | ![]() | ![]() |
| Loosen the 4 transport bolts with a spanner | Remove the bolts including the rubber parts and keep them for future use. | Close the holes using transport hole plugs |
Leveling the washing machine
WARNING! The lock nuts on all four feet must be screwed tightly against the housing.
- Loosen the lock nut.
- Turn the foot until it reaches the floor.
- Adjust the legs and lock the nuts with a spanner. Make sure the machine is level and steady.
Connect Water Supply Hose
WARNING!
- To prevent leakage or water damage, follow the instructions in this chapter!
- Do not kink, crush, modify or sever the water inlet hose.
Connect the water supply hose to the water inlet valve and a water tap with cold water as indicated. 
Connect manually, do not use tools. Check if the connections are tight.
Drain Hose
WARNING!
- Do not kink or protract the drain hose.
- Position drain hose properly, otherwise damage might result from water leakage.
There are two ways to place the end of the drain hose:
| 1. Put it into the water trough. | 2. Connect it to the branch drain pipe of the trough. |
![]() | ![]() |
OPERATIONS
Quick Start
CAUTION!
- Before washing, please make sure it’s installed properly.
- Your appliance was thoroughly checked before it left the factory. To remove any residual water and neutralize potential odors, it’s recommended to clean your appliance before first use. For this reason, start the Cotton program at 90°C without laundry and detergent.
![]()
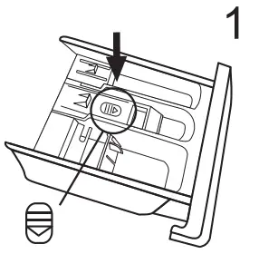
It’s recommended to calibrate the washing machine, so that provides the best performance.
The appliance is able to detect the amount of laundry loaded. This function is optimizing product performance by minimizing energy and water consumption, saving you money and time. For this reason, it’s recommended to calibrate the appliance for best use.
- Remove all accessories from the drum and close the door;
- Insert the mains plug into the socket;
- Switch on the washing machine and press “Delay” and “Temp.” simultaneously for 10 seconds until “t19” is displayed;
- Press
start the appliance and wait till “****” is displayed.
Before Washing
Washing
Detergent needs to be added in compartment I if the pre-wash function is selected.
After Washing
Buzzer beep or “End” on display.
Before Each Washing
- The ambient temperature of the washing machine should be 5-40°C. If used under 0°C, the inlet valve and draining system may be damaged. If the machine is installed under freezing conditions, it should be transferred to normal ambient temperature to ensure the water supply hose and drain hose can unfreeze before use.
- Please check your laundry care labels and the detergent use instructions before wash. Use non-foaming or less-foaming detergent suitable for machine washing properly.

WARNING!
- Do not wash or dry articles that have been cleaned in, washed in, soaked in, or dabbed with combustible or explosive substances like wax, oil, paint, gasoline, alcohol, kerosene, and other flammable materials.
- Washing single clothes items may easily create big eccentricity and cause alarm due to unbalance. Therefore it is suggested to add one or two more laundry items to the wash so that spin can be done smoothly.
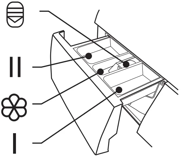
Detergent Dispenser
| Prewash detergent | |
| Main wash detergent | |
| Softener | |
| Release the button to pull out the dispenser |
CAUTION!
Detergent only needs to be added in “compartment I “after selecting the pre-wash function.
| Program | |
| Cotton | |
| Synthetic | |
| Mix | |
| Bed Linen | |
| Baby Care | |
| 20ºC | |
| Drum Clean | |
| Spin Only | |
| Rinse & Spin | |
| Wool | |
| ECO 40-60 | |
| Sterilization | |
| Quick 15’ | |
Detergent Recommendation
| Recommended washing detergent | Wash cycles | Washing temp. | Type of laundry and textile |
| Heavy-duty detergent with bleaching agents and optical brighteners | Cotton, ECO 40-60, Mix,BedLinen | 20/30/40/60 | White laundry made from boil-proof cotton or linen |
| Colour detergent without bleaching agent and optical brighteners | Cotton, Mix, Bed Linen | Cold/20/30/40 | Colored laundry made from cotton or linen |
| Color or mild detergent without optical brighteners | 20ºC, Synthetic | 20 | Colored laundry made from easy care fibres or synthetic materials |
| Mild washing detergent | Synthetic | 20/30 | Delicate textiles, silk, viscose |
| Special wool detergent | Wool | 20/30 | Wool |
Agglomerating or ropy detergent or additive can be diluted in some water before pouring it into the detergent dispenser, to avoid its inlet to get blocked and thus causing a water overflow.- Please choose the suitable type of detergent to get maximum of washing performance and minimum of water and energy consumption
- To achieve the best cleaning result proper detergent dosing is important.
- Use a reduced detergent amount if the drum is not filled completely.
- Always adjust the amount of detergent to the water hardness, if your tap water is soft, use less detergent.
- Dose according to how dirty your laundry is, less dirty clothes require less detergent.
- Highly concentrated (compact detergent) requires particularly accurate dosing.
The following symptoms are a sign of detergent overdosing:
- heavy foam formation
- poor washing and rinsing result The following symptoms are a sign of detergent underdosing:
- laundry turns grey
- built-up of limescale deposits on the drum, the heating element and/or the laundry
Control Panel
- Power
The product is on/off. - Start/Pause
Press the button to start or pause the washing cycle. - This allows you to select an additional function and will light when selected.
- programs
Available according to the laundry type. - Display
the display shows the settings, estimated time remaining, options, and status messages for your washer. The display will remain on through the cycle.
Display

| Wash Time | Delay Time |
| 1.25 | 2h |
| Speed | Error |
| 400 | E30 |
| Speed | Temp. |
| End | 30 |
| B Pre Wash | C Door Lock |
| D Child Lock | E Delay |
| F Speed Wash | G Night Wash |
| H Extra Rinse | I Steam Care |
| J Pre Wash-Wash-Rinse-Spin | |
Programs
| Program | Load(kg) | Default Time |
| Cotton | 9 | 3:39 |
| Synthetic | 4.5 | 3:18 |
| Mix | 9 | 1:20 |
| Bed Linen | 9 | 1:48 |
| Baby Care | 9 | 1:42 |
| 20°C | 4.5 | 1:01 |
| Drum Clean | − | 1:18 |
| Spin Only | 9 | 0:12 |
| Rinse&Spin | 9 | 0:20 |
| Wool | 2 | 1:07 |
| ECO 40-60 | − | 3:48 |
| Sterilization | 4.5 | 2:27 |
| Quick 15’ | 2 | 0:15 |
The parameters in this table are only for the user’s reference. The actual parameters may be different from the parameters in the above-mentioned table.
| Cycle | Nominal capacity in kg | Temperature setting | Cycle duration inh: min | Energy consumption in kWh/cycle | Water consumption in | Highest washing | Residual moisture in |
| 20°C | 4.5 | 20 | 1:01 | 0.189 | 48 | 20 | 65% / 1000 |
| Cotton 60°C | 9 | 60 | 3:44 | 1.734 | 78 | 60 | 53% / 1400 |
| MIX | 9 | 40 | 1:20 | 0.813 | 78 | 40 | 70% / 800 |
| Quick 15’ | 2 | C | 0:15 | 0.03 | 31 | Cold | 70% / 800 |
| Bed Linen | 9 | 40 | 1:48 | 0.862 | 78 | 40 | 65% / 1000 |
| ECO 40-603) | 9 | – | 3:48 | 0.952 | 63.2 | 38 | 53% / 1350 |
| 4.5 | – | 2:54 | 0.662 | 45.5 | 37 | 53% / 1350 | |
| 2.5 | – | 2:54 | 0.221 | 31.4 | 22 | 53% / 1350 |
- The above data is for reference only, and the data may change due to different actual use conditions.
- The valves given for programs other than the ECO 40-60 program are indicative only.
- Concerning to EN 60456:2016+A11:2020 With(EU) 2019/2014, (EU) 2019/2023, (EU) 2021/340, (EU) 2021/341,
The EU energy efficiency class is: B
Energy test program: ECO 40-60. Other as the default.
Half load for 9.0kg machine:4.5kg.
Quarter load for 9.0kg machine:2.5kg.
Programs
Programs are available according to the laundry type.
| Cotton | Hard-wearing textiles, heat-resistant textiles made of cotton or linen. |
| Synthetic | Wash synthetic articles, for example, shirts, coats, and blending.While washing the knitting textiles, the etergent quantity shall be reduced due to its loose string construction and easily forming bubbles. |
| Baby Care | Washing the baby’s clothes, it can make the baby’s wear cleaner and make performance better to protect the baby’s skin. |
| Mix | Mixed load consists of textiles made of cotton and synthetics. |
| Bed Linen | This program is specially designed for washing duvet coats. |
| 20°C | 20°C default, can choose cold water. |
| ECO 40-60 | Default 40°C,not selectable, suitable for laundry washing at |
| Quick 15′ | Extra short program approx, suitable for lightly soiled washing as a small amounts |
| Sterilization | Keep the washing temperature above 60 degrees for more than 30 minutes, effectively |
Wool: Hand or machine-washable wool or Richwood textiles.Especially gentle wash programs to prevent shrinkage, longer program pauses (textiles rest in wash liquor).
Spin Only: Extra spin with selectable spin speed.
Rinse&Spin: Extra rinse with spin
Drum Clean: Specially set in this machine to clean the drum and tube. It applies 90 °C high-temperature sterilization to make the clothes washing green. hen this program is performed, the clothes or other washing cannot be added. When the proper amount of chlorine bleaching agent is put in, the barrel cleaning ffect will be better. The customer can use this program regularly according to the need.
- The highest temperature was reached by the laundry in the wash cycle for at least 5 minutes.
- Residual moisture after the wash cycle in water content percent and the spin speed at which this was achieved.
- The ECO 40-60 program is able to clean normally soiled cotton laundry declared to be washable at 40°C or 60°C, together in the same cycle. This program is used to assess compliance with the regulation.(EU) 2019/2014, (EU) 2019/2023, (EU)2021/340, (EU) 2021/341
The most efficient programs in terms of energy consumption are generally those that perform at lower temperatures and longer duration. Loading the household washer up to the capacity indicated for the respective programs will contribute to energy and water savings. Noise and remaining moisture content are influenced by the spinning speed: the higher the spinning speed in the spinning phase, the higher the noise and the lower the remaining moisture content.
CAUTION: If there is any break in the power supply while the machine is operating, a special memory stores the selected program. The machine will continue the program when the power supply is re-established.
Option
| Cycle | Default | Default spin | Additional Functions |
| Wash cycles | 1400 | ||
| Cotton | 40 | 1400 | |
| Synthetic | 40 | 1200 | |
| Mix | 40 | 800 | |
| Bed Linen | 40 | 1000 | |
| Baby Care | 60 | 1000 | |
| 20°C | 20 | 1000 | |
| Drum Clean | 90 | — | |
| Spin Only | — | 1000 | |
| Rinse&Spin | — | 1000 | |
| Wool | 40 | 600 | |
| ECO 40-60 | — | 800 | |
| Sterilization | 70 | 800 | |
| Quick 15’ | — | 800 |
For the maximum spin speed, program time, and other details of the ECO 40-60 program, please refer to the content on the Product Fiche page.- If an adjustment is not possible for a cycle, the table shows which cycle offers which options for adjustment.
Temp.
When needed, the washing temperature can be adjusted by pressing the temperature button in the following steps: Cold – 20°C – 30°C – 40°C – 60°C – 90°C.
Temp.
When needed, the washing temperature can be adjusted by pressing the temperature button in the following steps: Cold – 20°C – 30°C – 40°C – 60°C – 90°C.
Delay
Set the Delay function:
- Select a program
- Press the Delay button to choose the time(the delaying time is 0-24 H.)
- Press [Start/Pause] to start the delayed operation
![]()
To cancel the Delay function, press the “Delay” button before starting the program until the displayStartshows 0h. If the program has already started, switch the appliance off and afterward on and select a new program.
Pre Wash
Extra washing function before the main washing cycle starts to increase the washing performance.
Note: Detergent needs to be added to compartment I.
Extra Rinse
The laundry will undergo an extra rinse after selecting this function.
Soil Level
The washing time will increase or decrease after you select it.
Speed Wash
The function can decrease the washing time.
My Cycle
To memory the frequently used program.After choosing the program and setting the options, press [Spin] 3 sec. before start to wash.The default setting course is Cotton.
Steam Care
Steam Care function can be selected by choose “Cotto“Mix“”Bed Linen” and “Baby Care”. The customers can see the steam in the drum when operating Steam Care function.
Night Wash
If the selected spin speed is more than 800rpm, then change to 800rpm, meanwhile cancel the button sound.
Child Lock
This function is meant to keep children from misusing the controls.
Press [Spin] and [Function] simultaneously for 3 sec until the buzzer beep. The child lock indicator switches on.
When the Child Lock is activated, the display will alternately show “CL” and the remaining time. Pressing any other button will cause the Child Lock indicator to flash for 3 sec. When the program ends, “CL” and “END” will alternate on the display for 10 sec, then the indicator will flash for 3 sec. The Child Lock deactivates the function of all buttons except the On/Off button and the Child lock button! Only the simultaneous pressing of the two buttons [Spin] and [Function] can deactivate the Child Lock! Please deactivate the Child Lock before selecting a new program!
Mute the buzzer
Choose the Programme
Press the [Temp.] button for 3sec., the buzzer is mute.
To act the buzzer function, press the button again for 3 seconds. The setting will be kept until the next reset.
After Muting the buzzer function, the sounds will not be activated anymore.
Reload
This operation can be executed during the washing progress. When the drum is still rolling and there is a large amount of water at high temperature in the drum. The state is unsafe and the door cannot be opened forcefully. Press [Start/Pause] for 3 sec. to reload, and start the clothes adding in the midway function. Please follow the steps as below:
- Wait until the drum stops rotation.
- The door lock is unlocked.
- Close the door when the clothes are reloaded and press the [ ] button.
Press [
] 3sec.
Reload the clothes
Start
CAUTION! Don’t use the Reload function when the water level over the edge of the inner tub or the temperature is higher.
MAINTENANCES
WARNING! Always unplug the appliance and close the water tap before cleaning and maintenance.
Cleaning The Cabinet
Proper maintenance of the washing machine can extend its working life. The surface can be cleaned with diluted non-abrasive neutral detergents when necessary. If there is any water overflow, use a cloth to wipe it off immediately. Never use sharp items to clean the appliance.
CAUTION! Never use abrasive or caustic agents. formic acids or diluted solvents or similar substances, like alcohol or chemical products.
Cleaning The Drum
Any rust stains left inside the drum by metal articles must be removed immediately using chlorine-free detergents. Never use steel wool for cleaning the drum!
NOTE Keep any laundry away from the machine while cleaning the drum.
Cleaning the Door Seal and Glass

Wipe the glass and seal after each wash to remove lint and stains. If lint builds up it can cause leakages. Remove any coins, buttons and other objects from the seal after each wash. Clean the Door Seal and Glass every month to ensure the normal operation of the appliance.
Cleaning The Inlet Filter
NOTE ! Diminishing water flow is a sign that the filter needs to be cleaned.
- Close the tap and remove the water supply hose from it.
- Clean the filter with a brush.
- Unscrew the water supply hose from the backside of the machine. Pull out the filter with long nose pliers.
- Use a brush to clean the filter.
- Reinstall the filter to the water inlet and reconnect the water supply hose.
- Clean the Inlet filter every 3 months to ensure the normal operation of the appliance.
Clean The Detergent Dispenser
- Press down the release [
] on the softener cover and pull the dispenser drawer out of the recess. Clean the inside of the recess with a brush. - Lift the softener cover off the dispenser drawer and wash both items with water.
- Restore the softener cover and push the drawer back into the recess.
![]() | ![]() | ![]() | ![]() |
| Press the release and remove the dispenser drawer | Clean the dispenser drawer and the softener cover underwater | Clean the recess with Ansoft brush | Insert the dispenser drawer |
NOTE
- Do not use abrasive or caustic agents to clean plastic parts.
- Clean the detergent dispenser every 3 months to ensure the normal operation of the appliance.
Cleaning The Drain Pump Filter
WARNING!
- Make sure that the machine has finished the washing cycle and is empty. Switch it off and unplug it before cleaning the drain pump filter.
- Be careful of hot water. Allow the water to cool down. Risk of scalding!
- Clean the filter periodically every 3 months to ensure the normal operation of the appliance.

CAUTION! When the appliance is in use and depending on the program selected there can be hot water in the pump. Never remove the pump cover during a wash cycle, always wait until the appliance has finished the cycle, and is empty. When replacing the cover, ensure it is securely re-tightened.
Troubleshooting
Whenever there is a problem with the appliance, check if you can solve it by following the tables below. If the problem persists, please contact customer service.
| Description | Possible cause | Solution |
| The appliance does not star | The door is not closed properly | Close the door properly and restart. Check the laundry. |
| The door can’t be opened | Safety protection is | Disconnect the power, restart the product |
| Water leakage | Connections are not tight | Check and fasten the water inlet pipe. Check and clean the outlet hose. |
| Detergent residues in the | Detergent is damp and/or | Clean and wipe the detergent dispenser dry. |
| The indicator or display does | PC board or harness have | Switch off the power and check if the mains the plug is connected properly. |
| Abnormal noise | Fixing bolts is still in place. | Check if the fixing bolts have been removed Make sure the appliance is installed on a solid and level floor. |
Error Codes
| Description | Reason | Solution |
| The door is not closed properly | Close the door properly and restart. | |
| water second pi: Hamm during the wash cycle. | (-heck it’s the water pressures mgrrentsugn. Straighten the water pipe. Clean the inlet valve filter. | |
| Overtime water draining | Check the drain hose for blockage. | |
| Water overflow | Restart the app lance. | |
| Others | Restart the appliance. If the problem persists, please contact the customer service |
Customer service
Spare parts for your appliance is available for a minimum of 10 years. In case of questions please contact our customer service at:
WARNING
Risk of electric shock
- Never try repair an appliance that is defective of presumed to be defective. You may put your own and future users’ lives in danger.Only authorized specialists are allowed to carry out this repair work.
- The improper repair will void the warranty and subsequent damages can’t be recognized!
Transport
IMPORTANT STEPS WHEN MOVING THE APPLIANCE
- Unplug the appliance and close the water inlet tap.
- Check, if the door and the detergent dispenser are closed properly.
- Remove the water inlet pipe and the outlet hose from the house installations.
- Let the water drain completely from the appliance (see “Maintenance Cleaning the drain pump filter”)
- Important: Re-install the 4 transport bolts in the back of the appliance.
- This appliance is heavy. Transport with care. Never hold any protruding part of the machine when lifting. The machine door cannot be used as a handle.
Technical Specifications

| MAX. Current | 10A |
| Standard Water Pressure | 0.05MPa~1MPa |
| Power Supply | 220-240V~,50Hz |
| Washing Capacity | 9.0kg |
| Dimension (WxDxH) | 595x565x850 |
| Weight | 71kg |
| Rated Power | 2000W |
Packaging/Old appliance
This marking indicates that this product should not be disposed of with other household wastes throughout the EU.To prevent possible harm to the environment or human health from uncontrolled waste disposal, recycle it responsibly to promote the sustainable reuse of material resources.To return your used device, please use the collection systems or contact the retailer where the product was purchased. They return and can take this product for environmentally safe recycling.
Product information sheet
COMMISSION DELEGATED REGULATION (EU) 2019/2014 with regard to energy labeling of household washing machines and household washer-dryers
Supplier’s name or trademark: Tesla
Supplier’s address: Tesla Electronics, Litijska 47, 1000 Ljubljana, SI
Model identifier: WF91490M
General product parameters:
| !parameter | Value | Parameter | Value | ||
| Rated capacity (a) (kg) | 9,0 | Dimensions in cm | Height | 850 | |
| Width | 600 | ||||
| Depth | 570 | ||||
| Energy Efficiency index (a) EEL | 59,9 | Energy efficiency class(*) | B | ||
| dashing efficiency index (a) | 1,031 | Rinsing effectiveness (g/kg) (a) | 5,0 | ||
| Energy consumption in kWh per cycle, based on : the eco 40-60 program at a combination of full and Dartial loads. Actual energy: consumption will depend on 3n how the appliance is _med. | 570 | Water consumption in liter per cycle, based on the eco 40-60 program at a combination of full and partial loads. Actual water consumption will depend on how the appliance is used and on the hardness of the theater. | 50 | ||
| The maximum temperature inside the treated textile °) (°C) | Rated capacity | 38 | Weighted remaining moisture content (a) (%) | 53,9 | |
| Half | 37 | ||||
| Quarter | 22 | ||||
| Spin speed (a) (rpm)1 | Rated capacity | 1350 | Spin-drying efficiency class (a) | B | |
| Half | 1350 | ||||
| Quarter | 1350 | ||||
| Ir Programme duration (a) (h:min) | Rated capacity | 3:48 | Type | free-standing |
| Half | 2:54 | |||
| Quarter | 2:54 | |||
| Airborne acoustical noise emissions in the spinning phase (a) (dB(A) re 1 pW) | 76 | Airborne acoustical noise emission class (a) (spinning phase) | B | |
| Off-mode (W)(if applicable) | 0.50 | Standby mode (W) (if applicable) | 1,00 | |
| Delay start (W) (if applicable) | 4,00 | Networked standby (W) (if applicable) | N/A | |
| Minimum duration of the guarantee offered by the supplier 24 months | ||||
| This product has been designed to release silver ions during the washing cycle | NO | |||
Additional information:
Weblink to the supplier’s website, where the information in point 9 of Annex II to Commission Regulation(EU) 2019/2023 is found: tesla.info(a) for the eco 40-60 program.
Link to the EU EPREL database
The QR code on the energy label supplied with the appliance provides a web link to the registration of this appliance in the EU EPREL database.
Keep the energy label for reference together with the user manual and all other documents provided with this appliance.
It is possible to find information related to the performance of the product in the EU EPREL database using the link https://eprel.ec.europa.eu and the model name and product number that you can find on the rating plate of the appliance. For more detailed information about the energy label, visit www.theenergylabel.eu.
![]() | ![]() |
tesla.info





Connect the water supply hose to the water inlet valve and a water tap with cold water as indicated. 
















![Whirlpool Front Load Washing Machine [w11355369a, W11355370a-sp] User Manual Whirlpool Front Load Washing Machine [w11355369a, W11355370a-sp] User Manual](https://static-data1.manualsee.com/1/img/345/18042/2020/12/Whirlpool-Front-Load-Washing-Machine-W11355369A-W11355370A-SP.jpg)








