Midea 360471 Front Loading Washing Machine User Manual
SAFETY INSTRUCTIONS
For your safety,the information in this manual must be followed to minimize the risk of fire or explosion, electric shock, or to prevent property damage, personal injury or loss of life. Explanation of the symbols:
Warning!
This combination of symbol and signal word indicates a potentially dangerous situation which may result in death or serious injuries unless it’s avoided.
Caution!
This combination of symbol and signal word indicates a potentially dangerous situation which may result in slight or minor injuries or damage to property and the environment.
Note!
This combination of symbol and signal word indicates a potentially dangerous situation which may result in slight or minor injuries.
Warning!
The electric shock!
- If the supply cord is damaged, it must be replaced by the manufacturer, its service agent or similarly qualified persons in order to avoid a hazard.
- The new hose-sets supplied with the appliance are to be used and that old hose-sets should not be reused.
- Before any maintenance the device, unplug the appliance from the mains.
- Always unplug the machine and turn off the water supply after use. The max. inlet water pressure, in pascals. The min. inlet water pressure, in pascals.
- To ensure your safety, power plug must be inserted into an earthed three-pole socket. Check carefully and make sure that your socket is properly and reliably earthed.
- Make sure that the water and electrical devices must be connected by a qualified technician in accordance with the manufacturer’s instructions and local safety regulations.
Risk to children!
- This appliance is not intended for use by persons (including children) with reduced physical, sensory or mental capabilities or lack of experience and knowledge unless they have been given supervision or instruction concerning use of the appliance by a person responsible for their safety.
- Children of less than 3years should be supervised to ensure that they do not play with appliance.
- Animals and children may climb into the machine. Check the machine before every operation.
- Kids should be supervised that they do not play with the appliance.
SAFETY INSTRUCTIONS
- Glass door may be very hot during the operation. Keep kids and pets far away from the machine during the operation very wet rooms as well as in the rooms with explosive or caustic gas.
- Remove all packages and transport bolts before using the appliance. Otherwise, serious damage may result.
- Plug must be accessible after installation.
Risk of explosion!
- Do notwash or dry articlesthat have been cleaned in,washed in, soaked in, or dabbed with combustible or explosive substances( such as wax, oil, paint, gasoline, degreasers, dry-cleaning solvents, kerosene, etc.) This may result in fire or explosion.
- Before hand thoroughly rinse items of washing by hand.
Caution!
Installing the product!
- This washing machine is for indoor use only.
- It isn’t intended to be built-in using.
- The openings must not be obstructed by a carpet.
- Washing machine shall not be installed in bath room or very wet rooms as well as in the rooms with explosive or caustic gases.
- The washing machine with single inlet valve only can be connected to the cold water supply. The product with double inlet valves should be correctly connected to the hot water and cold water supply.
- Plug must be accessible after installation.
- Remove all packages and transport bolts before using the appliance. Otherwise, serious damage may result.
Risk of damaging appliance! - Your product is only for home use and is only designed for the textiles suitable for machine washing.
- Do not climb up and sit on top cover of the machine.
- Do not lean against machine door.
- Cautions during Handling Machine:
- Transport bolts shall be reinstalled to the machine by a specialized person.
- The accumulated water shall be drained out of the machine.
- Handle the machine carefully. Never hold each protruded part on the machine while lifting. Machine door can not be used as the handle during the conveyance.
- This appliance is heavy. Transport with care.
- Please do not close the door with excessive forces. If it is found difficult to close the door, please check if the clothes are put in or distributed well.
- It is forbidden to wash carpets.
Operating the appliance!
- Before washing the clothes at first time, the product shall be operated in one round of the whole procedures without the clothes inside.
- Flammable and explosive or toxic solvents are forbidden. Gasoline and alcohol etc.Shall not be used as detergents. Please only select the detergents suitable for machine washing, especially for drum.
- Make sure that all pockets are emptied. Sharp and rigid items such as coin,brooch,nail,screw or stone etc. may cause serious damages to this machine.
- Please check whether the water inside the drum has been drained before opening its door.Please do not open the door if there is any water visible.
- Be careful of burning when the product drains hot washing water.
- Never refill the water by hand during washing.
- After the program is completed, Please wait for two minutes to open the door.
Packaging/Old appliance
This marking indicates that this product should not be disposed with other household wastes throughout the EU.To prevent possible harm to the environment or human health from uncontrolled waste disposal,recycle it responsibly to promote the sustainable reuse of material resources.To return your used device, please use the collection systems or contact the retailer where the product was purchased. They return and can take this product for environmental safe recycling.
INSTALLATION
Product Description

Note!
- The product line chart is for reference only, please refer to real product as standard.
Accessories
Installation
Installation area
Warning!
- Stability is important to prevent the product from wandering!
- Make sure that the product should not stand on the power cord.

Before installing the machine, the location characterized follows shall be selected:
- Rigid, dry, and level surface
- Avoid direct sunlight
- Sufficient ventilation
- Room temperature is above 0℃
- Keep far away from the heat resources such ascoal or gas.

Unpacking the washing machine
Warning!
- Packaging material (e.g. Films, Styrofoam) can be dangerous for children.
- There is a risk of suffocation ! Keep all packaging well away from children.
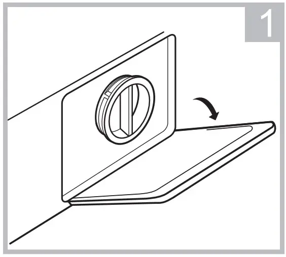
- Remove the cardboard box and styrofoam packing.
- Lift the washing machine and remove the base packing. Make sure the small triangle foam is removed with the bottom one together. If not, lay the unit down with side surface, then remove the small foam from the unit bottom manually.
- Remove the tape securing the power supply cord and drain hose.
- Remove the inlet hose from the drum.

Remove transport bolts
Warning!
- You must remove the transport boltsfrom the backside before using the product.
- Loosen the 4 transport bolts with a spanner.

- Remove the bolts including the rubber parts and keep them for future use.

- Close the holes using the cover caps.

Levelling the washing machine
Warning!
- The lock nuts on all four feet must be screwed tightly against the housing.
- Loosen the lock nut.
- Turn the foot until it reaches the floor.
- Adjust the legs and lock the nuts with a spanner. Make sure the machine is level and steady.

Connect the water supply hose
Warning!
To prevent leakage or water damage, follow the instructions in this chapter
- Do not kink, crush or modify water inlet hose.

- Connect the water supply hose to the water inlet valve and a water tap with cold water as indicated.

Note!
- Connect manually, do not use tools. Check if the connections are tight.
Drain Hose
Warning!
- Do not kink or protract the drain hose.
- Position drain hose properly ,otherwise damage might result of water leakage.
There are two ways to place the end of drain hose:
- Put it into the water trough.

- Connect it to the branch drain pipe of the trough.

Acoustic Sponge
Note!
- Please make sure to assemble the acoustic sponges, which can effectively reduce the noise caused by the machine while working, in order to provide you with a more peaceful and quiet living environment.
- Get the machine laid on the floor, using some soft material like foam or clothes between the machine and floor for a protection;
- Stick the 2x longer sponges to the longer bottom edges of machine, and the 2x shorter sponges to the shorter bottom edges.

OPERATION
Quick Start
Caution!
- Before washing, please make sure the washer is installed properly.
- Your appliance was thoroughly checked before it left the factory. To remove any residual water and to neutralize potential odors, it’s recommended to clean your appliance before first use. For this reason, start the Cotton program at 90°C without laundry and detergent.
Calibration
It’s recommended to calibrate the washing machine, so that provide the best performance. The appliance is able to detect the amount of laundry loaded. This function is optimizing the product performance by minimizing energy and water consumption, saving you money and time. For this reason it’s recommended to calibrate the appliance for best use.
- Remove all accessories from the drum and close the door;
- Insert the mains plug to the socket;
- Switch on the washing machine, and within10 seconds, press “Delay” and “Temp.” simultaneously and continuously (normally 3 seconds) until “t19” is displayed on the knob.
- Press
to start the appliance, initially“—” is displayed, and then “***” (such as “126”)is displayed to indicate the real time drum speed.When the number reaches a certain value (stop changing),it means the washing machine is successfully calibrated.
OPERATIONS
- Before Washing
- Plug in

- Open tap

- Load

- Close door

- Add detergent

Note!
Detergent need to be added in compartment I if the pre-wash function is selected.
- Plug in
- Washing
- Select programme
- Select function or remain default settings
- Press Start/Pause to start the program

- After Washing
Buzzer beep and “End” on display.
Before Each Washing
- The working condition of the washer should be(0-40)°C.If used under 0°C,the inlet valve and draining system may be damaged. If the machine is placed under condition of 0°C or less, then it should be transferred to normal ambient temperature to ensure the water supply hose and drain hose are not frozen before use.
- Please check the labels and the explanation of using detergent before wash. Use non-foaming or less-foaming detergent suitable for machine washing properly.
- Check the label

- Take out the items out of the pockets

- Knot the long strips,zip or button

- Put small clothes into the pillow slip

- Turn easy-pilling and long-pile fabric inside out

- Separate clothes with different textures

Warning!
- When washing a single clothes, it may easily cause great eccentricity and give alarm due to great unbalance. Therefore it is suggested to add one or two more clothes to be washed together so that draining can be done smoothly.
- Don’t washing the clothes touching with kerosene, gasoline, alcohol and other flammable materials.
Detergent Dispenser
I Pre wash detergent
II Main wash detergent
Softener
Pull out the dispenser
Caution !
Detergent only need to be added in “case I “after selecting pre-washing for machines with this function.
Note!
- As for the agglomerated or ropy detergent or additive, before they are poured the detergent box, it is suggested to use some water for dilution to prevent inlet of detergent box from being blocked and overflowing while filling water.
- Please choose suitable type of detergent for the various washing temperature to get the best washing performance with less water and energy consumption.
Control Panel

- OFF
Turn the appliance on and off. - Start/Pause
Start or pause your programme. - Option
This allows you to select additional functions and will light when selected. - Programmes
Available according to the laundry type. - Display
The display shows settings, estimated remaining time, options and status messages. - Drum Clean
Specially set in this machine to clean the drum and tube.
Option
Delay
Set the Delay function:
- Select a programme;
- Press the Delay button to choose the time(the delaying time is 0-24 H.);
- Press [Start/Pause] to commence the delay operation
- Choose the Programme

- Setting time

- Star

Cancel the Delay function:
Press the [Delay] button before starting the programme. If the programme already started, should switch off programme to reset a new one.
Caution!
- If there is any break in the power supply while the machine is operating, a special memory stores the selected programme and when the power is restarted, the program will continue.
Pre Wash
The Prewash function can get an extra wash before main wash,it is suitable for washing the dust rises to surface of the clothes;You need to put detergent into the Case (I) when select it.
Extra Rinse
The laundry will undergo extra rinse once after you select it.
Drum Clean
After the machine runs to the set counting period(counting cycle is 25 times), Drum Clean lamp flashes at the end of the last program, reminding the user to run the program;
Release condition:
- Press and hold the Drum Clean button for 3s, Drum Clean reminder will be canceled and washing cycles will be recounted for another 25 cycles.
- The counted cycles will be recounted when drum clean program is finished.
Reload
This operation can be executed during the washing progress. When the drum is still rolling and there is large amount of water with high temperature in the drum. The state is unsafe and the door cannot be opened forcefully. To press [Start/Pause] for 3 sec. to reload, and start the clothes adding in the midway function. Please follow the steps as bellow:
- Wait until the drum stops rotation.
- The door lock is unlocked.
- Close the door when the clothes are reloaded and press the [Start/Pause] button.
- Press[Start/Pause]3sec.

- Reload the clothes

- Start

Child Lock
To avoid mis operation by children.
Press [Temp.] and [Funtion] simultaneously for 3 sec until the buzzer beep. The child lock indicator switches on.
Caution!
When the Child Lock is activated, the display will alternately show “CL” and the remaining time.
Pressing any other button will cause the Child Lock indicator to flash for 3 sec. When the program ends, “CL” and “END” will alternate on the display for 10 sec, then the indicator will flash for 3 sec.
The Child Lock deactivates the function of all buttons except the Child lock button! Only the simultaneous pressing of the two buttons [Temp.] and [Function] can deactivate the Child Lock!
Please deactivate the Child Lock before selecting a new program!
Mute the buzzer
- Choose the Programme

- Press the [Spin]button for 3sec., the buzzer is mute.

To act the buzzer function, press the button again for 3 seconds. The setting will be kept until the next reset.
Caution!
- After Muting the buzzer function, the sounds will not be activated any more.
Other Functions
Temp.
Press the button to regulate the temperature(Cold,20℃,40℃,60℃,90℃)
Spin
Press the button to change the speed.
1400: 0-400-600-800-1000-1200-1400
| Programme | Default Speed(rpm) | Programme | Default Speed(rpm) |
| 1400 | 1400 | ||
| Steam Wash | 1000 | Rinse & Spin | 1000 |
| Cotton | 1000 | Bulky | 1000 |
| Synthetic | 1000 | Baby Care | 1000 |
| Mix | 1000 | Wool | 600 |
| Jeans | 800 | Sport Wear | 800 |
| ECO Wash | 1000 | Rapid 45′ | 800 |
| 20℃ | 1000 | Quick 15′ | 800 |
| Spin Only | 1000 |
| Programmes | |
| Cotton | Hard-wearing textiles, heat-resistant textiles made ofcotton or linen. |
| Synthetic | Wash synthetic articles, for example: shirts, coats, blending. While washing the knitting textiles, detergent quantity shall be reduced due to its loose string construction and easily forming bubbles. |
| Baby Care | Washing the baby’s clothes, it can make the baby’s wear cleaner and make the rinse performance better to protect the baby skin. |
| Rapid 45′ | Washing few and not very dirty clothes quickly. |
| Mix | Mixed load consisting of textiles made of cotton and synthetics |
| Jeans | Specially for jeans. |
| 20℃ | Washing brightly colored clothes, it can protect the colors better . |
| Quick 15′ | Extra short programme approx, suitable for lightly soiled washing as a small amounts of laundry. |
| Wool | Hand or machine-washable wool or richwool textiles.Especially gentle wash programme to prevent shrinkage, longer programme pauses (textiles rest in wash liquor). |
| Spin Only | Extra spin with selectable spin speed. |
| Sport Wear | Washing the activewear |
| Bulky | This program is specially designed for washing Bulky |
| Steam Wash | The Steam Wash can deeply penetrate the fiber,which effectively eliminate bacterias and germs, preventing odors and protecting health. |
| ECO Wash | Default 20℃,selectable,suitabale for laundry washing at about 20℃-60℃. |
| Drum Clean | Specially set in this machine to clean the drum and tube. It applys 90 °C high temperature sterilization to make the clothes washing more green.When this programme is performed, the clothes or other washing cannot be added. When proper amount of chlorine bleaching agent is put in, the barrel cleaning effect will be better. The customer can use this programme regularly according to the need. |
Note!
- Reference to your product to select the programmes.
Washing Programmes Table
| Programme | Load(kg) | Temp.(°C) | Default Time |
| 7.0 | Default | 7.0 | |
| Quick 15’ | 2.0 | Cold | 0:15 |
| Rapid 45′ | 2.0 | 20 | 0:45 |
| Sport Wear | 3.5 | 20 | 0:47 |
| Wool | 2.0 | 40 | 1:07 |
| Baby Care | 7.0 | 60 | 2:01 |
| Bulky | 7.0 | 40 | 1:48 |
| Rinse & Spin | 7.0 | – | 0:20 |
| Spin Only | 7.0 | – | 0:12 |
| 20℃ | 3.5 | 20 | 1:01 |
| ECO Wash | 7.0 | 20 | 0:59 |
| Jeans | 7.0 | 40 | 1:40 |
| Mix | 7.0 | 40 | 0:58 |
| Synthetic | 3.5 | 40 | 1:25 |
| Cotton | 7.0 | 40 | 1:28 |
| Steam Wash | 3.5 | 40 | 1:26 |
- Energy test program: ECO Wash.
Speed: the highest speed; Temp. : 60 ,Other as the default.Half load for 7.0Kg machine:3.5Kg. - “ECO Wash ” is the standard washing programs to which the information in the label and the fiche relates, and they are suitable to clean normally soiled cotton laundry and that they are the most efficient programmes in terms of combined energy and water consumptions for washing that type of cotton laundry,that the actual watertemperature may differ from the declared cycle temperature.
Note!
The parameters in this table are only for user’s reference. The actual parameters maybe different with the parameters in above mentioned table.
MAINTENANCES
Cleaning And Care
Warning!
- Before your maintenance starts, please unplug the machine and close the tap.
Cleaning The Cabinet
Proper maintenance on the washing machine can extend its working life. The surface can be cleaned with diluted non-abrasive neutral detergents when necessary. If there is any water overflow, use the wet cloth to wipe it off immediately. No sharp items are allowed.
Note!
- Formic acid and its diluted solvents or equivalent are forbidden, such as alcohol, solvents or chemical products,etc.
Cleaning The Drum
The rusts left inside the drum by the metal articles shall be removed immediately with chlorine-free detergents. Never use steel wool.
Note!
- Don’t put laundry in the washing machine during the drum cleaning.
Cleaning The Door Seal And Glass
Wipe the glass and seal after each wash to remove lint and stains. If lint builds up it can cause leaks. Remove any coins, buttons and other objects from the seal after each wash.
Cleaning The Inlet Filter
Note!
- Inlet filter must be cleaned if there is less water.
Washing the filter in the tap
- Close the tap.
- Remove the water supply hose from the tap.
- clean the filter.
- Reconnect the water supply hose.

Washing the filter in washing machine:
- Screw off the inlet pipe from the backside of the machine.
- Pull out the filter with long nose pliers and reinstall it back after being washed.
- Use the brush to clean the filter
- Reconnect the inlet pipe.
Note!
- If the brush is not clean, you can pull out the filter washed separately;
- Reconnect, turn on the tap.
Clean The Detergent Dispenser
- Press down the arrow location on softener cover inside the dispenser drawer.
- Lift the clip up and take out softener cover and wash all grooves with water.
- Restore the softener cover and push the drawer into position.
- Pull out the dispenser drawer with press the A

- Clean the dispenser drawer under water

- Clean inside the recess with an old toothbrush

- Insert the dispenser drawer

Note!
- Do not use alcohol,solvents or chemical products to clean the machine.
Cleaning the Drain Pump Filter
Warning!
- Make sure that the machine has finished the washing cycle and is empty. Switch it off and unplug it before cleaning the drain pump filter.
- Be careful of hot water. Allow the water to cool down. Risk of scalding!
- Clean the filter periodically every 3 months to ensure the normal operation of the appliance.
- Open the lower cover cap

- Open the filter by turning to the counter clockwise

- Remove extraneous matter

- Close the lower cover cap

Caution!
When the appliance is in use and depending on the programme selected there can be hot water in the pump. Never remove the pump cover during a wash cycle, always wait until the appliance has finished the cycle, and is empty. When replacing the cover, ensure it is securely re-tightened.
Trouble Shooting
The start of the appliance does not work or it stops during operation. First try to find a solution to the problem, If not, contact the service centre.
| Description | Reason | Solution |
| Washing machine cannot start up | Door is not closed properly | Restart after the door is closed Check if the clothes is stuck |
| Door can’t be opened | Washer’s safety protection design is working | Disconnect the power, restart the product |
| Water leakage | The connection between inlet pipe or outlet hose is not tight | Check and fasten water pipes Clean up outlet hose |
| Detergent residues in the box | Detergent is dampened or agglomerated | Clean and wipe the detergent box |
| Indicator or display does not light | Disconnect the power PC board or harness has connection problem | Check if the power is shut down and the power plug is connected correctly |
| Abnormal noise | Check if the fixing (bolts) have been removed Check it’s installed on a solid and level floor | |
| Description | Reason | Solution |
| Door is not closed properly | Restart after the door is closed Check if the clothes is stuck | |
| Water injecting problem while washing | Check if the water pressure is too low Straighten the water pipe Check if the inlet valve filter is blocked | |
| Overtime water draining | Check if the drain hose is blocked | |
| Water overflow | Restart the washer | |
| Others | Please try again first, call up service line if there are still troubles |
Note!
After the check, activate the appliance. If the problem occurs or the display shows other alarm codes again, contact the service.
Technical Specifications
- Power Supply: 220-240V~,50Hz
- MAX.Current: 10A
- StandardWater Pressure: 0.05MPa~1MPa

| Model | Washing Capacity | Dimension (W*D*Hmm) | Net Weight | Rated Power |
| 360471 MFN70-JS1409B/D03E-AU | 7.0kg | 595*565*850 | 68kg | 2000W |
Testing methods
Model:360471 MFN70-JS1409B/D03E-AU
ADDITIONAL INFORMATION FOR Standard performance TESTING:(AS/NZS 2040.1:2005+ Amdt1-2007+Amdt2-2009)
- Water connections: Cold & hot water connection
- Water supply pressure: 320 kPa
- Warm wash Program: ECO Wash 1400RPM,60℃ Display:5:34 Cold wash program: Cotton Cold( no temperature display is cold wash)
- Detergent type: Drum detergent
- Detergent quantity: Default
- Adding detergent:
The detergent is dissolved and added as Paragraph B7.3 of AS/NZS 2040.1 The detergent shall be dissolved in 1 L of water - Anti-sudsing agent: Max
- Test load mass: 7.0kg
- Water consumption: 72L
- Test Voltage: 220-240V~,50Hz




























































