TDC USA INC 22502 3 Piece Wicker Bar Set

WARNING!
- Keep all children and pets away from assembly area. Children and pets should be supervised when they are in the area of the product construction.
- Some parts may contain sharp edges. When assembling and using this product, basic safety precautions should always be.
- Please read all the instructions and warnings before assembling. In order to make the whole product adjust to the best, please install all the screws on the product and tighten all the screws after adjusting the product which can stand on the floor even. Not intended for commercial use.
- Check all bolts for tightness before use.
- IMPORTANT – check and tighten bolts often to keep them secure
Parts List

Chair Instructions (x2)

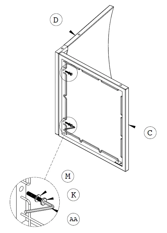
Step 1:
Place Chair Seat (C) and Chair Back (D) on the ground as illustrated here. Insert two Bolts M6x35 (K) with Washers (M) through the eyelets found underneath Chair Seat (C), and into the bolt-threading found on the horizontal bar at the bottom of Chair Back (D). Do not tighten bolts all the way until all parts have been assembled.
Step 2:
Place Armrest (A) on the ground and place the previously assembled parts over this part as illustrated here. Insert one Bolt M6x35 (K) with Washer (M) through the eyelet found at the back of Armrest (A), and into the bolt-threading found on the left-side of Chair Back (D). Insert one Bolt M6x60 (L) with Washer (M) through the eyelet found underneath the front-left of Chair Seat (C), and into the bolt-threading found on the side of the front leg of Armrest (A). Insert one M6x35 Bolt (K) with Washer (M) through the eyelet found at the bottom-left of Chair Back (D), and into the bolt-threading found on the back leg of Armrest (A).

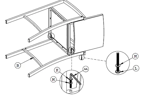
Step 3:
Place Armrest (B) on the ground, and place previously assembled parts on top as illustrated here. Insert one Bolt M6x60 (L) with Washer (M) through the eyelet found at the back of Armrest (B), and into the bolt-threading found on the right-side of Chair Back (D). Insert one Bolt M6x35 (K) with Washer (M) through the eyelet found underneath the front-right of Chair Seat (C), and into the bolt-threading found on the side of the front leg of Armrest (B). Insert one M6x35 Bolt (K) with Washer (M) through the eyelet found at the bottom-right of Chair Back (D), and into the bolt-threading found on the back leg of Armrest (B).

Step 4:
Place Chair Support (E) in between the front legs of Armrests (A & B). Insert two Bolts M6x15 (J) with Washers (M) through eyelets at either end Chair Support (E), and into the bolt-threading found on the inside of legs of Armrests (A & B). Tighten all bolts left loose throughout assembly process using Hex Key (AA). Follow these steps to assemble the second chair for this set.

Step 5:
Place Cushions (N) on top of Chair Seats (C) when assembly of both chairs is complete.
Table Instructions
Step 1:
Cut the straps that secure the glass to the table and carefully remove the Glass (I) and set it aside. Place Table (G) upside-down on a soft, non-abrasive surface. Place Table Leg (F) at the corner of Table (G) where there are bolt-threading intended for bolts to be inserted into. Insert Bolt M6x15 (J) with Washer (M) through the eyelet at the top of Leg (F) and into the bolt-threading on the bottom of Table (G). Do not tighten bolts all the way until all parts have been assembled. Follow this step to assemble the remaining Table Legs (F) to each corner of Table (G).

Step 2:
Place the Table Support (H) in between the Table Legs (F). Insert one Bolt M6x20 (O) with Washer (M) through each eyelet at each corner of Table Support (H) and into the bolt-threading found at the center-inside of each Table Leg (F). Tighten all bolts left loose throughout assembly process using Hex Key (AA).


Step 3:
Turn the table right-side up. Carefully place Glass (I) on top of Table (G). The table is ready to be used.
LIMITED WARRANTY
Please contact our service hotline by phone, email, or fax when needing assistance with assembly or with faulty parts. This allows us to provide support in the event of possible operator errors. All furniture manufactured and sold by TDC USA, Inc. is warranted to the original purchaser against defects in workmanship and materials. If a product manufactured by TDC fails during the first year from date of purchase under the terms of our limited warranty, TDC will replace the item at no charge. After one year, it will be the original purchases’ responsibility to pay for freight and packing. TDC reserves the right, in the case of discontinued or out of production models, to replace with an item of similar quality. (Glass breakage is not warranted.)
NOTE: You must retain original receipt to obtain warranty!
FRAMES:
Frames are warranted against defects in materials and workmanship from the date of original purchase. Damage to frames or welds due to commercial use, improper assembly, exposure to water and sub-freezing temperatures, and/or abuse are not covered.
FABRIC:
Fabric on cushions, slings, and umbrellas is warranted against separation at the seams. Fading, mildew, and/or discoloration due to exposure to elements, chemicals, and spills are not covered.
POWDER COAT AND/OR PAINT:
The finish is warranted against blistering, peeling, or cracking. Fading resulting from exposure to the elements, chemicals, and spills are not covered. Scratches and chips due to normal wear and use are not covered.
FREIGHT & PACKING:
TDC will be responsible for shipping, handling, and packaging charges for all valid warranty claims.
CARE & MAINTENANCE:
Be careful to never allow water build up in fames as this will cause corrosion and freeze damage in cold climates. Wash all frames with a solution of mild soap and water. Rinse will clean water and dry with a soft absorbent cloth towel. Frames can be treated with a liquid wax for maximum protection against UV rays and/or salty damp air. If your set includes cushions, slings, and/or an umbrella, they may be cleaned be hand with a solution of soap and water with a clean water rinse.
LIMITED WARRANTY EXCLUSIONS:
- Damage caused by acts of nature
- Wind damage
- Failure caused by unreasonable, unanticipated, or abusive use
- Failure caused by a lack of reasonable and necessary care and maintenance
- Normal fade of fabrics, upholstery, or woven materials
- Glass table tops
- Bursting or cracking of tubing due to exposure to water and freezing temperatures
- Changes in wood color due to the natural aging of the wood
A sales receipt must be provided to validate 1-Year Limited Warranty.
Customer Service:
Monday – Friday • 9:00 am – 5:00 pm
Phone: 800-599-8898
Email: [email protected]
TDC USA, Inc. 5 Industrial Rd, STE 1 Fairfield, NJ 07004-3017



















