POLIBI WF198242 DINING TABLE Instruction Manual
If you have any questions about the product, please contact the email: [email protected]
IMPORTANT NOTE
- PLACE ALL PARTS ON A CLEAN AND SMOOTH SURFACE SUCH AS A RUG OR CARPET TO AVOID THE PARTS FROM BEING SCRATCHED.
- BEFORE YOU BEGIN, KINDLY FOLLOW THE ASSEMBLY INSTRUCTIONS STEP BY STEP.
- DO NOT TIGHTEN ALL SCREWS AND BOLTS UNTIL THE TABLE IS FULLY SET-UP.
PART LIST
| CARTONS ONLY ONE/ CARTONS SEULEMENT UN | |||||||
| PART LISTS | HARDWARE LISTS | ||||||
| NO. | DESCRIPTION | SKETCH | CM | NO. | DESCRIPTION | SKETCH | Q’TY |
| 1 | TABLE TOP | ![]() | 1 PC | A | BOLT” | ![]() | 4 PCS |
| 2 | OUTSIDE LEGS | ![]() | 2 PCS | B | BOLT 01/4″x45mmL | ![]() | 2 PCS |
| 3 | INSIDE LEGS | ![]() | 2 PCS | C – | BOLT 05/16″x3OmmL | ![]() | 10 PCS |
| 4 | TOP LEG | ![]() | 2 PCS | D | SPRING WASHER 05/16″ x 13mmL | ![]() | 14 PCS |
| 5 | STRETCHER | ![]() | 1 PC | E | FLAT WASHER 05/16″ x 19mmL | ![]() | 14 PCS |
| 6 | DECOR FOR LEGS | ![]() | 2 PCS | F | ALLEN KEY M4 | ![]() | 1 PC |
ASSEMBLY INSTRUCTIONS
- STEP 1:

- STEP 2:

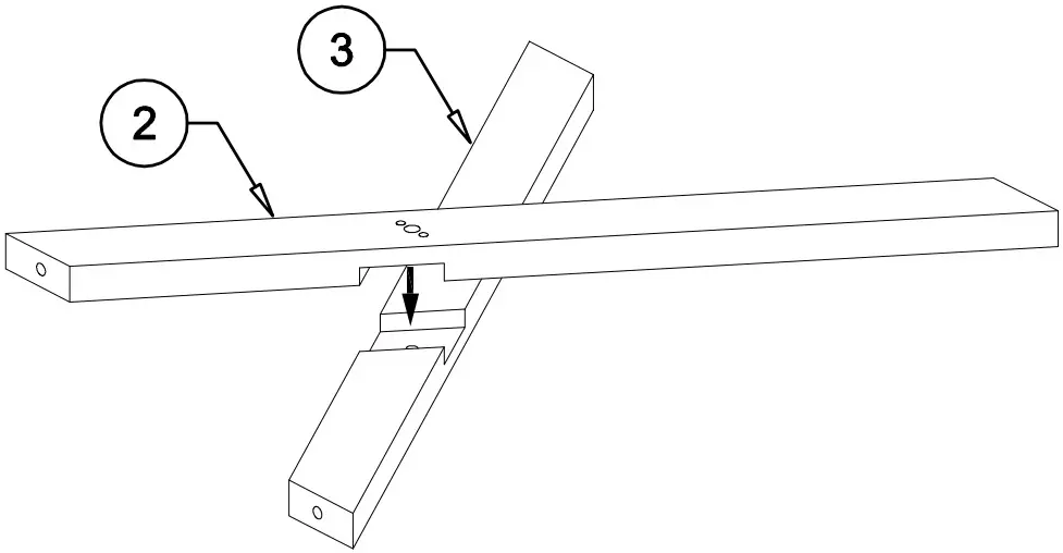
- STEP 3:

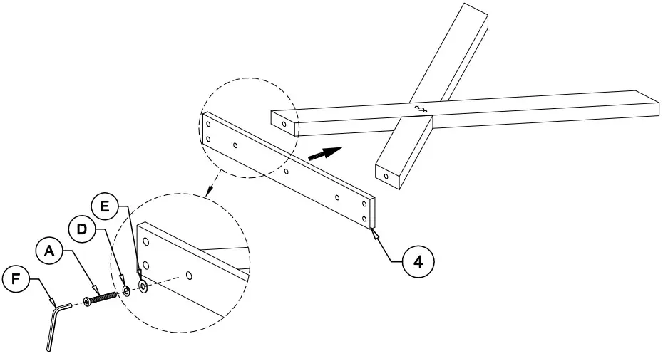
- STEP 4:

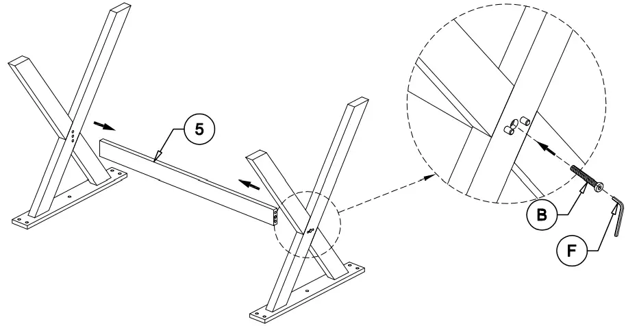
- STEP 5:

- STEP 6:





































