TDC USA INC 22586 5 Piece Sling Dining Set

Assembly Instructions
The owner’s manual contains important safety information as well as assembly, use and maintenance instructions. Keep the packaging and bags away from children and dispose of all packaging properly before use. Keep this manual for future reference.
PLEASE DO NOT RETURN THIS PRODUCT TO THE STORE
We will be happy to correct any problems that you may have, or answer any of your questions regarding the purchase of this product. Please contact us at our Toll Free customer service number 1-800-599-8898 for any assistance and replacement parts. Thank You.
Dist. by TDC USA, Inc. Fairfield, NJ 07004 ©2022 All Rights Reserved.
Made in China
Item 22586
www.tdcusainc.com
WARNING!
- Keep all children and pets away from assembly area. Children and pets should be supervised when they are in the area of the product construction.
- Some parts may contain sharp edges. When assembling and using this product, basic safety precautions should always be.
- Please read all the instructions and warnings before assembling. In order to make the whole product adjust to the best, please install all the screws on the product and tighten all the screws after adjusting the product which can stand on the floor even. Not intended for commercial use.
- Check all bolts for tightness before use.
- IMPORTANT – check and tighten bolts often to keep them secure
CHOKING HAZARD – Small parts. Not suitable for children under 36 months. The product contains small parts, keep children away when assembling.
ADULT ASSEMBLY REQUIRED.
Always remove protective material and poly bags and dispose before assembly.
Chair Parts 
Chair Assembly Instructions 
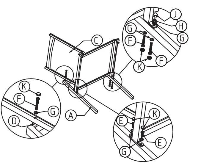
Step 1: Unfold Chair (C) as illustrated here.
Step 2:
Insert one Bolt M6x42 (F) with Washer (G) through the eyelet found on the opposite side of frame behind the Chair’s (C) back, through a Spacer (D), and into the bolt threading found at the top-right of Armrest (A). Insert two Bolts M6x15 (E) with Washers (G) through the eyelets found at the back of Chair’s (C) frame and into the bolt-threading found on the back leg of Armrest (A). Insert one Bolt M6x42 (F) with Washer (G) through the top eyelet of front leg of Armrest (A) and into the bolt- threading found inside the front-support bar [underneath] of Chair’s (C) frame.
Insert one Bolt M6x42 (F) with Washer (G) through the bottom eyelet of front leg of Armrest (A, through eyelet underneath front-support bar of Chair’s (C) frame, and use a Nut (H) to hold parts together. Tighten all bolts using Hex Key (L) and al nuts using Wrench (M) left loose throughout assembly process. Place Bolt Caps (K) over the heads of each bolt and place Nut Caps(J) over each nut.
Step 3:
Insert one Bolt M6x42 (F) with Washer (G) through the eyelet found on the opposite side of frame behind the Chair’s (C) back, through a Spacer (D), and into the bolt- threading found at the top-right of Armrest (B). Insert two Bolts M6x15 (E) with Washers (G) through the eyelets found at the back of Chair’s (C) frame and into the bolt-threading found on the back leg of Armrest (B). Insert one Bolt M6x42 (F) with Washer (G) through the top eyelet of front leg of Armrest (B) and into the bolt- threading found inside the front-support bar [underneath] of Chair’s (C) frame. Insert one Bolt M6x42 (F) with Washer (G) through the bottom eyelet of front leg of Armrest (B), through eyelet underneath front-support bar of Chair’s (C) frame, anduse a Nut (H) to hold parts together. Tighten all bolts using Hex Key (L) and all nuts using Wrench (M) left loose throughout assembly process. Place Bolt Caps (0 over the heads of each bolt and place Nut Caps (J) over each nut.
Table Parts
Table Assembly Instructions
Step 1: Remove Glass (Q) from Table (N) carefully and set it aside until assembly is complete. Set the Table (N) upside-down on a soft, non-abrasive surface.
Insert three Bolts M6x15 (E) with Washers (G) through the base of Table Leg (P) and into the bolt-threading found at the corner of the Table’s (N) frame. Tighten all bolts using Hex Key (L). Place Bolt Caps (K) over the heads of each bolt. Follow these steps to assemble the remaining three Table Legs (P) to each corner of the Table’s (N) frame.
Assembly Instructions
Step 2: Turn table right-side up and carefully set Glass (Q) into the center of Table (N). The table is now ready to use.
5 Piece Sling Dining Set
Dist. by TDC USA, Inc. Fairfield, NJ 07004
©2022 All Rights Reserved. Made in China.
Item #22586
Questions and Comments
1-800-599-8898 (9 am – 5 pm EST)
www.tdcusainc.com
























