Acuity Brands S2PID SLOT 2 Uspended Linear Lighting

Product Information: SLOT 2/4
The SLOT 2/4 is a pendant lighting fixture designed for both indirect and direct lighting. It is intended for use in commercial or residential settings. The fixture is designed to be mounted on a ceiling and is available in two sizes: SLOT 2 and SLOT 4. The fixture comes with installation instructions and safety guidelines.
Safety Overview Parts
The safety overview parts section provides important safety instructions and precautions that must be followed before, during, and after installation. It includes information on electrical safety, burn hazards, and product damage risks. It also provides information on wearing gloves and safety glasses, avoiding direct eye exposure to the light source, preventing fire, and avoiding product damage.
Installation Instructions
The installation instructions section provides step-by-step instructions on how to install the SLOT 2/4 fixture. The instructions include information on setting up the ceiling, preparing the fixtures, mounting the first fixture, opening fixtures, joining sections, making electrical connections, and closing fixtures. It also includes information on how to supplement the installation with additional resources.
Contractor’s Resources
The contractor’s resources section provides additional resources for contractors who may need additional support during installation. It includes information on product specifications, compatibility checks, and LED polarity sensitivity. It also includes information on electrostatic discharge (ESD) and the importance of wearing personal grounding equipment during installation or servicing.
Product Usage Instructions
Before using the SLOT 2/4 fixture, it is important to read and follow all safety instructions provided in the manual. The following usage instructions should be followed:
- Ensure that the fixture is properly installed according to the instructions provided.
- Verify that the supply voltage is correct by comparing it with the luminaire label information.
- Do not exceed the maximum wattage marked on the luminaire label.
- Allow the lamp/fixture to cool before handling and do not touch the enclosure or light source.
- Do not operate in close proximity to persons, combustible materials, or substances affected by heat or drying.
- Do not connect components under load and do not mount or support the fixtures in a manner that can cut the outer jacket or damage wire insulation.
- Ensure that controls for dimming, auto-sensing, or remote control of a luminaire that are not factory-wired to the luminaire are checked for compatibility with the luminaire prior to installation.
- LED fixtures must be powered directly off a switched circuit.
- Do not restrict fixture ventilation and avoid covering LED fixtures with insulation, foam, or other material that will prevent convection or conduction cooling.
- Do not exceed fixtures maximum ambient temperature and only use fixture in its intended location.
- Ensure proper polarity before installation and wear personal grounding equipment during all installation or servicing of the unit.
- Do not touch individual electrical components as this can cause ESD, shorten lamp life, or alter performance.
By following these usage instructions, you can ensure that the SLOT 2/4 fixture is used safely and effectively.
Important Safety Instructions
READ AND FOLLOW ALL SAFETY INSTRUCTIONS!
SAVE THESE INSTRUCTIONS AND DELIVER TO OWNER AFTER INSTALLATION
- To reduce the risk of death, personal injury or property damage from fire, electric shock, falling parts, cuts/abrasions, and other hazards please read all warnings and instructions included with and on the fixture box and all fixture labels.
- Before installing, servicing, or performing routine maintenance upon this equipment, follow these general precautions.
- Installation and service of luminaires should be performed by a qualified licensed electrician.
- Maintenance of the luminaires should be performed by person(s) familiar with the luminaires’ construction and operation and any hazards involved. Regular fixture maintenance programs are recommended.
- It will occasionally be necessary to clean the outside of the refractor/lens. Frequency of cleaning will depend on ambient dirt level and minimum light output which is acceptable to user. Refractor/lens should be washed in a solution of warm water and any mild, non-abrasive household detergent, rinsed with clean water and wiped dry. Should optical assembly become dirty on the inside, wipe refractor/lens and clean in above manner, replacing damaged gaskets as necessary.
- DO NOT INSTALL DAMAGED PRODUCT! This luminaire has been properly packed so that no parts should have been damaged during transit. Inspect to confirm. Any part damaged or broken during or after assembly should be replaced.
Recycle: For information on how to recycle LED electronic products, please visit www.epa.gov. - These instructions do not purport to cover all details or variations in equipment nor to provide every possible contingency to meet in connection with installation, operation, or maintenance. Should further information be desired or should particular problems arise which are not covered sufficiently for the purchaser’s or owner’s purposes, this matter should be referred to Acuity Brands Lighting, Inc.
WARNING
RISK OF ELECTRIC SHOCK
- Disconnect or turn off power before installation or servicing.
- Verify that supply voltage is correct by comparing it with the luminaire label information.
- Make all electrical and grounded connections in accordance local code requirements.
- All wiring connections should be capped with UL approved recognized wire connectors.
WARNING
RISK OF BURN
- Allow lamp/fixture to cool before handling. enclosure or light source.
- Do not exceed maximum wattage marked on luminaire label.
- Follow all manufacturer’s warnings, recommendations and restrictions for: driver type, burning position, mounting locations/methods, replacement and recycling.
CAUTION
RISK OF INJURY
- Wear gloves and safety glasses at all times when removing luminaire from carton, installing, servicing or performing maintenance.
- Avoid direct eye exposure to the light source while it is on.
CAUTION
RISK OF FIRE
- Keep combustible and other materials that can burn, away from lamp/lens.
- Do not operate in close proximity to persons, combustible materials or substances affected by heat or drying.
CAUTION: RISK OF PRODUCT DAMAGE
- Never connect components under load.
- Do not mount or support these fixtures in a manner that can cut the outer jacket or damage wire insulation.
- Controls for dimming, auto-sensing, or remote control of a luminaire that are not factory-wired to the luminaire must be checked for compatibility with the luminaire prior to installation. LED fixtures must be powered directly o ffa switched circuit.
- Unless individual product specifications deem otherwise: Do not restrict fixture ventilation. Allow for some volume of airspace around fixture. Avoid covering LED fixtures with insulation, foam, or other material that will prevent convection or conduction cooling.
- Unless individual product specifications deem otherwise: Do not exceed fixtures maximum ambient temperature.
- Only use fixture in its intended location.
- LED products are Polarity Sensitive. Ensure proper Polarity before installation.
- Electrostatic Discharge (ESD): ESD can damage LED fixtures. Personal grounding equipment must be worn during all installation or servicing of the unit.
- Do not touch individual electrical components as this can cause ESD, shorten lamp life, or alter performance.
- Some components inside the fixture may not be serviceable. In the unlikely event your unit may require service, stop using the unit immediately and contact an ABL representative for assistance.
- Always read the fixtures complete installation instructions prior to installation for any additional fixture specific warnings.
- Always ensure that the electrical distribution system is up to NEC (and any applicable local code) requirements.
- Verify that power distribution system has proper grounding. Lack of proper earth ground can lead to fixture failure and may void warranty.
Choose either Part 15 OR Part 18 and move to Page 3 Installation Instructions under Delivery. Lithonia Outdoor will always use Part 15.
All luminaires that contain electronic devices that generate frequencies above 9kHz from any component within the luminaire comply with Part 15 of the FCC Rules. Operation is subject to the following two conditions:
- This device may not cause harmful interference
- This device must accept any interference received, including interference that may cause undesired operation
This device complies with Part 18 of the FCC Rules but may cause interference with cordless and cell phones, radios, televisions, and other electronic devices. To correct the problem, move the device away from the luminaire or plug into a different outlet. This product may cause interference to radio equipment and should not be installed near maritime safety communications equipment or other critical navigation or communications equipment operating between 0.45-30MHz.
Failure to follow any of these instructions could void product warranties. For a complete listing of product Terms and Conditions, please visit www.acuitybrands.com.
Acuity Brands Lighting, Inc. assumes no responsibility for claims arising out of improper or careless installation or handling of its products.
ABL LED General Warnings, Form No. 503.203
© 2021, 2010, 2016 Acuity Brands Lighting, Inc. All rights reserved. 12/01/10
READ AND FOLLOW ALL SAFETY INSTRUCTIONS!
SAVE THESE INSTRUCTIONS AND DELIVER TO OWNER AFTER INSTALLATION
- To reduce the risk of death, personal injury or property damage from fire, electric shock, falling parts, cuts/abrasions, and other hazards please read all warnings and instructions included with and on the fixture box and all fixture labels.
- Before installing, servicing, or performing routine maintenance upon this equipment, follow these general precautions.
- Installation and service should be performed by a qualified licensed electrician.
- Maintenance should be performed by qualified person(s) familiar with the products’ construction and operation and any hazards involved. Regular maintenance programs are recommended.
- DO NOT INSTALL DAMAGED PRODUCT! This product has been properly packed so that no parts should have been damaged during transit. Inspect to confirm. Any part damaged or broken during or after assembly should be replaced.
- These instructions do not purport to cover all details or variations in equipment nor to provide every possible contingency to meet in connection with installation, operation, or maintenance. Should further information be desired or should particular problems arise which are not covered sufficiently for the purchaser’s or owner’s purposes, this matter should be referred to Acuity Brands Lighting, Inc.
WARNING
RISK OF ELECTRIC SHOCK
- Disconnect or turn off power before installation or servicing.
- Verify that supply voltage is correct by comparing it with the luminaire label information.
- Make all electrical and grounded connections in accordance National Electrical Code (NEC) and any applicable local code requirements.
- All wiring connections should be capped with UL approved recognized wire connectors.
WARNING
RISK OF BURN
- Allow lamp/fixture to cool before handling. Do not touch enclosure or light source.
- Do not exceed maximum wattage marked on luminaire label.
- Follow all manufacturer’s warnings, recommendations and restrictions for: driver type, burning position, mounting locations/methods, replacement and recycling.
CAUTION
RISK OF INJURY
- Wear gloves and safety glasses at all times when removing luminaire from carton, installing, servicing or performing maintenance.
- Avoid direct eye exposure to the light source while it is on.
CAUTION
RISK OF FIRE
- Keep combustible and other that can burn, away from materials lamp/lens.
- Do not operate in close proximity to persons, combustible materials or substances affected by heat or drying.
Always read the fixtures complete installation instructions prior to installation for any additional fixture specific warnings.
Failure to follow any of these instructions could void product warranties. For a complete listing of product Terms and Conditions, please visit www.acuitybrands.com.
Acuity Brands Lighting, Inc. assumes no responsibility for claims arising out of improper or careless installation or handling of its products.
CAUTION: RISK OF PRODUCT DAMAGE
- Electrostatic Discharge (ESD): ESD can damage product(s). Personal grounding equipment must be worn during all installation or servicing of the unit.
- Do not touch individual electrical components as this can cause ESD and affect product Performance.
- Do not stretch or use cable sets that are to short or are of insufficient length.
- Do not tamper with contacts.
- Do not modify the product.
- Do not change or alter internal wiring or installation circuitry.
- Do not use product for anything other than its intended use.
- If installing latching springs: ensure that the springs are fully engaged prior to moving to next connection.
- If installing wiring systems: Materials and component parts of a manufacturing wiring system as described in Article 604 of the National Electric Code and Underwriters Laboratories Standard for Safety #183 MUST BE installed.
Please see product specific installation instructions for additional warnings or any applicable FCC or other regulatory statements.
Failure to follow any of these instructions could void product warranties. For a complete listing of product Terms and Conditions, please visit www.acuitybrands.com.
Our Brands Indoor/Outdoor Controls Daylighting
Lithonia Lighting DARK TO LIGHT SunOptics
Carandini LC&D
Holophane ROAM
RELOC
Outdoor Lighting
American Electric Lighting
Antique Street Lamps
Hydrel
Tersen Sensor Switch
Light Concepts
Indoor Lighting
Gotham
Mark Architectural Lighting
Peerless
Renaissance Lighting
Winona Lighting Synergy
Acuity Brands Lighting, Inc. assumes no responsibility for claims arising out of improper or careless installation or handling of its products.
Overview
Fixture
NOTE: Illustrations are used for reference only and can differ slightly from the actual lighting system installed. However, key components addressed in this information are represented as accurately as possible.
WARNING: DO NOT LOAD SINGLE FEED TO MORE THAN 6 AMPS

Mounting

| INDIVIDUAL FIXTURES (MOUNTING) | |||
| LENGTH | “A” O.A.L. | “B” O.C. | “C” FROM END |
| 2FT | 2′- 0 9/16″ | 1′- 11 13/16″ | 3/8″ |
| 3FT | 3′- 0 9/16″ | 1′- 11 13/16″ | 3/8″ |
| 4FT | 4′- 0 9/16″ | 1′- 11 13/16″ | 3/8″ |
| 5FT | 5′- 0 9/16″ | 1′- 11 13/16″ | 3/8″ |
| 6FT | 6′- 0 9/16″ | 1′- 11 13/16″ | 3/8″ |
| 7FT | 7′- 0 9/16″ | 1′- 11 13/16″ | 3/8″ |
| 8FT | 8′- 0 9/16″ | 1′- 11 13/16″ | 3/8″ |
- O.A.L. – Overall lenght
- O.C. – Distance from center to center


- Non-Power Feed Point / Aircraft Cable
- Power Feed
- Battery Power Feed
- CAT5

| RUN LAYOUT (MOUNTING) | |||
| “A1” O.A.L. | “A2” O.A.L. | “B” O.C | C” FROM END |
| 4′- 0 1/4″ | 4′-0″ | 3′- 11 15/16″ | 3/8″ |
| 5′- 0 1/4″ | 5′-0″ | 3′- 11 15/16″ | 3/8″ |
| 6′- 0 1/4″ | 6′-0″ | 3′- 11 15/16″ | 3/8″ |
| 7′- 0 1/4″ | 7′-0″ | 3′- 11 15/16″ | 3/8″ |
| 8′- 0 1/4″ | 8′-0″ | 3′- 11 15/16″ | 3/8″ |
Parts – Hanging Hardware
- Provided in a separate red box labeled “INSTALLATION HARDWARE PLEASE OPEN FIRST”.
- All other parts for installation to be provided by others.
NOTE: Feed kit is the same for F1/F2 and parts are provided for both types of ceiling install. See parts list on this page for provided mounting hardware kit.



Set Up Ceiling – Grid Ceilings (F1)

Feed Locations:
- Install J-box (by others) into the ceiling. Ensure the bottom edge is flush with the ceiling. Connect the metal conduit from building power to the J-box.
- Mount the crossbar to the J-box using (2) #8 screws and fasten it securely to the J-box.
- Insert strain relief to the feed cord.
- Pass the feed cord through the hole in the canopy and make wire connections inside J-box. Flush the canopy with the crossbar and thread coupler onto crossbar screw.
NOTE: A separate hole is provided for a CAT5 cable if NLIGHT option is selected.

Non-Feed Locations (On-Grid):
- Insert bolt into the bottom of bracket (A) and hook onto grid member.
- Hook bracket (B) onto bracket (A) and adjust brackets to proper location along the ceiling grid and push the tab from (A) towards bracket (B) to secure brackets together.
- Secure the brackets to the building structure per local building codes.

Non-Feed Locations (Off-Grid):
- Insert bolt into the bottom of bracket (A) and hook together with bracket (B). Secure with nut (DO NOT TIGHTEN).
- Slide hanger onto caddy bar and fit caddy bar into upper slots on the grid members.
- Adjust brackets to proper location and push the tab from bracket (A) towards bracket (B) to secure brackets together.
- Secure the brackets to the building structure per local building codes.
Set Up Ceiling – Hardlid (F2)

Feed Locations:
- Install the 4O J-box (by others) into the ceiling. Ensure the bottom edge is flush with ceiling. Connect the metal conduit from building power to the J-box.
- Mount crossbar to J-box using (2) #8 screws and fasten it securely to J-box.
- Install strain relief to the feed cord.
- Pass feed cord through the bushing in the canopy and make wire connections inside J-box. Flush canopy with the crossbar and thread coupler onto the crossbar screw.
NOTE: A separate hole is provided for CAT5 cable if NLIGHT option is selected.

Non-Feed Locations:
Secure 1/4-20 threaded rod approximately 3/8” to 5/8” below the ceiling. Insert canopy and securely fasten the coupler.
Prep Fixtures

- Labels are located on the carton, on the fixture, and on the lens.
- Each section is identified by and ID#.
- Section position starting with X.000 for the first fixture.
- Same fixture configuration can carry identical ID# and are interchangeable.
- Individual fixtures have whole number Y.
- For replacement parts, provide ID# and order #.
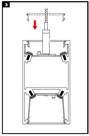
Mount First Section

First Section:
- Mount the grip lock from the hanging hardware kit onto the screw provided on the fixture.
- Adjust aircraft cable up or down, by pushing down on upper lock cylinder. Once required length is achieved, allow lock cylinder to spring back up. Make sure the lock screw is tightened. Hide or trim the excess cable length.

For an Individual Fixture:
Repeat the same procedure from step (1) on the other end of fixture.
NOTE: For a run, refer to step 3.

For a Run:
- Mount the grip lock onto the screw on the hanger bracket and temporary secure in place with supplied #8 screw.
- Slide the hanger bracket into open end of housing.
- Adjust aircraft cable up or down, by pushing down on upper lock cylinder. Once required length is achieved, allow lock cylinder to spring back up. Make sure the lock screw is tightened. Hide or trim the excess cable length.
Opening Fixtures

Grasp dust cover (if present) and pull it slowly out of the housing.

Unscrew four #8 screws and remove the reflector tray.
Join Sections
(NOTE: Joining hardware parts provided in a separate red bag.)

Install (4) aligner keys onto one end of the run.
The bump on the aligner key should face the extrusion. Half of the aligner key should be exposed to insert into the next section.

- Slide joining fixture over hanger bracket while keeping aligner keys aligned to the holes from opposite fixture body.
- Fully join sections together, latch the hook and slide the hanger bracket into the next section (Detail “A”).
NOTE: Pull wires into the next section before fully joining fixture together. From each quick connector provided on the intermediate ends of the fixture remove and discard the half (male or female) to which no wires are connected. Make electrical connections with quick connectors.
(NOTE: Joining hardware parts provided in a separate red bag.)

Insert sliding joiners through slots at hanger bracket and tighten with #8 screws provided.

Secure hanger bracket with #8 screws provided.
Electrical Connections
All power connections should be installed according to local/national codes by a Certified Electrician.

- Pull the feed cable through grommet at the beginning of the run.
- Using pliers, compress the metal strain relief on the power feed cable.
- If NLIGHT option is selected, remove cap next to the power cord, feed CAT5 cable through it, and connect to the RJ45 port.
- If NLIGHT or DCT option is selected, remove second cap for the CAT5 cable or second feed.
NOTE: Feed may come pre-installed if pre-installed feed option was selected.



Wires used to power EMPACK.
NOTE: Cap the unused wire at the junction box.
Close Fixtures

Insert reflectors into the housings.

Secure reflectors with #8 screws.

Gently push dust cover (if presented) and snap it into the housing.
NOTE: Use two people when working with fixtures greater than 4 feet.
Supplemental

Dust Cover Removal (DC/DCF):
To remove, lift dust cover.

Battery Pack/Test Switch (E10WLCP):
- If battery pack option is selected (E10WLCP), then an un-switched normal hot is required for power and sensing.
- Standard battery drop is on the right side of the section with the battery. See above diagram for location of test button.

nLight AIR
NOTE:
Install antenna on coax cable.

Remote BGTD Mounting Option:
- Suggested to mount in an accessible location for maintenance. To be installed in ceiling or to structure according to local and NEC code.
- 6 foot flexible conduit is attached. The remote BGTD should be mounted within 6 feet of the J-box above the fixture.


- Begin lens install per “Left (L)” detail.
- Snap lens into fixture housing making sure to follow “Lens Orientation” detail. Push left side of lens end approximately 1/8″ into end cap.
- Unroll lens as you make your way through the run.
- Follow “Right (R)” detail for lens cutting. Cut lens approximately 1/8″ longer than last section housing and tuck in right lens end into end cap cavity.
- NOTE: Use at least two people when installing a continuous lens.
- NOTE: Continuous lens supplied oversized for any given run length. Contractor to make final length cut at the time of installation.
- NOTE: Continuous lens should stay at room temperature for a few hours before installation.
Check out helpful programs, tools, installation videos and more.

SCAN ME
marklighting.com I 800-705-SERV (7378) I [email protected] I © 2022 AcuityBrands Lighting, Inc. All Rights Reserved. We reserve the right to change design, materials and finish in any way that will not alter installed appearance or reduce function and performance.



















