MADDOX MI1-1 Manual Bead Breaker

Save This Manual Keep this manual for the safety warnings and precautions, assembly, operating, inspection, maintenance and cleaning procedures. Write the product’s serial number in the back of the manual near the assembly diagram (or month and year of purchase if product has no number). Keep this manual and the receipt in a safe and dry place for future reference.
- Visit our website at: http://www.harborfreight.com
- Email our technical support at: [email protected]
When unpacking, make sure that the product is intact and undamaged. If any parts are missing or broken, please call 1-888-866-5797 as soon as possible. Copyright© 2021 by Harbor Freight Tools®. All rights reserved. No portion of this manual or any artwork contained herein may be reproduced in any shape or form without the express written consent of Harbor Freight Tools. Diagrams within this manual may not be drawn proportionally. Due to continuing improvements, actual product may differ slightly from the product described herein. Tools required for assembly and service may not be included
WARNING
Read this material before using this product. Failure to do so can result in serious injury. SAVE THIS MANUAL
Specifications
| Construction | Steel |
| Tire Size Capacity | Tires up to 42″ 14-ply tires with drop-center rims. |
| Dimensions | L 6″ x W 4.4″ x H 10″ |
| Net Weight | 10 Lb. |
WARNING SYMBOLS AND DEFINITIONS
This is the safety alert symbol. It is used to alert you to potential personal injury hazards. Obey all safety messages that follow this symbol to avoid possible injury or death.
- DANGER Indicates a hazardous situation which, if not avoided, will result in death or serious injury.
- WARNING Indicates a hazardous situation which, if not avoided, could result in death or serious injury
- CAUTION Indicates a hazardous situation which, if not avoided, could result in minor or moderate injury
- NOTICE CAUTION Addresses practices not related to personal injury.
IMPORTANT SAFETY INFORMATION
Read all safety warnings and instructions. Failure to follow the warnings and instructions may result in serious injury. Save all warnings and instructions for future reference
WARNING
When using tool, basic safety precautions should always be followed to reduce the risk of personal injury and damage to equipment
- Always wear ANSI approved impact safety goggles and heavy-duty work gloves during use.
- Release air pressure from tire by removing valve core from stem before use.
- Use as intended only.
- Check for damaged parts. Before using any tool, any part that appears damaged should be carefully checked to determine that it will operate properly and perform its intended function. Check for alignment and binding of moving parts; any broken parts or mounting fixtures; and any other condition that may affect proper operation. Any part that is damaged should be properly repaired or replaced by a qualified technician.
- Keep work area clean. Cluttered areas invite injuries.
- Observe work area conditions. Do not use machines or power tools in damp or wet locations. Don’t expose to rain. Keep work area well lit. Do not use electrically powered tools in the presence of flammable gases or liquids.
- Keep children away. Children must never be allowed in the work area. Do not let them handle machines, tools, or extension cords.
- Store idle equipment. When not in use, tools must be stored in a dry location to inhibit rust. Always lock up tools and keep out of reach of children.
- Use the right tool for the job. Do not attempt to force a small tool or attachment to do the work of a larger industrial tool. There are certain applications for which this tool was designed. It will do the job better and more safely at the rate for which it was intended. Do not modify this tool and do not use this tool for a purpose for which it was not intended.
- Dress properly. Do not wear loose clothing or jewelry as they can be caught in moving parts. Protective, electrically non-conductive clothes and non-skid footwear are recommended when working. Wear restrictive hair covering to contain long hair.
- Do not overreach. Keep proper footing and balance at all times. Do not reach over or across running machines.
- Maintain tools with care. Keep tools maintained and clean for better and safer performance. Follow instructions for lubricating and changing accessories. The handles must be kept clean, dry, and free from oil and grease at all times.
- Stay alert. Watch what you are doing, use common sense. Do not operate any tool when you are tired.
- Replacement parts and accessories. When servicing, use only identical replacement parts. Use of any other parts will void the warranty. Only use accessories intended for use with
this tool. Approved accessories are available from Harbor Freight Tools. - Do not operate tool if under the influence of alcohol or drugs. Read warning labels on prescriptions to determine if your judgment or reflexes are impaired while taking drugs. If there is any doubt, do not operate the tool.
- Maintenance. For your safety, service and maintenance should be performed regularly by a qualified technician.
- Only use this product on a flat, level, solid surface.
- Do not use for aircraft purposes.
Functions

Operating Instructions
Read the ENTIRE IMPORTANT SAFETY INFORMATION section at the beginning of this document including all text under subheadings therein before set up or use of this product.
WARNING: Tires are usually pressurized. DO NOT break the bead on any tire unless you have ensured that all pressure has been released from the tire. Do this by relieving or removing the valve in the stem.
CAUTION! Tires sometimes contain fluids such as leak sealers. Use caution when breaking the bead to prevent any material in the tire from getting in your face, on equipment or otherwise injuring any person or animal or causing property damage.
NOTICE: Do not force this tool if it is not compatible to the size of the tire being worked on.
- Remove tire from vehicle.
- Place tire on secure level surface.
- Remove valve core from tire stem to release air pressure.
- Ensure Extendable Foot is flush with Breaker Foot.
- Place Breaker Foot between tire and rim.
- Lightly tap Base so that Breaker Foot is snug between tire and rim.
NOTICE: Do not use impact wrench as it will damage Bead Breaker. - Tighten Hook Bolt until Hook is snug on rim.
- Tighten Extendable Foot Nut until Extendable Foot engages with tire bead.
- Continue to tighten Extendable Foot Nut until tire bead is broken loose from rim.
- Steps 4-9 may be repeated on two or three locations of tire.
Maintenance and Servicing Instructions
Procedures not specifically explained in this manual must be performed only by a qualified technician.
TO PREVENT SERIOUS INJURY FROM ACCIDENTAL OPERATION: Do not use damaged equipment. If abnormal noise or vibration occurs, have the problem corrected before further use.
Cleaning, Maintenance, and Lubrication
- Periodically inspect this tool for loose bolts, bent or damaged components.
- Regularly wipe down and clean this tool to keep it in best condition.
- Occasionally lubricate the many hinge points of this tool with a medium weight oil.
- When not in use, store this tool in a dry place, protecting it from wet or corrosive atmosphere. Protect this tool from accidental damage by placing it in a storage area away from other work or traffic.
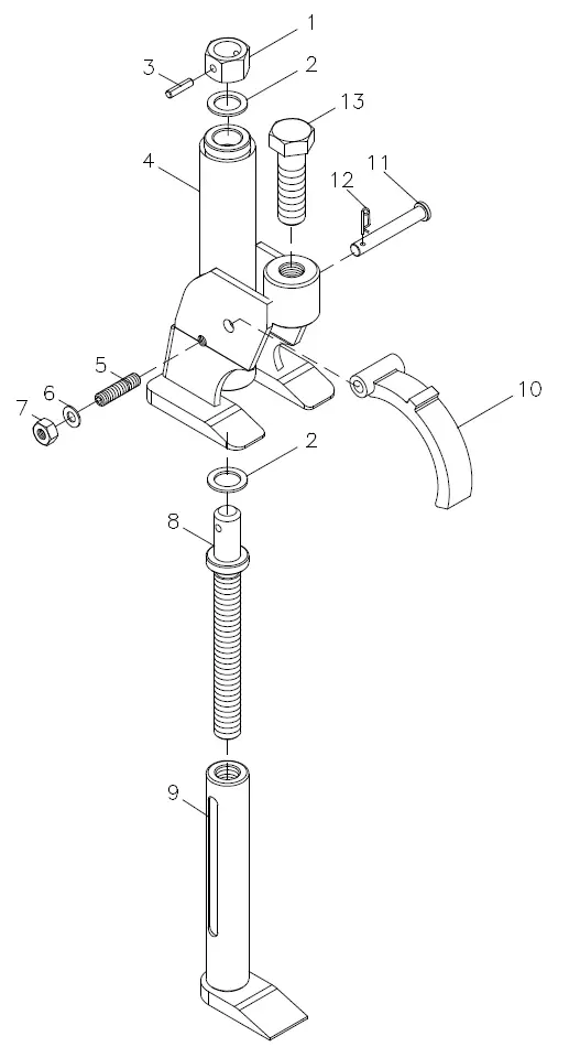
Parts List and Diagram
Parts List
| Part | Description | Qty | Part | Description | Qty | |
| 1 | Extendable Foot Nut | 1 | 8 | Screw | 1 | |
| 2 | Nylon Pads | 2 | 9 | Extendable Foot | 1 | |
| 3 | Spring Pin | 1 | 10 | Hook | 1 | |
| 4 | Support Assy | 1 | 11 | Pin | 1 | |
| 5 | Limit Screw (inner hex) | 1 | 12 | R-Pin | 1 | |
| 6 | Spring Washer | 1 | 13 | Hook Bolt | 1 | |
| 7 | Outer nut | 1 | ||||
Record Serial Number Here:
Note: If product has no serial number, record month and year of purchase instead.
Note: Some parts are listed and shown for illustration purposes only, and are not available individually as replacement parts. Parts may not be interchangeable. Specify UPC 193175450166 when ordering parts.
Diagram

Limited 90 Day Warranty
Harbor Freight Tools Co. makes every effort to assure that its products meet high quality and durability standards, and warrants to the original purchaser that this product is free from defects in materials and workmanship for the period of 90 days from the date of purchase. This warranty does not apply to damage due directly or indirectly, to misuse, abuse, negligence or accidents, repairs or alterations outside our facilities, criminal activity, improper installation, normal wear and tear, or to lack of maintenance. We shall in no event be liable for death, injuries to persons or property, or for incidental, contingent, special or consequential damages arising from the use of our product. Some states do not allow the exclusion or limitation of incidental or consequential damages, so the above limitation of exclusion may not apply to you. THIS WARRANTY IS EXPRESSLY IN LIEU OF ALL OTHER WARRANTIES, EXPRESS OR IMPLIED, INCLUDING THE WARRANTIES OF MERCHANTABILITY AND FITNESS. To take advantage of this warranty, the product or part must be returned to us with transportation charges prepaid. Proof of purchase date and an explanation of the complaint must accompany the merchandise. If our inspection verifies the defect, we will either repair or replace the product at our election or we may elect to refund the purchase price if we cannot readily and quickly provide you with a replacement. We will return repaired products at our expense, but if we determine there is no defect, or that the defect resulted from causes not within the scope of our warranty, then you must bear the cost of returning the product. This warranty gives you specific legal rights and you may also have other rights which vary from state to state. PLEASE READ THE FOLLOWING CAREFULLY
THE MANUFACTURER AND/OR DISTRIBUTOR HAS PROVIDED THE PARTS LIST AND ASSEMBLY DIAGRAM IN THIS DOCUMENT AS A REFERENCE TOOL ONLY. NEITHER THE MANUFACTURER OR DISTRIBUTOR MAKES ANY REPRESENTATION OR WARRANTY OF ANY KIND TO THE BUYER THAT HE OR SHE IS QUALIFIED TO MAKE ANY REPAIRS TO THE PRODUCT, OR THAT HE OR SHE IS QUALIFIED TO REPLACE ANY PARTS OF THE PRODUCT. IN FACT, THE MANUFACTURER AND/OR DISTRIBUTOR EXPRESSLY STATES THAT ALL REPAIRS AND PARTS REPLACEMENTS SHOULD BE UNDERTAKEN BY CERTIFIED AND LICENSED TECHNICIANS, AND NOT BY THE BUYER. THE BUYER ASSUMES ALL RISK AND LIABILITY ARISING OUT OF HIS OR HER REPAIRS TO THE ORIGINAL PRODUCT OR REPLACEMENT PARTS THERETO, OR ARISING OUT OF HIS OR HER INSTALLATION OF REPLACEMENT PARTS THERETO.
26677 Agoura Road Calabasas, CA 91302 1-888-866-5797


















