140MT-C3E Breaker Motor Protection
Instruction Manual
Bul. 140MT-C3E-…, 140MT-D9E-…, 140MT-D9N-…, 140MT-D9T-…, 140MT-D9V-…
Publication 140MT-IN011A-MU-P – April 2021
IEC/EN 60947-2,-4-1
GB/T 14048.2/.4
UL 60947-4-1
CAN/CSA-C22.2 No. 60947-4-1
At the end of its life, this equipment should be collected separately from any unsorted municipal waste.
140MT-C3E Breaker Motor Protection
ATTENTION! HAZARDOUS VOLTAGE!
The installation and operation of this device and any maintenance must be carried out by a qualified person in accordance with specific local standards and safety regulations. Before installing this device, read these operating instructions carefully. Do not touch live parts. To avoid damages to persons and materials the devices have to be replaced in case of mechanical and/or electrical damage.

Motor Protection Circuit Breaker

Steps for a proper connection
- Prepare wires according to the instructions
- Open terminal screws completely
- Insert wires fully in the correct position
- Tighten terminal screws with the required torque
- Check for solid connection by pulling on all the wires

Minimum distance to grounded parts or walls (X1, X2, Y)
| Voltage (V) | X1, X2 mm | inch | Y mm | inch |
| 400 | 30 | 1/3/16 | 9 | 23/64 |
| 500 | 30 | 1/3/16 | 9 | 23/64 |
| 690 | 50 | 1/31/32 | 30 | 1/3/16 |
| Frame type | Z mm | inch |
| 140MT -C* | 7,5 | 19/64 |
| 140MT -D* | _ 13,5 | 17/32 |
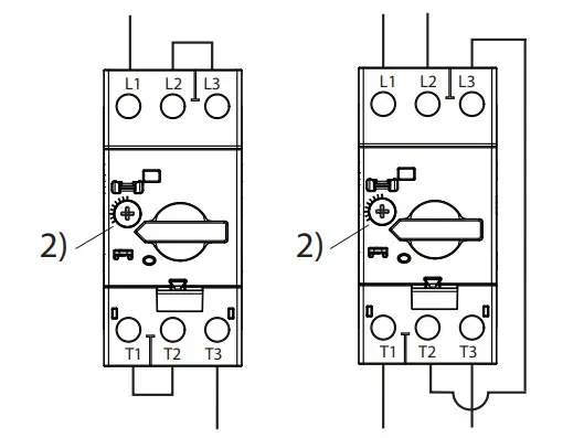
Wiring Diagrams for 1- or 2-Phase Application

For 1- or 2-Phase Motor Application
Set to 105% of motor current.
WARNING: Do not set outside scale!

For UL Control Transformer Protection3)
- The device is to be installed only on the load side of branch circuit protection.
- Set the current adjustment not more than the rated input current of the control transformer.
- Use only in the specific supply voltage system as marked on the device.
Motor Protection/Circuit Breaker
This device meets the requirements of IEC 60947-2 as a circuit breaker. It is cULus listed (UL and CSA approved) as:
- A Manual Motor Controller with optional approvals for Group Motor, Motor Disconnect and Tap Conductor Protection.
- A Manual, Self-Protected Combination Motor Controller (Construction Typ. E).
All installations, commissioning and maintenance must be carried out by qualified personnel, taking local regulations into account.
140MT-D9V-…
VFD output frequency < 400Hz, PVM frequency fc < 4kHz VFD output frequency < 400Hz, PVM frequency fc < 4kHz Current setting: VFD in = max. input current, VFD out = rated motor current.
For more details see the technical specifications.
Not applicable for 140MT-D9V*
140MT-D9N* do not provide thermal protection for themselves nor for downstream components. A separate protective device against thermal overload must be installed, e.g. an O/L relay as part of a starter combination. Refer to the derating specification for heavy-duty starting.
| Current range | class 10 | class 20 | class 30 |
| 0.16…10A | no | no | no |
| 16…29A | no | no | 1. |
| 32…40A | no | 1. | 2. |
Short Circuit Ratings
| Cat. No. | USA/CND Manual Motor Controller and Self -Protected Combination Motor Controller | |||||
| Group Motor Installation | Motor Disconnect | Self-Protected Combination Motor Controller and Tap Conductor Protection in Group Installation for Manual Motor Controller | ||||
| Max. Short Circuit Current [kA] | ||||||
| Allen-Bradley | 480V | 600V | 480V | 600V | 480Y/277V | 600Y/374V |
| 140MT-C3E-A16…B16 | 65 | 50 | 65 | 50 | 65 | 50 |
| 140MT-C3E-B25…B40 | 65 | 30 | 65 | 30 | 65 | 30 |
| 140MT-C3E-B63…C10 | 65 | 30 | 65 | 30 | 65 | |
| 30 | 30 | —140MT-C3E-C16 30 | 30 | 30 | ||
| 30 | 30 | —140MT-C3E-C20 10 | 10 | – | — | |
| 140MT-C3E-C25 | 30 | 18 | 30 | 5 | – | — |
| 140MT-C3E-C29…C32 | 30 | 10 | 10 | – | – | – |
| Cat. No. | USA/CND Manual Motor Controller and Self-Protected Combination Motor Controller | |||||
| Group Motor Installation | Motor Disconnect | Self-Protected Combination Motor Controller and Tap Conductor Protection in Group Installation for Manual Motor Controller | ||||
| Max. Short Circuit Current [kA] | ||||||
| Allen-Bradley | 480V | 600V | 480V | 600V | 480Y/277 | 600Y/347V |
| 140MT-D9E-A63…B16 | 65 | 50 | 65 | 50 | 65 | 50 |
| 140MT-D9E-B25…C20 | 65 | 30 | 65 | 30 | 65 | 30 |
| 140MT-09E-C25…C29 | 50 | 30 | 50 | 30 | 50 | 30 |
| 140MT-D9E-C32 | 50 | 30 | 30 | 18 | 30 | 18 |
| 140MT-D9E-C36…C40 | 30 | 30 | 30 | 18 | 30 | — |
| 140MT-D9N-A16…B16 | 65 | 50 | 65 | 50 | — | — |
| 140MT-D9N-B25…C29 | 65 | 30 | 65 | 30 | — | — |
| 140MT-D9N-C32…C40 | 30 | 30 | 30 | 18 | — | — |
| 140MT-D9T-A16…B16 | 65 | 50 | 65 | 50 | 65 | 50 |
| 140MT-09T-B25…C20 | 65 | 30 | 65 | 30 | 65 | 30 |
| 140MT-D9T-C25 | 50 | 18 | 50 | 18 | 50 | 18 |
| 140MT-D9V-816…C20 | 65 | – | 65 | – | 65 | — |
| 140MT-D9V-C25…C29 | 50 | – | 50 | – | 50 | — |
| 140MT-D9V-C32 | 50 | – | 30 | – | 30 | — |
| 140MT-D9V-C36…C40 | 30 | – | 30 | – | 30 | — |
Ex relevant information
Explosion Application Cat. No. Type Range: Bul. 140MT-C3E-…, 140MT-D9E-…, 140MT-D9T-…, 140MT-D9V-…(140MT-D9N-… is not usable for Ex Applications)
The Ex protection function of the 140MT-C / D devices (Circuit breaker with contactors as starters outside the Ex zone with connection to the Ex zone) is a thermally delayed release device with phase failure protection so that the motor starter acts as a safety device (protective device for indirect temperature monitoring) to protect motors to avoid impermissible temperatures can be used.
Possible Type of Ignition in according to the Zone:
- For Mining: DB, web, and pxb
- For Gas: db, eb and pxb
- For Dust: tb and pxb
I (M2) [Ex eb Mb]
II (2) GD [Ex eb Gb]
Multiple of current setting limits for ambient air temperature compensate time-delay overload relays:

Ex Ambient Specifications:
- Operation at Ta = -25 °C up to +60 °C
- Storage at T= -40 °C up to +80 °C
- SIL 1 necessary requirements for the environment e.g. overvoltage category
Ex Installation and Maintenance:
- Use 60079-14 (for dust additional 61241-14) for Project engineering, selection, and installation
- Use 60079-17 for Inspection and maintenance
- No repairing of the 140MT-C/D devices allowed (Because the Ex protection function is no longer guaranteed!)
- Where automatic restarting after a failure is not permitted, the user must take suitable measures to prevent restarting.
- With the aid of the device’s test function, the tripping mechanism can be tested in the de-energized state.
- The cable type and the conductor cross-section of the current leads must be selected so that the thermal limiting temperature for the connecting cables is not exceeded.
- It could be proved in all cases that the motors are safely switched off.
European Hazardous Location Approval. The following applies to products marked II (2) GD and I (M2): Are Equipment Group I and II, Equipment Category 1G, 2G, 1D, 2D, and M2 and comply with the Essential Health and Safety. Requirements relating to the design and construction of such equipment are given in Annex II to EU Directive 2014/34/EU. See the EU declarations of conformity, safety instructions, and certificates on the links below.
Safety devices intended for use outside potentially explosive atmospheres caused by gases, vapors, mist, (coal) dust, and methane are likely to occur in normal operation, but are required for, or contributing, the safe functioning (also during expected malfunctions) to equipment and protective systems with respect to the risk of explosion. Such locations correspond to Zone 1, Zone 21, and Mining classification according to ATEX directive 2014/34/EU.
ATEX/IECEx/UK:
A-B: http://rok.auto/certifications
Warnings
WARNING: The opening of the branch-circuit protective device may be an indication that a fault current has been interrupted. To reduce the risk of fire or electric shock, current-carrying parts and other components of the controller shall be examined and replaced if damaged.
Connect with us.![]()
For Technical Support, visit rok.auto/support.
Rockwell Automation maintains current product environmental compliance information on its website at rok.auto/pec.
Product certificates are located in the Rockwell Automation Literature Library: rok.auto/certifications.
rockwellautomation.com
AMERICAS: Rockwell Automation, 1201 South Second Street, Milwaukee, WI 53204-2496 USA, Tel: 414.382.2000, Fax: (1) 414.382.4444
EUROPE/MIDDLE EAST/AFRICA: Rockwell Automation NV, Pegasus Park, De Kleetlan 12a, 1831 Diegem, Belgium, Tel: (32) 2663 0600, Fax: (32) 2663 0640
ASIA PACIFIC: Rockwell Automation, Level 14, Core F, Cyberport 3, 100 Cyberport Road, Hong Kong, Tel: (852) 2887 4788, Fax: (852) 2501846
Publication 140MT-IN011A-MU-P – April 2021
Copyright © 2021 Rockwell Automation, Inc. All Rights Reserved. Printed in USA.


















