
1633C-B
70 LB Pro
Breaker Hammer

Owner’s Manual & Safety Instructions
Save This Manual Keep this manual for the safety warnings and precautions, assembly, operating, inspection, maintenance, and cleaning procedures. Write the product’s serial number in the back of the manual near the assembly diagram (or month and year of purchase if the product has no number). Keep this manual and the receipt in a safe and dry place for future reference.
Visit our website at: http://www.harborfreight.com
Email our technical support at: [email protected]
When unpacking, make sure that the product is intact and undamaged. If any parts are missing or broken, please call 1-888-866-5797 as soon as possible.
Copyright© 2020 by Harbor Freight Tools ®. All rights reserved. No portion of this manual or any artwork contained herein may be reproduced in any shape or form without the express written consent of Harbor Freight Tools. Diagrams within this manual may not be drawn proportionally. Due to continuing improvements, the actual product may differ slightly from the product described herein. Tools required for assembly and service may not be included.
WARNING Read this material before using this product.
Failure to do so can result in serious injury.
SAVE THIS MANUAL.
WARNING SYMBOLS AND DEFINITIONS
| This is the safety alert symbol. It is used to alert you to potential personal injury hazards. Obey all safety messages that follow this symbol to avoid possible injury or death. | |
| Indicates a hazardous situation that, if not avoided, will result in death or serious injury. | |
| Indicates a hazardous situation that, if not avoided, could result in death or serious injury. | |
| Indicates a hazardous situation that, if not avoided, could result in minor or moderate injury. | |
| NOTICE CAUTION | Addresses practices not related to personal injury. |
IMPORTANT SAFETY INFORMATION
General power tool Safety Warnings
WARNING Read all safety warnings and instructions.
Failure to follow the warnings and instructions may result in electric shock, fire, and/or serious injury.
Save all warnings and instructions for future reference.
The term ″power tool″ in the warnings refers to your mains-operated (corded) power tool.
Work area safety
- Keep work area clean and well-lit. Cluttered or dark areas invite accidents.
- Do not operate power tools in explosive atmospheres, such as in the presence of flammable liquids, gases or dust. Power tools create sparks that may ignite dust or fumes.
- Keep children and bystanders away while operating a power tool. Distractions can cause you to lose control.
Electrical safety
- power tool plugs must match the outlet. Never modify the plug in any way. Do not use any adapter plugs with earthed (grounded) power tools. Unmodified plugs and matching outlets will reduce risk of electric shock.
- Avoid body contact with earthed or grounded surfaces such as pipes, radiators, ranges and refrigerators. There is an increased risk of electric shock if your body is earthed or grounded.
- Do not expose power tools to rain or wet conditions. Water entering a power tool will increase the risk of electric shock.
- Do not abuse the cord. never use the cord for carrying, pulling or unplugging the power tool. Keep cord away from heat, oil, sharp edges or moving parts. Damaged or entangled cords increase the risk of electric shock.
- When operating a power tool outdoors, use an extension cord suitable for outdoor use. The use of a cord suitable for outdoor use reduces the risk of electric shock.
- if operating a power tool in a damp location is unavoidable, use a Ground Fault circuit interrupter (GFI) protected supply.
The use of a GFCI reduces the risk of electric shock.
Personal safety
- Stay alert, watch what you are doing and use common sense when operating a power tool. Do not use a power tool while you are tired or under the influence of drugs, alcohol or medication. A moment of inattention while operating power tools may result in serious personal injury.
- use personal protective equipment. always wear eye protection. Safety equipment such as dust masks, non-skid safety shoes, hard hat, or hearing protection used for appropriate conditions will reduce personal injuries.
- prevent unintentional starting. Ensure the switch is in the off-position before connecting to a power source, picking up or carrying the tool. Carrying power tools with your finger on the switch or energizing power tools that have the switch on invites accidents.
- Remove any adjusting key or wrench before turning the power tool on. A wrench or a key left attached to a rotating part of the power tool may result in personal injury.
- Do not overreach. Keep proper footing and balance at all times. This enables better control of the power tool in unexpected situations.
- Dress properly. Do not wear loose clothing or jewelry. Keep your hair, clothing and gloves away from moving parts. Loose clothes, jewelry or long hair can be caught in moving parts.
- if devices are provided for the connection of dust extraction and collection facilities, ensure these are connected and properly used. Use of dust collection can reduce dust-related hazards.
- Only use safety equipment that has been approved by an appropriate standards agency. Unapproved safety equipment may not provide adequate protection. Eye protection must be ANSI-approved and breathing protection must be NIOSH-approved for the specific hazards in the work area.
Power tool use and care
- Do not force the power tool. use the correct power tool for your application. The correct power tool will do the job better and safer at the rate at which it was designed.
- Do not use the power tool if the switch does not turn it on and off. Any power tool that cannot be controlled with the switch is dangerous and must be repaired.
- Disconnect the plug from the power source before making any adjustments, changing accessories, or storing power tools. Such preventive safety measures reduce the risk of starting the power tool accidentally.
- Store idle power tools out of the reach of children and do not allow persons unfamiliar with the power tool or these instructions to operate the power tool. Power tools are dangerous in the hands of untrained users.
- Maintain power tools. check for misalignment or binding of moving parts, breakage of parts, and any other condition that may affect the power tool’s operation. if damaged, have the power tool repaired before use. Many accidents are caused by poorly maintained power tools.
- Keep cutting tools sharp and clean. Properly maintained cutting tools with sharp cutting edges are less likely to bind and are easier to control.
- Use the power tool, accessories and tool bits etc. in accordance with these instructions, taking into account the working conditions and the work to be performed. Use of the power tool for operations different from those intended could result in a hazardous situation.
Service
Have your power tool serviced by a qualified repair person using only identical replacement parts.
This will ensure that the safety of the power tool is maintained.
Percussion Hammer Safety Warnings
- Wear ear protectors. Exposure to noise can cause hearing loss.
- use auxiliary handles supplied with the tool. Loss of control can cause personal injury.
- Hold power tools by insulated gripping surfaces when performing an operation where the cutting accessory may contact hidden wiring or its own cord. Cutting accessory contacting a “live” wire may make exposed metal parts of the power tool “live” and could give the operator an electric shock.
- Keep clear of moving parts.
- unplug before inspecting, removing or installing chisel, or performing any service.
- Pull-on chisel after installation and before use; chisel may move but Must not slide out.
- Wear steel-toed boots during use.
- Do not operate this tool if you have back, neck, or wrist injuries, or other conditions that will be aggravated by the severe jerking forces that this tool exerts upon the operator.
- Maintain labels and nameplates on the tool. These carry important safety information. If unreadable or missing, contact Harbor Freight Tools for a replacement.
- Avoid unintentional starting. Prepare to begin work before turning on the tool.
- Do not lay the tool down until it has come to a complete stop. Moving parts can grab the surface and pull the tool out of your control
- When using a handheld power tool, maintain a firm grip on the tool with both hands to resist starting torque.
- Do not leave the tool unattended when it is plugged into an electrical outlet. Turn off the tool, and unplug it from its electrical outlet before leaving.
- This product is not a toy. Keep it out of reach of children.
- People with pacemakers should consult their physician(s) before use. Electromagnetic fields in close proximity to the heart pacemakers could cause pacemaker interference or pacemaker failure. In addition, people with pacemakers should:
• Avoid operating alone.
• Properly maintain and inspect to avoid electrical shock.
• Properly ground power cord. Ground Fault Circuit Interrupter (GFCI) should also be implemented – it prevents sustained electrical shock. - The warnings, precautions, and instructions discussed in this instruction manual cannot cover all possible conditions and situations that may occur. It must be understood by the operator that common sense and caution are factors that cannot be built into this product but must be supplied by the operator.
Vibration Safety
this tool vibrates during use. repeated or long-term exposure to vibration may cause temporary or permanent physical injury, particularly to the hands, arms and shoulders. to reduce the risk of vibration-related injury:
- Anyone using vibrating tools regularly or for an extended period should first be examined by a doctor and then have regular medical check-ups to ensure medical problems are not being caused or worsened from use. pregnant women or people who have impaired blood circulation to the hand, past hand injuries, nervous system disorders, diabetes, or Raynaud’s Disease should not use this tool. if you feel any symptoms related to vibration (such as tingling, numbness, and white or blue fingers), seek medical advice as soon as possible.
- Do not smoke during use. nicotine reduces the blood supply to the hands and fingers, increasing the risk of vibration-related injury.
- Wear suitable gloves to reduce the vibration effects on the user.
- Use tools with the lowest vibration when there is a choice.
- Include vibration-free periods each day of work.
- Let the tool do the work.
- To reduce vibration, maintain the tool as explained in this manual. if any abnormal vibration occurs, stop use immediately.
SAVE THESE INSTRUCTIONS
Grounding
WARNING
TO PREVENT ELECTRIC SHOCK AND DEATH FROM INCORRECT GROUNDING WIRE CONNECTION:
Check with a qualified electrician if you are in doubt as to whether the outlet is properly grounded. Do not modify the power cord plug provided with the tool. Never remove the grounding prong from the plug. Do not use the tool if the power cord or plug is damaged. If damaged, have it repaired by a service facility before use. If the plug will not fit the outlet, have a proper outlet installed by a qualified electrician.
Grounded tools: tools with three-prong plugs
- Tools marked with “Grounding Required” have a three-wire cord and three-prong grounding plug. The plug must be connected to a properly grounded outlet. If the tool should electrically malfunction or break down, grounding provides a low resistance path to carry electricity away from the user, reducing the risk of electric shock. (See 3-prong plug and Outlet.)

- The grounding prong in the plug is connected through the green wire inside the cord to the grounding system in the tool. The green wire in the cord must be the only wire connected to the tool’s grounding system and must never be attached to an electrically “live” terminal. (See 3-prong plug and Outlet.
- The tool must be plugged into an appropriate outlet, properly installed and grounded in accordance with all codes and ordinances. The plug and outlet should look like those in the preceding illustration. (See 3-prong plug and Outlet.)
Double insulated tools: tools with two-prong plugs
- Tools marked “Double Insulated” do not require grounding. They have a special double insulation system that satisfies OSHA requirements and complies with the applicable standards of Underwriters Laboratories, Inc., the Canadian Standard Association, and the National Electrical Code.
- Double insulated tools may be used in either of the 120-volt outlets shown in the preceding illustration. (See Outlets for the 2-prong plug.)

Extension cords
- Grounded tools require a three-wire extension cord. Double Insulated tools can use either a two or three-wire extension cord.
- As the distance from the supply outlet increases, you must use a heavier gauge extension cord. Using extension cords with inadequately sized wire causes a serious drop in voltage, resulting in loss of power and possible tool damage. (See table a.)
- The smaller the gauge number of the wire, the greater the capacity of the cord. For example, a 14 gauge cord can carry a higher current than a 16 gauge cord. (See table a.)
- When using more than one extension cord to make up the total length, make sure each cord contains at least the minimum wire size required. (See table a.)
- If you are using one extension cord for more than one tool, add the nameplate amperes and use the sum to determine the required minimum cord size. (See table a.)
- If you are using an extension cord outdoors, make sure it is marked with the suffix “W-A” (“W” in Canada) to indicate it is acceptable for outdoor use.
- Make sure the extension cord is properly wired and in good electrical condition. Always replace a damaged extension cord or have it repaired by a qualified electrician before using it.
- Protect the extension cords from sharp objects, excessive heat, and damp or wet areas.
| TABLE A: RECOMMENDED MINIMUM WIRE GAUGE FOR EXTENSION CORDS* (120/240 VOLT) | |||||
| NAMEPLATE AMPERES (at full load) | EXTENSION CORD LENGTH | ||||
| 25′ | 50* | 75* | 100* | 150* | |
| 0 — 2.0 | 18 | 18 | 18 | 18 | 16 |
| 2.1 — 3.4 | 18 | 18 | 18 | 16 | 14 |
| 3.5 — 5.0 | 18 | 18 | 16 | 14 | 12 |
| 5.1 — 7.0 | 18 | 16 | 14 | 12 | 12 |
| 7.1 — 12.0 | 18 | 14 | 12 | 10 | |
| 12.1 — 16.0 | 14 | 12 | 10 | ||
| 16.1 — 20.0 | 12 | 10 | |||
| * Based on limiting the line voltage drop to five volts at 150% of the rated amperes. | |||||
Symbology
![]() | Double Insulated | WARNING marking concerning Risk of Eye Injury. Wear ANSI-approved safety goggles with side shields. | |
V | Volts | Read the manual before set-up and/or use. | |
∼ | Alternating Current | ![]() | WARNING marking concerning Risk of Fire. Do not cover ventilation ducts. Keep flammable objects away. |
A | Amperes | ![]() | WARNING marking concerning Risk of Electric Shock. Properly connect the power cord to the appropriate outlet. |
| n0 xxxx/min | No Load Revolutions per Minute (RPM) | WARNING marking concerning Risk of Hearing Loss. Wear hearing protection. |
Specifications
| Electrical Rating | 120VAC / 60Hz / 15A |
| Blows Per Minute | 950 BPM |
| Chisel | 1 Bull Point (included) 1 Flat Chisel |
| Weight | 71 lb |
| Other Accessories | 1 Grease Tube 1 Carbon Brush Set 4 Hex Keys (5, 6, 8, & 12mm) |
Setup – Before use:
Read the ENTIRE IMPORTANT SAFETY INFORMATION section at the beginning of this document including all text under subheadings therein before set up or use of this product.
WARNING TO PREVENT SERIOUS INJURY FROM ACCIDENTAL OPERATION: Make sure that the trigger is in the off position and unplug the tool from its electrical outlet before performing any procedure in this section.
Note: For additional information regarding the parts listed in the following pages, refer to Parts List and Diagram on page 18.
Assembly
The only assembly required for the Breaker Hammer is the installing of the Secondary Handle (31) to the side of the Gear Cover (30).
- Slot the base of the Secondary Handle into the recessed area of the Gear Cover. See Figure A.
- Attach Secondary Handle to Gear Cover with Steel Bushings (31A) and Bolts (34).

Functions

Operating instructions
Read the ENTIRE IMPORTANT SAFETY INFORMATION section at the beginning of this document including all text under subheadings therein before set up or use of this product.
Tool Set up
WARNING TO PREVENT SERIOUS INJURY FROM ACCIDENTAL OPERATION: Make sure that the trigger is in the off position and unplug the tool from its electrical outlet before performing any procedure in this section.
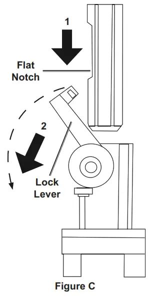
Chisels come with or without collars. Figure C shows the installation of a chisel without a collar (the included chisel is without a collar). Figure E shows the installation of a chisel with a collar.
Note: If the Chisel doesn’t slide in easily, apply grease to the loading end of the Chisel.
Mounting chisels without a collar
- Pull the Lock Lever to the side, just far enough to allow the Chisel to be inserted, as shown in Figure C.
Note: Flat Notch on Collar-less Chisel must face the Lock Lever. - Insert Chisel with the Flat Notch facing the Lock Lever.
- Slide the Chisel in as far as it will go.
- Pull the Lock Lever back until it locks the Chisel into place.
Note: The lock Lever will not lie flat against the chuck. - When the Chisel is installed, there will be approximately 1-3/4″ of play along with the Flat Notch of the shank. Physically check that the Chisel is secure before operating.
Mounting chisels with a collar
- Pull the Lock Lever open about 70-80° to the second engaging position, as shown in Figure DD.

- Insert the collared Chisel.
- Slide the Chisel in as far as it will go.

- Return the Lock Lever to its original position to lock the Chisel in place.
- Physically check that the Chisel is secure before operating. The Chisel will have approximately 1-3/4″ of play, but should not come out when pulled.
Workpiece and Work area Set up
- Designate a work area that is clean and well-lit. The work area must not allow access by children or pets to prevent distraction and injury.
- Route the power cord along a safe route to reach the work area without creating a tripping hazard or exposing the power cord to possible damage. The power cord must reach the work area with enough extra length to allow free movement while working.
- Secure loose workpieces using a vise or clamps (not included) to prevent movement while working.
- There must not be objects, such as utility lines, nearby that will present a hazard while working. If working in the ground or on a concrete slab on the earth, call a local utility company to ensure that area is clear of utility lines.
- Protect the power cord from crushing, abrasion, and scraping by broken rock or concrete.
- Keep the power cord away from moving machines.
General Operating instructions
WARNING TO PREVENT SERIOUS INJURY:
Wear ANSI-approved safety goggles, ear protection, steel-toe boots, and a dust mask during use.
Keep feet clear of Breaker Hammer.
Keep children and animals well clear of the work area.
- Check Chisel for dullness, cracks, or other damage.

Caution Dull tipped chisels can cause unnecessary chisel movement, resulting in tool wear and possible injury. Use only sharp-tipped chisels. - Clearly mark the work area.
- Make sure that the switch is in the off position, then plug the tool into an outlet on a circuit rated to 20 amps.
- Set the bit against the work area. Caution! Keep the power cord away from moving machines.
- Place one hand on the Side Handle and the other hand around the Main Handle.
- Press down on the switch.
Note: Trigger does not lock. Keep pressure on the Trigger to keep running the tool. - Push the tip forcibly down to begin striking material.
NOTICE: A running tool with no load or “empty blows” will damage the Breaker Hammer.
CAUTION! Once activated, do not press, bear down, or thrust forcibly against the work surface. Allow the Breaker Hammer’s own weight to supply the needed force.
note: If the Breaker Hammer has not been used for a long time or is being used in low temperatures, the tool may require 3-5 minutes to warm up.
Note: Carbon Brushes will wear during use. the Breaker Hammer will stop working if the Brushes are worn. This does NOT mean Breaker Hammer is malfunctioning or broken, only that the worn Brushes will need to be replaced with the included Brushes by a qualified technician. - When work is complete, release the switch. The Trigger is spring-loaded and will return to the off position automatically.
- To prevent accidents, turn off the tool and disconnect its power supply after use.
- Clean, then store the tool indoors out of children’s reach.
Maintenance and Servicing
Procedures not specifically explained in this manual must be performed only by a qualified technician.
WARNING TO PREVENT SERIOUS INJURY FROM ACCIDENTAL OPERATION: Make sure that the trigger is in the off position and unplug the tool from its electrical outlet before performing any procedure in this section.
TO PREVENT SERIOUS INJURY FROM TOOL FAILURE: Do not use damaged equipment. if abnormal noise or vibration occurs, have the problem corrected before further use.
Cleaning, Maintenance, and Lubrication
- BEFORE EACH USE inspect the general condition of the tool. Check for:
• loose hardware,
• misalignment or binding of moving parts,
• damaged cord/electrical wiring,
• dull or cracked Chisel,
• cracked or broken parts, and
• any other condition that may affect its safe operation. - AFTER USE, wipe the external surfaces of the tool with a clean cloth.
- Store in temperatures no lower than 50-60° F.
Warning! TO PREVENT SERIOUS INJURY: if the supply cord of this power tool is damaged, it must be replaced only by a qualified service technician.
NOTE: The Breaker Hammer has airtight construction, allowing long periods of use (approximately six months of regular usage) before lubrication.
Replacing carbon Brushes
NOTE: the Breaker Hammer will cease operation once carbon Brushes are worn. Check Brushes every 100 hours and replace them when necessary.
- Remove the Fan Cover (10) by loosening the Bolt (12) and Flat Washer (11). See Figure F.
- Slide Fan Cover off of Housing (1).
- Remove Brush Cap (5) from Housing.
- Remove old Carbon Brush (6).
- Insert new Carbon Brush.
- Replace Carbon Brush Cap and slide Fan Cover back over Housing.
- Replace Bolts and Flat Washers until securely fastened.

Greasing Gearbox
Note: Due to the possibility of accidental damage and/or contamination, only a qualified technician should disassemble and lubricate this.
- Loosen the four Socket Head Bolts (59) and Washers (4) that connect the Aluminum Housing (60) to the Housing (8). Disassemble the Aluminum Housing, Ram (57) and Piston (55). See Figure G.
- Clean the Aluminum Housing, Piston and Ram thoroughly, inside and out.
- Check the condition of the O-Ring (56). If the outside diameter (OD) of the O-Ring is less than the Piston’s OD, replace the O-Ring.
- Fill each of the 4 grooves inside the Aluminum Housing with 0.5 ounces of synthetic high-temperature grease.
- Slide the Ram back into the Cylinder Case and fill it with 0.5 ounces of tool oil.
- Carefully slide the Piston into the Ram, making sure that the O-Ring stays in place and is not damaged.
- Use the four Socket Head Bolts to connect the Aluminum Housing to the Housing and tighten securely.
Figure G
Troubleshooting
| Problem | Possible Causes | Likely Solutions |
| Tool will not start | 1. Cord not connected. 2.No power at outlet. 3.Tool’s thermal reset breaker tripped (if equipped). 4. Internal damage or wear. (Carton brushes or switch, for example.) | 1. Check that cord is plugged in. 2. Check power at outlet. If the outlet is unpowered, turn off the tool and check the circuit breaker. If the breaker is tripped, make sure the circuit is the right capacity for the tool and the circuit has no other loads. 3. Turn off the tool and allow it to cool. Press the reset button on the tool. 4. Have a technician service tool. |
| Tool operates slowly. | Extension cord too long or wire size too small. | Eliminate the use of extension cord. If an extension cord is needed, use a shorter/heavier gauge cord. See Extension Cords in the GROUNDING section. |
| Performance decreases overtime. | 1. Chisel dull or damaged. 2. Internal lubrication cold. 3. Carbon brushes worn or damaged. | 1. Keep cutting chisels sharp. Replace as needed. 2. Allow the tool to operate with no load for 5 minutes before use. 3. Have qualified technicians replace brushes. |
| Excessive noise or rattling. | Internal damage or wear. (Carbon brushes or bearings, for example.) | Have technician service tool. |
| Overheating. | 1. Forcing tool to work too fast. 2. Chisel dull or damaged. 3. Blocked motor housing vents. 4. Motor being strained by long or small diameter extension cord. | 1. Allow tool to work at its own rate. 2. Keep cutting chisels sharp. Replace as needed. 3. Wear ANSI-approved safety goggles and NIOSH-approved dust mask/respirator while blowing dust out of motor using compressed air. 4. Eliminate use of extension cord. If an extension cord is needed, use one with the proper diameter for its length and load. See Extension Cords in the GROUNDING section. |
PLEASE READ THE FOLLOWING CAREFULLY
THE MANUFACTURER AND/OR DISTRIBUTOR HAS PROVIDED THE PARTS LIST AND ASSEMBLY DIAGRAM IN THIS MANUAL AS A REFERENCE TOOL ONLY. NEITHER THE MANUFACTURER OR DISTRIBUTOR MAKES ANY REPRESENTATION OR WARRANTY OF ANY KIND TO THE BUYER THAT HE OR SHE IS QUALIFIED TO MAKE ANY REPAIRS TO THE PRODUCT, OR THAT HE OR SHE IS QUALIFIED TO REPLACE ANY PARTS OF THE PRODUCT. IN FACT, THE MANUFACTURER AND/OR DISTRIBUTOR EXPRESSLY STATES THAT ALL REPAIRS AND PARTS REPLACEMENTS SHOULD BE UNDERTAKEN BY CERTIFIED AND LICENSED TECHNICIANS, AND NOT BY THE BUYER. THE BUYER ASSUMES ALL RISK AND LIABILITY ARISING OUT OF HIS OR HER REPAIRS TO THE ORIGINAL PRODUCT OR REPLACEMENT PARTS THERETO OR ARISING OUT OF HIS OR HER INSTALLATION OF REPLACEMENT PARTS THERETO.
Record product’s Serial number Here:
Note: If the product has no serial number, record the month and year of purchase instead.
Note: Some parts are listed and shown for illustration purposes only, and are not available individually as replacement parts. Specify UPC 792363646086 when ordering parts.
Parts List and Diagram
Parts List
| Part | Description | Qty |
| 1 | Housing | 1 |
| 2 | Side Cover | 1 |
| 3 | Hex Socket Bolt M10×35 | 4 |
| 4 | Washer | 14 |
| 5 | Brush Cap | 2 |
| 6 | Carbon Brush | 2 |
| 7 | Brush Holder | 2 |
| 8 | Insulation Washer | 2 |
| 9 | Cap Rubber | 2 |
| 10 | Fan Cover | 1 |
| 11 | Ø6ר10.5 Flat Washer | 4 |
| 12 | Hex Socket Bolt M6×20 | 4 |
| 13 | Ø32 Urethane Washer | 1 |
| 14 | Ball Bearing Nsk 6201 Ddu | 2 |
| 15 | Stator Ass’y | 1 |
| 18 | Stator 110-120V | 1 |
| 20 | Tapping Screw St4.8×85 | 2 |
| 21 | Armature 110-120V | 1 |
| 22 | Inner Cover | 1 |
| 22A | O-Ring Ø143ר2 | 1 |
| 23 | Hex Socket Bolt M10×30 | 2 |
| 24 | Ball Bearing 6203 2Rs C3 | 1 |
| 25 | Bearing Bracket | 1 |
| 26 | Hex Socket Bolt M5×12 | 3 |
| 27 | Needle Bearing Bk1312 | 1 |
| 28 | Counter Gear | 1 |
| 30 | Gear Cover | 1 |
| 31 | Secondary Handle | 1 |
| 31A | Secondary Handle Steel Bushing | 4 |
| 34 | Hex Socket Bolt M8×30 | 4 |
| 35 | Hex Socket Bolt M10×55 | 4 |
| 36 | Ball Bearing 6204 2Rz/Zzc2 | 1 |
| 37 | Big Gear Partition Washer | 1 |
| 38 | Final Gear | 1 |
| 39 | Distance Ring | 1 |
| 40 | Pin Ø8×14 | 2 |
| 41 | Ball Bearing 6305 Rs | 1 |
| 43 | Bearing Cover | 1 |
| 44 | Key 4×18 | 2 |
| 45 | Crank Shaft | 1 |
| 46 | Crank Shaft Ring | 1 |
| 47 | O Ring Ø37ר2 | 1 |
| 48 | Oil Tank Cover | 1 |
| 49 | Hex Socket Bolt M10×1.25×35 | 1 |
| 50 | Crank Washer | 1 |
| 51 | Needle Bearing Nk2220 | 1 |
| 52 | Connecting Rod Ass’y | 1 |
| 53 | Piston Pin | 1 |
| 54 | L Ring | 1 |
| 55 | Piston | 1 |
| 56 | O-Ring Ø46ר5.3 | 1 |
| 57 | Cylinder | 1 |
| 58 | O-Ring Ø82ר2 | 1 |
| 59 | Hex Socket Bolt M10×45 (12.9) | 4 |
| 60 | Aluminum Housing | 1 |
| 61 | Washer | 2 |
| 62 | Big Urethane Ring | 1 |
| 63 | Mouth | 1 |
| 65 | Locking Ring | 1 |
| 66 | Small Urethane Ring | 1 |
| 67 | Shank Sleeve | 1 |
| 68 | Airproof Ring | 1 |
| 69 | O-Ring Ø78ר3 | 1 |
| 70 | Impact Hammer | 1 |
| 71 | O-Ring Ø55ר5.3 | 1 |
| 72 | O-Ring Ø90ר2 | 1 |
| 73 | Hex Socket Bolt M14×40 (12.9) | 4 |
| 74 | Chisel Chuck | 1 |
| 75 | Front Cover | 1 |
| 76 | Clamp Ring | 2 |
| 77 | Locking Lever | 1 |
| 78 | Spring Column Pin Ø8×55 | 2 |
| 80 | Main Handle Cover | 1 |
| 81 | Trigger Spring | 1 |
| 82 | Trigger | 1 |
| 86 | Main Handle | 1 |
| 88 | Wire Cover | 1 |
| 89 | Screw St4.2×18 | 6 |
| 90 | Hex Socket Bolt M6×15 | 8 |
| 91 | Ø6ר18 Flat Washer | 2 |
| 92 | Handle Support | 1 |
| 93 | Ø6 Spring Washer | 2 |
| 96 | Switch | 1 |
| 97 | Cord Clip | 1 |
| 98 | Spring Pole | 4 |
| 99 | Cord Armor | 1 |
| 100 | Cord | 1 |
| 108 | Oil Bottle | 1 |
| 109 | Fan Guide | 1 |
Assembly Diagram

Limited 90 Day Warranty
Harbor Freight Tools Co. makes every effort to assure that its products meet high quality and durability standards, and warrants to the original purchaser that this product is free from defects in materials and workmanship for the period of 90 days from the date of purchase. This warranty does not apply to damage due directly or indirectly, to misuse, abuse, negligence or accidents, repairs or alterations outside our facilities, criminal activity, improper installation, normal wear and tear, or to lack of maintenance. We shall in no event be liable for death, injuries to persons or property, or for incidental, contingent, special or consequential damages arising from the use of our product. Some states do not allow the exclusion or limitation of incidental or consequential damages, so the above limitation of exclusion may not apply to you. THIS WARRANTY IS EXPRESSLY IN LIEU OF ALL OTHER WARRANTIES, EXPRESS OR IMPLIED, INCLUDING THE WARRANTIES OF MERCHANTABILITY AND FITNESS.
To take advantage of this warranty, the product or part must be returned to us with transportation charges prepaid. Proof of purchase date and an explanation of the complaint must accompany the merchandise.
If our inspection verifies the defect, we will either repair or replace the product at our election or we may elect to refund the purchase price if we cannot readily and quickly provide you with a replacement. We will return repaired products at our expense, but if we determine there is no defect, or that the defect resulted from causes not within the scope of our warranty, then you must bear the cost of returning the product. This warranty gives you specific legal rights and you may also have other rights which vary from state to state.

For technical questions, please call 1-888-866-5797.
26541 agoura road • calabasas, ca 91302 • 1-888-866-5797





Note: Flat Notch on Collar-less Chisel must face the Lock Lever.


Warning! TO PREVENT SERIOUS INJURY: if the supply cord of this power tool is damaged, it must be replaced only by a qualified service technician.


















