
dahua ARD324-W2, ARD324-W2S Wireless Door Detector Plus User Manual

Foreword
This manual introduces the installation, functions and operations of the Wireless Door Detector Plus (hereinafter referred to as the “door detector plus”). Read carefully before using the device, and keep the manual safe for future reference.
Safety Instructions
The following categorized signs and words with defined meaning might appear in the Manual.

Revision History

Revision History
As the device user or data controller, you might collect the personal data of others such as their face, fingerprints, and license plate number. You need to be in compliance with your local privacy protection laws and regulations to protect the legitimate rights and interests of other people by implementing measures which include but are not limited: Providing clear and visible identification to inform people of the existence of the surveillance area and provide required contact information.
About the Manual
- The manual is for reference only. Slight differences might be found between the manual and the product.
- We are not liable for losses incurred due to operating the product in ways that are not in compliance with the manual.
- The manual will be updated according to the latest laws and regulations of related jurisdictions.
For detailed information, see the paper user’s manual, use our CD-ROM, scan the QR code or visit our official website. The manual is for reference only. Slight differences might be found between the electronic version and the paper version. - All designs and software are subject to change without prior written notice. Product updates might result in some differences appearing between the actual product and the manual. Please contact customer service for the latest program and supplementary documentation.
- There might be errors in the print or deviations in the description of the functions, operations and technical data. If there is any doubt or dispute, we reserve the right of final explanation.
- Upgrade the reader software or try other mainstream reader software if the manual (in PDF format) cannot be opened.
- All trademarks, registered trademarks and company names in the manual are properties of their respective owners.
- Please visit our website, contact the supplier or customer service if any problems occur while using the device.
- If there is any uncertainty or controversy, we reserve the right of final explanation.
Important Safeguards and Warnings
This section introduces content covering the proper handling of the door detector plus, hazard prevention, and prevention of property damage. Read carefully before using the door detector, and comply with the guidelines when using it.
Operation Requirements
![]()
- Make sure that the power supply of the device works properly before use.
- Do not pull out the power cable of the device while it is powered on.
- Only use the device within the rated power range.
- Transport, use and store the device under allowed humidity and temperature conditions.
- Prevent liquids from splashing or dripping on the device. Make sure that there are no objects filled with liquid on top of the device to avoid liquids flowing into it.
- Do not disassemble the device.
Installation Requirements
WARNING
- Connect the device to the adapter before power on.
- Strictly abide by local electrical safety standards, and make sure that the voltage in the area is steady and conforms to the power requirements of the device.
- Do not connect the device to more than one power supply. Otherwise, the device might become damaged.
Observe all safety procedures and wear required protective equipment provided for your use while working at heights.- Do not expose the device to direct sunlight or heat sources.
- Do not install the device in humid, dusty or smoky places.
- Install the device in a well-ventilated place, and do not block the ventilator of the device.
- Use the power adapter or case power supply provided by the device manufacturer.
- The power supply must conform to the requirements of ES1 in IEC 62368-1 standard and be no higher than PS2. Note that the power supply requirements are subject to the device label.
- Connect class I electrical appliances to a power socket with protective earthing.
1. Introduction
1.1 Overview
Wireless Door Detector Plus detects the status of doors and windows, recognizing when they are opening, shocking and tilting. It can connect with wired detectors in one of 3 ways: normally open, normally closed, and pulse. Easy to install and use, all the configurations can be done through the app.
1.2 Technical Specifications
This section contains technical specifications of the door detector plus. Please refer to the ones that correspond with your model.
Table 1-1 Technical specifications




1.3 Detection Performance
1.3.1 Wide Gap
An alarm will be triggered when the gap between the door detector plus and the magnetic stick is wider than the distances shown in the table below.
Figure 1-1 Detection performance

Table 1-2 Detection performance description

- I here means intrusion signal; S here means stand by signal.
- Far means that the door detector plus is not close to the magnetic stick; Close means that the door detector plus is very close to the magnetic stick.
1.3.2 Shock
The door detector plus can alarm according to the detected shock intensity. An alarm will be triggered when the shock intensity exceeds the set sensitivity threshold.
After enabling Ignore Simple Crash Sound, if the interval between two shocks is less than 1 second, the alarm will be triggered. Otherwise, no alarm will be triggered.
1.3.3 Tilt
An alarm will be triggered if the door detector plus is tilted exceeding the set Tilted Angle, and the tilted state is longer than the Delay Tilt Alarm. Otherwise, no alarm will be triggered.
Figure 1-2 Tilted angle

Figure 1-3 Tilt diagram

2. Checklist
Check the package according to the following checklist. If you find device damage or any loss, contact the after-sales service.
Figure 2-1 Checklist

Table 2-1 Checklist

3. Design
3.1 Appearance
Figure 3-1 Appearance

Table 3-1 Structure

3.2 Dimensions
Figure 3-2 Dimensions (mm [inch])

4. Adding the Door Detector Plus to the Hub
Before you connect door detector plus to the hub, install the DMSS app to your phone. This manual uses iOS as an example.
- Make sure that the version of the DMSS app is 1.99.400 or later, and the hub is V1.001.00000005.0 or later.
- Make sure that you have already created an account, and added the hub to DMSS.
- Make sure that the hub has a stable internet connection.
- Make sure that the hub is disarmed.
Step 1 Go to the hub screen, and then tap Peripheral to add the door detector.
Step 2 Tap “+” to scan the QR code at the bottom of the door detector, and then tap Next.
Step 3 Tap Next after the door detector plus has been found.
Step 4 Follow the on-screen instructions and switch the door detector plus to on, and then tap
Next.
Step 5 Wait for the pairing.
Step 6 Customize the name of the door detector plus, and select the area, and then tap Completed.
4.1 Installing the Door Detector Plus
Prior to installation, add the door detector plus to the hub and check the signal strength of the
installation location. We recommend you install the door detector plus in a place with a signal
strength of at least 2 bars.
We recommend you use expansion screws when installing the door detector plus.
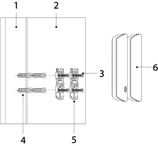
Step 1 Drill 4 holes in door 1 and door 2 according to the hole positions of the attachment panel.
Step 2 Put the expansion bolts into the holes.
Step 3 Align the screw holes on the plate with the expansion bolts.
Step 4 Secure the attachment panels with ST3 × 18 mm self-tapping screws.
Step 5 Put the door detector plus into the attachment panel.
Figure 4-1 Installation

Table 4-1 Installation items

4.2 Replacing the Battery
The battery has been installed when leaving the factory, and the door detector plus can be used directly. If the battery is dead, you need to replace the battery.
Step 1 Open the back cover of the door detector plus.
Figure 4-2 Open the back cover

Step 2 Replace the battery.
When replacing the battery, make sure that the side marked with “+” faces the back cover
of the devices.
Figure 4-3 Replace the battery

Step 3 Close the back cover of the door detector plus.
Figure 4-4 Close the back cover

5. Wireless Door Detector Plus Configuration
You can view and edit general information of the door detector plus.
5.1 Viewing Status




5.2 Configuring the Door Detector Plus





Appendix 1 Cybersecurity Recommendations
Cybersecurity is more than just a buzzword: it’s something that pertains to every device that is
connected to the internet. IP video surveillance is not immune to cyber risks, but taking basic steps toward protecting and strengthening networks and networked appliances will make them less susceptible to attacks. Below are some tips and recommendations from Dahua on how to create a more secured security system.
Mandatory actions to be taken for basic device network security:
1. Use Strong Passwords
Please refer to the following suggestions to set passwords:
- The length should not be less than 8 characters.
- Include at least two types of characters; character types include upper and lower case letters, numbers and symbols.
- Do not contain the account name or the account name in reverse order.
- Do not use continuous characters, such as 123, abc, etc.
- Do not use overlapped characters, such as 111, aaa, etc.
2. Update Firmware and Client Software in Time
- According to the standard procedure in Tech-industry, we recommend to keep your device (such as NVR, DVR, IP camera, etc.) firmware up-to-date to ensure the system is equipped with the latest security patches and fixes. When the device is connected to the public network, it is recommended to enable the“auto-check for updates” function to obtain timely information of firmware updates released by the manufacturer.
- We suggest that you download and use the latest version of client software.
“Nice to have” recommendations to improve your device network security:
- Physical Protection
We suggest that you perform physical protection to device, especially storage devices. For
example, place the device in a special computer room and cabinet, and implement well-done access control permission and key management to prevent unauthorized personnel from carrying out physical contacts such as damaging hardware, unauthorized connection of removable device (such as USB flash disk, serial port), etc. - Change Passwords Regularly
We suggest that you change passwords regularly to reduce the risk of being guessed or cracked. - Set and Update Passwords Reset Information Timely
The device supports password reset function. Please set up related information for password reset in time, including the end user’s mailbox and password protection questions. If the information changes, please modify it in time. When setting password protection questions, it is suggested not to use those that can be easily guessed. - Enable Account Lock
The account lock feature is enabled by default, and we recommend you to keep it on to
guarantee the account security. If an attacker attempts to log in with the wrong password several times, the corresponding account and the source IP address will be locked. - Change Default HTTP and Other Service Ports
We suggest you to change default HTTP and other service ports into any set of numbers between 1024–65535, reducing the risk of outsiders being able to guess which ports you are using. - Enable HTTPS
We suggest you to enable HTTPS, so that you visit Web service through a secure communication channel. - MAC Address Binding
We recommend you to bind the IP and MAC address of the gateway to the device, thus reducing the risk of ARP spoofing. - Assign Accounts and Privileges Reasonably
According to business and management requirements, reasonably add users and assign a
minimum set of permissions to them. - Disable Unnecessary Services and Choose Secure Modes
If not needed, it is recommended to turn off some services such as SNMP, SMTP, UPnP, etc., to reduce risks.
If necessary, it is highly recommended that you use safe modes, including but not limited to the following services:
● SNMP: Choose SNMP v3, and set up strong encryption passwords and authentication
passwords.
● SMTP: Choose TLS to access mailbox server.
● FTP: Choose SFTP, and set up strong passwords.
● AP hotspot: Choose WPA2-PSK encryption mode, and set up strong passwords. - Audio and Video Encrypted Transmission
If your audio and video data contents are very important or sensitive, we recommend that you use encrypted transmission function, to reduce the risk of audio and video data being stolen during transmission.
Reminder: encrypted transmission will cause some loss in transmission efficiency. - Secure Auditing
● Check online users: we suggest that you check online users regularly to see if the device is logged in without authorization.
● Check device log: By viewing the logs, you can know the IP addresses that were used to log in to your devices and their key operations. - Network Log
Due to the limited storage capacity of the device, the stored log is limited. If you need to save the log for a long time, it is recommended that you enable the network log function to ensure that the critical logs are synchronized to the network log server for tracing. - Construct a Safe Network Environment
In order to better ensure the safety of device and reduce potential cyber risks, we recommend:
● Disable the port mapping function of the router to avoid direct access to the intranet devices from external network.
● The network should be partitioned and isolated according to the actual network needs. If there are no communication requirements between two sub networks, it is suggested to use VLAN, network GAP and other technologies to partition the network, so as to achieve the network isolation effect.
● Establish the 802.1x access authentication system to reduce the risk of unauthorized access to private networks.
● Enable IP/MAC address filtering function to limit the range of hosts allowed to access the device.
More information
Please visit Dahua official website security emergency response center for security announcements and the latest security recommendations.
ZHEJIANG DAHUA VISION TECHNOLOGY CO., LTD.
Address: No. 1399, Binxing Road, Binjiang District, Hangzhou, P. R. China I Website: www.dahuasecurity.com I Postcode: 310053
Email: [email protected] I Tel: +86-571-87688888 28933188
Read More About This Manual & Download PDF:


















