![]()
40/20 Meter
Fan Dipole Antenna
(CHA 40/20 FD)
Operator’s Manual
Nevada – USA
WWW.CHAMELEONANTENNA.COM

VERSATILE – DEPENDABLE – STEALTH – BUILT TO LAST
WARNING! Never mount this, or any other antenna near power lines or utility wires! Any materials: ladders, ropes, or feedlines that contact power lines can conduct voltages that kill. Never trust insulation to protect you. Stay away from all power lines.
WARNING! Never operate this antenna where people could be subjected to high levels of RF exposure, especially above 10 watts or above 14 MHz. Never use this antenna near RF sensitive medical devices, such as pacemakers.
All information on this product and the product itself is the property of and is proprietary to Chameleon Antenna™. Specifications are subject to change without prior notice. Photographs and diagrams in this manual may vary slightly from the current product due to material substitutions and design changes that do not significantly affect the form, fit, or function of the product.
Introduction
Thank you for purchasing and using the Chameleon Antenna™ 40 / 20 Meter Fan Dipole antenna (CHA 40/20 FD). The Fan Dipole antenna, see figure (1) and plate (1), is a High Frequency (HF) antenna designed to provide a field-tunable resonant portable antenna for two of the most popular amateur radio bands. This antenna will provide long-range communication on both the 7 and 14 MHz (40 and 20m) bands utilizing skywave propagation and short-range communication using Near Vertical Incidence Skywave (NVIS) propagation. Due to the antenna’s small size and rugged construction, it is ideal for temporary setup at a campsite or emergency shelter and durable enough for semi-permanent installation at a base station – even RV sites or dense suburban housing with small yards should be able to accommodate this antenna. Without an antenna tuner, the Fan Dipole can operate on the 40 and 20m amateur radio bands. A wide-range antenna tuner will also enable operation on the 17, 15, 12, and 10m bands.

Figure 1. Fan Dipole Antenna.
The Fan Dipole can easily be configured in either a Flat-Top (horizontal dipole) or Inverted “V” configuration or one band as a Flat-Top and the other as an Inverted “V” for maximum installation and operating flexibility.

Plate (1). Fan Dipole Antenna.
An antenna tuner is not required on the 40 or 20 meter amateur radio bands, but is required for operation on other bands.
The Fan Dipole antenna is comprised of a weather-resistant BALUN center transformer, a 7 MHz dipole, and a 14 MHz dipole. Due to the Fan Dipole design, both resonant dipoles are fed from a single 50 Ohm coaxial cable – simplifying connection to your radio.
Antennas built by Chameleon Antenna™ are versatile, dependable, stealthy, and built to last. Please read this operator’s manual so you may obtain the maximum utility from your 40 / 20 Meter Fan Dipole antenna.
HF Propagation
HF radio provides relatively inexpensive and reliable local, regional, national, and international voice and data communication capability. It is especially suitable for undeveloped areas where normal telecommunications are not available, too costly or scarce, or where the commercial telecommunications infrastructure has been damaged by a natural disaster or military conflict.
Although HF radio is a reasonably reliable method of communication, HF radio waves propagate through a complex and constantly changing environment and are affected by weather, terrain, latitude, time of day, season, and the 11-year solar cycle. A detailed explanation of the theory of HF radio wave propagation is beyond the scope of this operator’s manual, but an understanding of the basic principles will help the operator decide what frequency and antenna configuration will support their communication requirements.
HF radio waves propagate from the transmitting antenna to the receiving antenna using two methods: ground waves and sky waves.
Ground waves are composed of direct waves and surface waves. Direct waves travel directly from the transmitting antenna to the receiving antenna when they are within the radio line-of-sight. Typically, this distance is 8 to 14 miles for field stations. Surface waves follow the curvature of the Earth beyond the radio horizon. They are usable, during the day and under optimal conditions, up to around 90 miles, see table (1).
Low power, horizontal antenna polarization, rugged or urban terrain, dense foliage, or dry soil conditions can reduce the range very significantly. The U.S. Army found that in the dense jungles of Vietnam, the range for ground waves was sometimes less than one mile.
Sky waves are the primary method of HF radio wave propagation. HF radio waves on a frequency below the critical frequency (found by an ionosonde) are reflected off one of the layers of the ionosphere and back to Earth between 300 and 2,500 miles, depending upon the frequency and ionospheric conditions.
| Frequency | Distance | Frequency | Distance |
| 2 MHz | 88 miles | 14 MHz | 33 miles |
| 4 MHz | 62 miles | 18MHz | 29 miles |
| 7 MHz | 47 miles | 24 MHz | 25 miles |
| 10 MHz | 39 miles | 30 MHz | 23 miles |
Table 1. Maximum Surface Wave Range by Frequency.
HF radio waves can then be reflected from the Earth to the ionosphere again during multi-hop propagation for longer range communication. The most important thing for the operator to understand about HF radio wave propagation is the concept of Maximum Usable Frequency (MUF), Lowest Usable Frequency (LUF), and Optimal Working Frequency (OWF). The MUF is the frequency for which successful communications between two points is predicted on 50% of the days of in a month. The LUF is the frequency below which successful communications are lost due to ionospheric loses. The OWF, which is somewhere between the LUF and around 80% of the MUF, is the range of frequencies which can be used for reliable communication. If the LUF is above the MUF, HF sky wave propagation is unlikely to occur.
The HF part of the Radio Frequency (RF) spectrum is usually filled with communications activity and an experienced operator can often determine where the MUF is, and with less certainty, the LUF by listening to where activity ends. The operator can then pick a frequency in the OWF and attempt to establish contact. Another method is using HF propagation prediction software, such as the Voice of America Coverage Analysis Program (VOACAP), which is available at no cost to download or use online at www.voacap.com. The operator enters the location of the two stations and the program show a wheel with the predicted percentage of success based on frequency and time. ALE, which is the standard for interoperable HF communications, is an automated method of finding a frequency in the OWF and establishing and maintaining a communications link.
Even under optimal conditions, there is a gap between where ground waves end (around 40 to 90 miles) and the sky wave returns to Earth on the first hop (around 300 miles). NVIS propagation can be used to fill this gap. The frequency selected must be below the critical frequency, so NVIS is can normally only be used on frequencies from around 2 to 10 MHz. Frequencies of 2 – 4 MHz are typical at night and 4 – 8 MHz during the day.
Parts of the Antenna
The Fan Dipole antenna is comprised of the following components, see plate (2):


Plate 2. Fan dipole Components.
a. BALUN. The BALUN (BALanced to UNbalanced) center transformer is used to match the antenna and coaxial cable, preventing feedline radiation. The BALUN is also used as the mechanical and electrical center attachment points for the antenna.
b. Top Eyebolt. The Top Eyebolt is located on top of the BALUN and is used as the mechanical attachment points for the Antenna Wires and to suspend the center of the antenna.
c. Antenna Connection. The Antenna Connections are located on the sides of the BALUN and are used for electrical connection of the Antenna Wires.
d. Coaxial Cable Connection. The Coaxial Cable Connection is located on the bottom of the BALUN. It is a UHF Socket (SO-239) and is used to connect the coaxial cable to the antenna.
e. Antenna Wire. The Fan Dipole antenna consists of four Antenna Wires. Each are one leg of a dipole. The two 7 MHz legs are 33 feet in length and the 14 MHz legs are 17 feet in length.
f. Spade Lug. The Spade Lugs are located at the center end of the Antenna Wires and are used to electrically connect the Antenna Wires to the BALUN.
g. Insulator. The Insulators are located at each end of the Antenna Wire. They are used to electrically isolate and mechanical attach the Antenna Wires.
h. Carabiner. The two Carabiners are used to mechanically attach the center end of the Antenna Wires to the BALUN, providing strain relief.
i. Line Winder. The Line Winder is used to store the Antenna Wires and enables rapid deployment and recovery of the Fan Dipole antenna.
j. Paracord. (not supplied) Four 25-foot lengths of nylon kernmantle line, “Paracord”, are recommended to attach the ends of the Antenna Wires to Tent Stakes or other supports (such as trees or fence posts) enabling installation versatility.
k. Coaxial Cable. (not supplied) The Coaxial Cable is used to connect the Fan Dipole to the Radio Set. The Coaxial Cable must have a 50 Ohm impedance and UHF Plugs (PL-259) on each end.
l. Mast. (not supplied) Installation of this antenna requires a Mast or other fixed vertical support (such as a tree) around 20 feet in height near the center of where the antenna will be located. The Mast may be made from any sufficiently rigid material.
m. Tent Stake. (not supplied) Four Tent Stakes are recommended to attach the ends of the Antenna Wires to the ground when using the Inverted “V” configuration.
n. Bongo Ties. (supplied, but not shown) Four handy elastic tie wraps are included to wrap around the Line Winders for use in field tuning the antenna.
Antenna Installation
The Chameleon Antenna™ 40/20 Meter Fan Dipole antenna can be deployed as a Flat-Top (horizontal dipole) or Inverted “V” configuration. An operationally useful configuration would be to install the 40m antenna as a Flat-Top at a height of around 15 feet to maximize NVIS propagation and the 20m antenna as an Inverted “V” to maximize long distance skywave propagation. The instructions below assume both antennas will be installed as an Inverted “V”, which is the easiest configuration for portable operation since it requires only one center support.
Refer to plate (2) for the following steps. Note that plate (3) only shows one side of the dipole antenna connected to the BALUN to simplify the detail shown in the photograph.
1. Attach a Carabiner (h) to the Insulator (g) at the center end (the end with the Spade Lug), of one of the 7 MHz Antenna Wires (e).
2. Attach the Carabiner to the Top Eyebolt (b).
3. Attach the Insulator at the center end of one of the 14 MHz Antenna Wires to the Carabiner from the previous step.
4. Connect both of the Spade Lugs (f) from steps (1) and (2) to the same Antenna Connection (c) on one side of the BALUN (a) by placing a spade lug around the bolt on each side of the washer, forming a “V”, as shown in plate (3). Tighten the wing nut finger tight.
5. Using a Bowline or similar knot, attach the end of one of the lengths of Paracord (j) to the end Insulator on one of the Antenna Wires, as shown in plate (4). Repeat for the other Antenna wire.

Plate 3. Fan Dipole Center Connections.
6. Attach a Carabiner (h) to the Insulator (g) at the center end of the other 7 MHz Antenna Wire (e).
7. Attach the Carabiner to the Top Eyebolt (b).

Plate 4. Paracord Attachment.
8. Attach the Insulator at the center end of one of the other 14 MHz Antenna Wire to the same Carabiner from the previous step.
9. Connect both of the Spade Lugs from steps (8) and (9) to the same Antenna Connection (c) on the other side of the BALUN (a) by placing a spade lug around the bolt on each side of the washer, forming a “V”, as shown in plate (3). Tighten the wing nut finger tight.
10. Using a Bowline or similar knot, attach the end of one of the lengths of Paracord (i) to the end Insulator on one of the Antenna Wires, as shown in plate (4). Repeat for the other Antenna wire.
11. Connect the Coaxial Cable to the Coaxial Cable Connection (d) on the bottom of the BALUN.
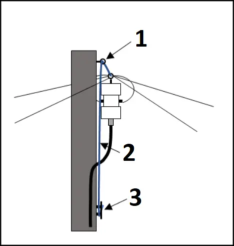
12. Raise the BALUN to near the top of the Mast (k) or other support. Figure (2) show a typical method of suspending the BALUN using an eyebolt, suspension line, and cleat. Mast and mast hardware are not included. Other methods of suspension can be used.
When tightening the wires in the followings steps, the wires should have very little sag – but should not be taut. Also, be sure the wires are not tangled with each other at the top of the BALUN.
13. Pull the 7 MHz Antenna Wire until it is fully extended and near the desired end location.
14. Drive a Tent Stake (m) into the ground around three feet past the end of the Antenna Wire. Attach the Paracord from the end of the Antenna Wire to the Tent Stake using a round turn and two half-hitches or similar knot.
15. Pull the 14 MHz Antenna Wire until it is fully extended and perpendicular to the 7 MHz Antenna Wire from step (13).

- Eyebolt near top of Mast
- Suspension Line
- Cleat
Figure 2. Typical BALUN Suspension Method.
16. Drive a Tent Stake into the ground around 14 feet past the end of the Antenna Wire. Attach the Paracord at the end of the Antenna Wire to the Tent Stake using a round turn and two half-hitches or similar knot.
17. Pull the other 7 MHz Antenna Wire until it is fully extended in the opposite direction from the first 7 MHz Antenna Wire.
18. Drive a Tent Stake into the ground around three feet past the end of the Antenna Wire. Attach the Paracord from the end of the Antenna Wire to the Tent Stake using a round turn and two half-hitches or similar knot.
19. Pull the other 14 MHz Antenna Wire until it is fully extended in the opposite direction from the first 14 MHz Antenna Wire.
20. Drive a Tent Stake into the ground around 14 feet past the end of the Antenna Wire. Attach the Paracord at the end of the Antenna Wire to the Tent Stake using a round turn and two half-hitches or similar knot.
The four legs of the Fan Dipole will form an “X”, which minimizes interactions between the antenna legs.
21. Connect the Coaxial Cable to the Radio Set.
22. Perform Field Tuning Procedure.
Field Tuning Procedure
The Chameleon Antenna™ 40 / 20 Meter Fan Dipole antenna was designed to be able to be used over a wide frequency range and installed in variety of ways in the field – all of which affect the resonant frequency of the antenna. Use this simple field tuning procedure to quickly and easily adjust the resonant frequency for each dipole. Start with the 40m dipole and then do the 20m dipole.
1. Measure and notate the Standing Wave Ratio (SWR) of the dipole at the lowest, middle, and highest frequencies in the band or sub-band on which you intend to transmit. One of three following situations will occur. Note: When the SWR is 2.0 or less on all three measurements, it is satisfactory, and you can stop the tuning procedure.
1st CASE: The values for SWR increase on all measurements of the lowest, middle, and highest frequencies, see figure (3). In this case, the resonant frequency is too low, which means the antenna is too long. This is the mostly likely case when the Antenna Wires are fully extended. To reduce the length of the dipole, roll up wire from the end of each Antenna Wire (e) onto the attached Line Winder (i). A rule-of-thumb is that each half turn made on the Line Winder will increase the resonant frequency of the 40m dipole by around 50 KHz and the 20m dipole by around 200 KHz, giving you a coarse method of resonant frequency adjustment.
In this example, the antenna is resonant below 7,000 KHz, so if you wanted the antenna to resonate at 7,150 KHZ, you can say that the antenna is resonating at least 200 KHz too low. Using our rule-of-thumb from above, you would make four half-turns on the Line Winder.

Figure 3. 1st Case – Increasing SWR by frequency.
2nd CASE: The values for SWR decrease on all measurements of the lowest, middle, and highest frequencies, see figure (4). In this case, the resonant frequency is too high, which means the antenna is too short. To increase the length of the dipole, unroll wire from the Line Winder (i) at the end of each Antenna Wire (e) of the dipole. A rule-of-thumb is that each half turn taken from the Line Winder will decrease the resonant frequency of the 40m dipole by around 50 KHz and the 20m dipole by around 200 KHz, giving you a coarse method of resonant frequency adjustment. If there are no turns left on the Line Winder, the resonant frequency of the dipole antenna cannot be further lowered.
In this example, the antenna is resonant near 7,300 KHz, so if you wanted the antenna to resonate at 7,150 KHZ, you can say that the antenna is resonating close to 150 KHz too low. Using our rule-of-thumb from above, you would take three half-turns off the Line Winder.

Figure 4. 2nd Case – Decreasing SWR by frequency.
3rd CASE: The SWR value for the middle frequency is lower than the SWR values for the lowest and highest frequencies, see figure (5). In this case, the resonant frequency is inside your band. If the SWR value for the lowest frequency is lower than the one for the highest frequency, then the antenna is slightly too long and you need to add more turns on the Line Winders (i). Conversely, if the SWR value for the highest frequency is lower than the one for the lowest frequency, then the antenna is slightly too short and you need to take turns off the Line Winders. A rule-of-thumb is that each half turn made on the Line Winder will increase and each half turn taken from the Line Winder will decrease the resonant frequency of the 40m dipole by around 50 KHz and the 20m dipole by around 200 KHz, giving you a coarse method of resonant frequency adjustment.
In this example, the antenna is resonant between 7,000 and 7,150 KHz, so the antenna is slightly long if you want the antenna to resonate at 7,150 KHz. The spread between 7,000 and 7,150 KHz is 150 KHz and, using our rule-of-thumb from above, that is three half turns on the Line Winders – leaving us with the choice to add one or two half turns on the Line Winders. Since the SWR on 7,150 KHz is lower than on 7,000 KHz, we should add just one half turn on the Line Winders to increase the resonant frequency of the dipole to around 7,150 KHz. Some trial-and-error may be necessary, but remember as long as the SWR is 2.0 or less across the intended band, it is good enough.

Figure 5. 3rd Case – Antenna is Resonant in Frequency Band.
2. Be sure the Line Winder is at the end of the Antenna Wire.
3. Take or make the necessary half turns on the Line Winder. Plate (5) show how to measure and roll up each half turn of wire.
4. Secure the wire turns with a Bongo Tie (n) as show in plate (5).
5. Restart the tuning procedure from step (1).

Plate 5. 1/2 Tuning Wrap.
Recovery Procedure
To recover the Fan Dipole antenna, perform the following steps:
- Disconnect the Coaxial Cable from the Radio Set.
- Lower the BALUN.
- Disconnect the Coaxial Cable from the BALUN.
- Carefully roll (do not twist) the Coaxial Cable.
- Disconnect the Antenna Wires from the BALUN.
- Untie the Paracord from the Tent Stakes.
- Pull the Tent Stakes from the ground and place them next to the Coaxial Cable.
- Wind the Antenna Wires onto the Line Winders.
- Remove dirt from antenna components and inspect them for signs of wear.
- Store components together; ready for next antenna deployment.
Troubleshooting
Most problems experienced when using the Fan Dipole Antenna are likely to be caused by failures in the Coaxial Cable or Antenna Wire connections. Perform the following steps to troubleshoot problems with the Fan Dipole Antenna.
- Connect a Standing Wave Ratio (SWR) Power Meter and check the SWR on the lowest and highest frequencies of both 40 and 20m.
- If the SWR is greater than 8.0 on the four frequencies measured in the previous step, ensure the Coaxial Cable UHF Plugs (PL-259) are securely tightened to the UHF Sockets of the Radio Set and BALUN. Recheck SWR. SWR readings lower than 8.0 on some frequencies indicate a tuning issue – perform the Field Tuning procedure.
- Check the Antenna Wire Spade Lug connections on the sides of the BALUN to make sure they are tightly connected and free from corrosion. Recheck SWR.
- Check for an open in the coaxial cable by temporarily placing the alligator clip from one side of a jumper wire on the outside of the UHF-Plug (PL-259) and the alligator clip on the other side of the jumper wire on the center of the UHF Plug. At the other end of the coaxial cable place, one lead from a Multi-Meter on the outside of the UHF Plug (PL-259) and the other lead on the center of the UHF Plug. If the meter reads greater than 0 (zero) Ohms (within the accuracy limits of the instrument), replace the coaxial cable.
- Inspect the entire length of coaxial cable and look for damaged cable (exposed shield material or pinched/ flattened cable).
- Due to the construction of the BALUN, it cannot be tested using a Multi-Meter as it will read as a DC short. This is normal and does not indicate a problem with the BALUN.
- If still not operating correctly, contact Chameleon Antenna for technical support:
[email protected].
Please explain the problem and the steps you have already taken to troubleshoot the problem.
Accessories
The following accessories are available for purchase from Chameleon Antenna™. Please contact us at [email protected] for current prices and availability.
- Coaxial Cable. A 50-foot length of RG-58 coaxial cable with an integrated RF choke is available for purchase.
Specifications
- Frequency: 7 and 14 MHz Amateur Radio Service frequencies.
- SWR: Field tunable for resonance, 2.0 or less over a 300 KHz bandwidth, see figures (6) and (7).
- Power Handling: 150 Watts.
- Space Required: An area 54 feet in length and 40 feet in width and have, or be able to accommodate, a 20-foot mast or other vertical support near the center of the area.
- RF Connection: UHF Socket (SO-239).
- Installation Time and Personnel Resources: Approximately 1 Hour, two personnel.
- Far Field plots for the Tactical Delta Loop antenna configurations are shown in figures (8) and (9)

Figure 6. 40m Band Measured SWR.

Figure 7. 20m Band Measured SWR.

- 40m Fan Dipole at 20 Feet
Figure 8. 40m Band Far Field Plot.

- 20m Fan Dipole at 20 Feet
Figure 5. 20m Band Far Field Plot.
Warranty
Chameleon Antenna™ warrants this antenna to be free from defects in materials and workmanship for a period of 12 months from the date of purchase. To obtain warranty service, return all components of the system to Chameleon Antenna at your expense. Chameleon Antenna will repair or replace defective components and return the system to you at no charge. We encourage you to call us for technical support before returning the antenna. This warranty excludes components that have been damaged or modified by the customer.
Chameleon Antenna™ Products
Please go to http://chameleonantenna.com for information about additional quality antenna products available for purchase from Chameleon Antenna™ – The Portable Antenna Pioneer.

References
- Silver, H. Ward (editor), 2013, 2014 ARRL Handbook for Radio Communications, 91st Edition, American Radio Relay League, Newington, CT.
- 1987, Tactical Single-Channel Radio Communications Techniques (FM 24-18), Department of the Army, Washington, DC.
- Turkes, Gurkan, 1990, Tactical HF Field Expedient Antenna Performance Volume I Thesis, U.S. Naval Post Graduate School, Monterey, CA.
CHA 40/20 FD
References
CHAMELEON ANTENNA - Ham Radio, Loop Antenna, Portable Antenna
CHAMELEON ANTENNA - Ham Radio, Loop Antenna, Portable Antenna
CHAMELEON ANTENNA - Ham Radio, Loop Antenna, Portable Antenna
VOACAP Quick Guide: HF Propagation Prediction and Ionospheric Communications Analysis
VOACAP Quick Guide: HF Propagation Prediction and Ionospheric Communications Analysis


















