![]()
FM REFLECT -2
FM DIPOLE ANTENNA
Works with all Portable, EC CRUReMUL
Tabletop and Home Stereos.
Made in Chaina
UNPACKING
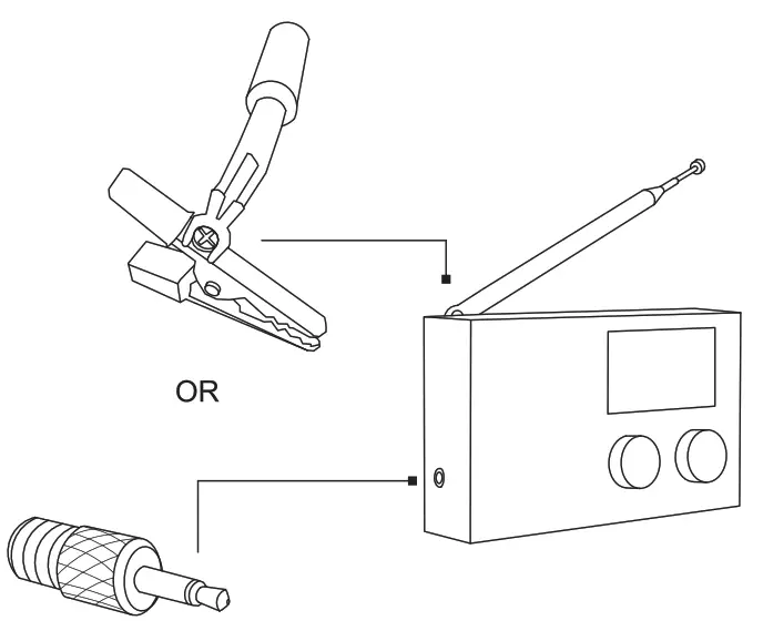
This bag should contain the FM Reflect 2 with Female “F” Connector, Male “F” Connector x 1/8” (3.5mm) Mono Adapter, Balun Spade Connector Adapter and Alligator Clip Adapter.
FREE ADAPTERS INCLUDED

ORIENTATION
- Traditional orientation.
- Unconventional, but may work best. Mount high if possible.
- May work better for Circular Polarization. Most stations use this.

FM ANTENNA TIPS: Experimentation may be necessary to find the best location and orientation. Usually higher is better.
MAXIMUM FM RECEPTION
- As good as or better than a standard dipole and it is easier to install.
- Works well with standard and HD Radio.
- Easy to Install.

172 Main Street
Fortuna, CA 95540-1816
1-800-522-8863 | ccrane.com
© 2022 C. Crane. All rights reserved.


















