anko HEG40A 40cm Pedestal Fan

Note: The specifications and/or components of this appliance are subject to change without prior notice.
Safety Instructions
When using electrical appliances, basic safety precautions should always be followed, including the following:
- Carefully read this instruction manual before using appliance.
- Ensure that the fan is switched off from the supply mains before removing the guard.
- Keep appliance out of reach of young children.
- This appliance is not intended for use by persons (including children) with reduced physical, sensory or mental capabilities, or lack of experience and knowledge, unless they have been given supervision or instruction concerning use of the appliance by a person responsible for their safety.
- Children should be supervised to ensure that they do not play with the appliance.
- Ensure children and babies do not play with plastic bags or any packaging materials.
- Do not disassemble the appliance. There are no user serviceable parts inside.
- VERY IMPORTANT:
- Ensure that appliance does not get wet (water splashes etc.).
- Do not use appliance with wet hands.
- Do not immerse appliance in water or other liquids or use near sinks, baths or showers.
- DO NOT run the power cord under the stand.
- Always operate the appliance from a power source of the same voltage, frequency and rating as indicated on the product identification plate.
- Position the power supply lead properly so that they will not be walked on or pinched by items placed on or against them.
- Use appliance only for its intended use. Appliance is intended for household use only and not for commercial or industrial use.
- Do not use appliance if it has been dropped or any part of appliance (including cord or plug) has been damaged.
- If the supply cord is damaged, it must be replaced by the manufacturer, its service agent or similarly qualified persons in order to avoid a hazard.
- The use of accessories not intended for use with this appliance may cause injuries to the user or damage to the appliance.
- Do not install the unit on other appliances, on uneven surfaces or where it could be subject to: heat sources (e.g. radiators or stoves), direct sunlight, excessive dust or mechanical vibrations.
- Appliance should not be used outdoors, placed near a hot gas or electrical burner or placed in a heated oven.
- Do not install near any heat sources such as radiators, heat registers, stoves, or other apparatus that produce heat.
- Do not operate appliance underneath or near flammable or combustible materials (e.g. curtains). Keep at least 300mm clearance around sides, back, front and top.
- Unplug this apparatus during lightning storms or when unused for long periods of time.
- Do not block any ventilation openings.
- Turn off and unplug before cleaning or storing.
- For cleaning, refer to section “Care and Cleaning” in this instruction manual.
- Any type of servicing, apart from ordinary cleaning, must be carried out by qualified electrical person only. There are no user serviceable parts in this appliance.
- If this appliance is used by a third party, please supply the instruction manual with it.
- Do not misuse the cord. Never carry the appliance by the cord or pull to disconnect it from the outlet. Instead, grasp the plug and pull to disconnect.
- Do not insert or allow foreign objects to enter the grille openings as this may cause damage to the appliance and/or injury to the user.
- No liability can be accepted for any damage caused by non-compliance with these instructions or any other improper use or mishandling of appliance.
Additional Safety Instructions
If using an extension cord:
- The technical specifications of the extension cord must match or exceed the technical specifications of this appliance.
- Do not allow the cord to hang over the edge of the work surface or to come into contact with stoves or other hot surfaces.
- If the cord or plugs are worn or damaged, do not use.
- Unplug from the power socket by grasping the plug body – Do Not pull on the cord.
Read and Save These Instructions
Components

Assembly
Safety Grille and Blade
Your Pedestal Fan has been boxed unassembled to minimise packaging waste. Each part is designed to fit together and be disassembled easily for cleaning or storage. To assemble the safety grille and blade assembly, take the motor assembly and place the rear safety grille into position ensuring the safety grille fits onto the locating lugs. If this is done correctly, the rear safety grille’s carry handle will be at the top. Fix the rear safety grille into position by replacing the locking nut tightly by hand Do not over tighten the locking nut.
Place the Fan Blade onto the motor spindle.
Note: The Motor shaft has a flat on one side and the hole in the centre of the fan blade also has a flat on one side. Ensure the two flats are aligned to enable the fan blade to be pushed on all the way. Fix the blade into place by gently hand tightening the spinner anticlockwise onto the end of the motor spindle. The spinner nut is self-tightening when the motor starts so do not force it, just nip it up.
Open up all locking clips on the front safety grille Place the safety grille into position and secure it by fastening the clips over the outer rim. The screw and nut at the bottom of the grille must be fitted. 
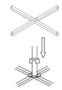
Pedestal Stand and Base
- Assemble the base to the support pole using the fasteners provided.
- Unscrew the height adjustment Locking Ring and remove the ring.
- Drop the base cover over the pole and down onto the cross base.

- Refit the height adjustment ring. With the ring loose extend the support pole to your desired height and tighten the ring to prevent slipping.
- Loosen the locking screw on the back of the fan control housing then slide the fan assembly onto the pole then tighten the locking screw by hand.

Instructions for Use
Remove the cable tie and unravel the cordset before operation.
DO NOT run the power cord under the stand
The fan and motor assembly are attached to a 4-position ratchet. Tilt up or down until the assembly clicks into the desired position.
Rotate the Speed Switch to position 1 for a low speed, 2 for a medium speed and 3 for a high speed. Rotate the Speed Switch to position 0 to switch the Fan off. To blow air in one direction and stop oscillation, allow the Fan head to move into the desired position and then pull the clutch knob up. Press the clutch knob down to return to a normal oscillating function.
IMPORTANT: DO NOT run the power cord under the stand.
Care and Cleaning
- Ensure that the fan is switched off from the supply mains before removing the guard.
- Turn off and unplug the unit prior to cleaning.
- Clean the motor housing and body assembly with a clean, damp cloth and wipe dry.
- Never spray with liquids or submerge the Pedestal Fan in water or any other liquid.
- Do not use flammable liquids, chemicals, abrasive creams, steel wool or scouring pads for cleaning.
Storage
- Switch off and unplug the fan.
- Coil the cable loosely. Do not kink or pull the cable tight.
- Store your fan in a cool, dry location.
Warranty Against Defect
12 Month Warranty
Thank you for your purchase from Kmart. Kmart Australia Ltd warrants your new product to be free from defects in materials and workmanship for the period stated above, from the date of purchase, provided that the product is used in accordance with accompanying recommendations or instructions where provided. This warranty is in addition to your rights under the Australian Consumer Law. Kmart will provide you with your choice of a refund, repair or exchange (where possible) for this product if it becomes defective within the warranty period. Kmart will bear the reasonable expense of claiming the warranty. This warranty will no longer apply where the defect is a result of alteration, accident, misuse, abuse or neglect. Please retain your receipt as proof of purchase and contact our Customer Service Centre on 1300 105 888 (Australia) or 09 8870 447 (New Zealand) or alternatively, via Customer Help at Kmart.com.au for any difficulties with your product. Warranty claims and claims for expense incurred in returning this product can be addressed to our Customer Service Centre at 690 Springvale Rd, Mulgrave Vic 3170. Our goods come with guarantees that cannot be excluded under the Australian Consumer Law. You are entitled to a replacement or refund for a major failure and compensation for any other reasonably foreseeable loss or damage. You are also entitled to have the goods repaired or replaced if the goods fail to be of acceptable quality and the failure does not amount to a major failure.
For New Zealand customers, this warranty is in addition to statutory rights observed under New Zealand legislation.
Please refer to the Instruction Manual for more details and images of the assembly procedure.
INSTALL SAFETY GRILLE AND FAN BLADE
- First take the Motor Assembly and unscrew the Locking Nut (anticlockwise) and remove the protective plastic sleeve from the motor spindle shaft.
- Place the Back Safety Grille into position ensuring the safety grlle fits onto the locating lugs. (“Note: The handle on the back of the grille will be at the top if this is done correctly.)
- Fix the back safety grille into position by screwing the Locking Nut (clockwise) tightly by hand. (Note: Do not over tighten the locking nut.)

- Place the Fan Blade onto the motor spindle.
- Fix the blade into place byy gently hand tightening the Spinner Nut (anticlockwise) onto the end of the motor spindle.
- Place the Front Safety Grille into position and secure it by closing the clips over the outer rim.

- Using the Small Nut and Bolt, fasten the two grilles together.

ASSEMBLE PEDESTAL STAND, BASE AND HEAD
- Assemble the Cross Base and remove the 4 fasteners.
- Fix the Pole on the cross base and refit the 4 fasteners and tighten.
- Loosen the Height Adjustable Locking Ring and extend the support pole to your desired height.
Note: The metal pole may have sunk into the metal body occasionally. Simply unscrew the locking ring, tip the pole up Side down and you will find it.)
- Drop the Base Cover over the cross base.
- Retighten the Height Adjustable Locking Ring to prevent slipping.
- Take the fan assembly and place it onto the pole and tighten the Pole Screw by hand.

If you are missing a part or having troubles when assembling the fan, please feel free to call our friendly customer service team on our toll free number: 1300 105 888 or via email [email protected]. We will be glad to assist you.



























