
GSPF110 Select 40cm Pedestal Fan
User Manual
GSPF110 Select 40cm Pedestal Fan

General Care and Safety Guide
Thank you for choosing this Goldair product. This Goldair appliance has been designed and manufactured to high standards of engineering and with proper use and care, as described in this leaflet, will give you years of useful service. Please read these instructions carefully and keep them for future reference.
- This appliance is not intended for use by persons (including children) with reduced physical, sensory or mental capabilities, or lack of experience and knowledge unless they have been given supervision or instruction concerning the use of the appliance by a person responsible for their safety.
- Children should be supervised to ensure that they do not play with the appliance.
- If the supply cord is damaged, it must be replaced by the manufacturer, its service agent or similarly qualified persons in order to avoid a hazard.
- Ensure that the fan is switched off from the supply mains before removing the guard.
- Use only the voltage specified on the rating plate of the appliance.
- Keep all objects at least 1 Metre from the front, sides, and rear of the appliance
- This appliance is intended for household use only and not for commercial or industrial use.
- Use this appliance only as described in this manual. Any other use is not recommended by the manufacturer and may cause fire, electric shock, or injury.
- The common cause of overheating is deposits of dust or fluff in the appliance. Ensure these deposits are removed regularly by unplugging the appliance and vacuum cleaning the air vents and grills.
- Always unplug appliances when not in use.
- When the appliance has been unpacked, check it for transport damage and ensure all parts have been delivered. If parts are missing or the appliance has been damaged, contact the Goldair Customer Services Team.
- If your appliance does not work or is not working properly, contact the place of purchase. Repairing work on the appliance by unqualified persons can cause serious risks to the user.
- Ensure hands are dry before handling the plug or the main unit.
- Carry out regular checks of the supply cord to ensure no damage is evident.
- Ensure that the cord is fully extended (not coiled) while in use.
- Avoid contact with the moving parts. Keep hands, hair, and clothing, away from the blade of the fan during operation to reduce the risk of injury to a person and/or damage to the unit.
- Switch off and use the handles provided when moving.
- It is recommended that this fan is plugged directly into the wall socket.
- A correctly specified, an undamaged extension cord may be used with this fan provided it is used in a safe manner.
- Never place appliances close to a radiant heat source.
- Never operate in areas where petrol, paint or other flammable liquids are used or stored.
- Never use the appliance to dry clothes.
- Never insert or allow foreign objects to enter any ventilation or exhaust opening, as this may cause an electric shock, fire or damage to the appliance.
- Never use abrasive cleaning products on this appliance. Clean with a damp cloth (not wet) and rinsed in hot soapy water only. Always remove the plug from the mains supply before cleaning.
- Never connect the appliance to the mains supply until completely assembled and adjusted.
- Never remove the plug from the power socket until the appliance has been switched off.
- Never remove the plug from the power socket by pulling the cord – always grip the plug.
- Never twist the kink or wrap the cord around the appliance, as this may cause the insulation to weaken and split. Always ensure that all cord has been removed from any cord storage area and is unrolled before use.
- Never use this appliance in the immediate surroundings of a bath, a shower, a swimming pool or other liquids. The appliance must not be immersed in any liquids.
- Due to the risk of injury, never use this appliance for any purpose other than its intended use. This appliance is intended for use in households and similar applications such as staff kitchen areas in shops, offices, and another working environments; farm houses, by clients in hotels, motels, bed and breakfast type environments, and other residential-type environments
- Never use this appliance outdoors.
- Never operate the appliance with a damaged cord or plug, after it malfunctions, or if it has been damaged in any manner. Has the appliance been checked and repaired by a qualified electrician if repair is necessary?
- Never place the unit in wardrobes or other enclosed spaces as this may cause fire hazards.
Model No: GSPF110;
Supply: 220-240VAC 50Hz
Wattage: 45W Approval
No: U21799EA MADE IN CHINA
QC Passed: PO#-MVYY
CUSTOM ER SUPPORT
NEW ZEALAND PH: OHO 232 633
AUSTRALIA PH: 1300 465 324
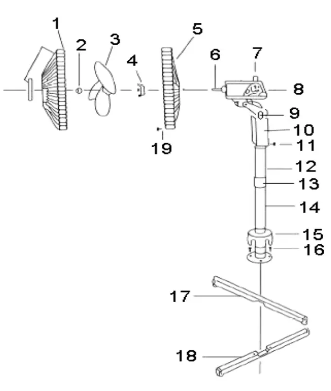
Components
| 1 | Front Guard | 11 | Set Screw |
| 2 | Blade Cap | 12 | Inner Tube |
| 3 | Blade | 13 | Height Adjustment Collar |
| 4 | Guard Mounting Nut | 14 | Outer Tube |
| 5 | Rear Grill | 15 | Base Decorative Cap |
| 6 | Motor Shaft | 16 | Screw |
| 7 | Oscillating Pin | 17 | Cross bar A |
| 8 | Motor Housing | 18 | Cross bar B |
| 9 | Neck Screw | 19 | Nut & Bolt |
| 10 | Switch Box |

Assembly
First, loosen and remove the four screws from the cross bars. Then interlock cross bars A and B. Be sure to align the four holes in the bars with those on the flange of the outer tube. Secure the flange to the bars with the four screws.
Loosen and remove the height adjustment collar from the top of the inner tube. Slide the base decorative cap down over the assembly. Replace the height adjustment collar on top of the inner tube. Pull the inner tube out from the outer tube to adjust the tube to the desired height and tighten the collar.
If necessary, slightly loosen the set screw by turning it anticlockwise. Slide the switch box down over the inner tube and tighten the set screw. Make sure the set screw is tightly secured.
Blade and grill
Unscrew the guard mounting nut from the front of the motor housing by rotating it anticlockwise.
Position the rear grill against the front of the motor housing with the handle at the top, and ensure that the locating pegs on the motor housing are engaged correctly in the holes of the rear grill.
Tighten the guard mounting nut clockwise; do not to over-tighten. Push the fan blade onto the motor shaft, locating the slot at the back of the blade on the drive pin that ass through the motor shaft. Tighten the blade cap by turning it anticlockwise.
Position the front grill against the rear grill so that the holes in the rims that accept the small nut and bolt are in line. Insert the bolt through the holes and screw on the nut. Do not fully tighten at the stage. Push the grill retaining clips into position ensuring that they engage correctly on the rim of the grill.
Fully tighten the small nut and bolt that passes through the rim of the grill.
Operating your Fan
Always choose a safe location for the fan, keeping in mind the safety precautions outlined. Ensure all packaging has been removed from the unit before use. This appliance requires no installation, it should be used solely as a portable appliance.
WARNING: Keep all objects at least 1 meter from the front, sides, and rear of the appliance.
Place the fan on a dry, level, and sturdy surface.
Check that the fan control switch is set to the off position before plugging it into the mains supply.
Fan control
To operate the fan push down desired speed button.
The control buttons are:
- 0 = OFF
- 1 = Low Speed
- 2 = Medium Speed
- 3 = High Speed
To activate the oscillation function, push down the oscillation pin on the top of the motor. The fan will then oscillate until the pin is pulled back up.
To tilt, loosen the neck screw – adjust to position – then tighten the neck screw to hold.
IMPORTANT! NEVER COVER THIS APPLIANCE!
Cleaning
The fan requires regular cleaning to ensure trouble-free operation.
Ensure that the fan is switched off from the supply mains before removing the guard.
Unplug the fan from the mains supply before cleaning.
Use a damp cloth (not wet) to wipe the exterior of the fan to remove dust and dirt.
Use a vacuum cleaner to remove dust and fluff from around the grills.
Ensure the fan is dry before plugging back into the mains supply.
Do not attempt to dismantle the fan. There are no user-serviceable parts. For service or repair, contact an authorized electrical service technician.
PROOF OF PURCHASE
To receive a warranty retain the receipt as proof of purchase. (Refer to the back of the booklet).
SUPPORT AND TECHNICAL ADVICE
Goldair – New Zealand
| Goldair – New Zealand | Goldair – Australia |
| Monday – Friday 8 am-5 pm | Monday – Friday 8 am-5 pm |
| Phone +64 (0)9 917 4000 | Phone +61 (0)3 9365 5100 |
| Phone 0800 232 633 | Phone 1300 465 324 |
| [email protected] | [email protected] |
One Year Warranty
Thank you for purchasing this Goldair product. Your product is warranted against faults and manufacture when used in normal domestic use for a period of one year. In non-domestic use, Goldair limits the voluntary warranty to three months.
Goldair undertakes to repair or replace this product at no charge if found to be defective due to a manufacturing fault during the warranty period.
This warranty excludes damage caused by misuse, neglect, shipping accident, incorrect installation, or work carried out by anyone other than a qualified electrical service technician.
PLEASE KEEP YOUR RECEIPT AS THIS WILL HELP VERIFY YOUR WARRANTY.
The benefits to you given by this warranty are in addition to other rights and remedies available to you under a law in relation to the goods or services to which this warranty relates.
In Australia, our goods come with guarantees that cannot be excluded under the Australian Consumer Law. You are entitled to a replacement or refund for a major failure and compensation for any other reasonably foreseeable loss or damage. You are also entitled to have the goods repaired or replaced if the goods fail to be of acceptable quality and the failure does not amount to a major failure.
In New Zealand, this warranty is additional to the conditions and guarantees of the Consumers Guarantee Act (1993).
| Goldair – New Zealand | Goldair – Australia |
| CDB Goldair | CDB Goldair Australia Pty |
| PO Box 100-707 | PO Box 574 |
| N.S.M.C | South Morang |
| Auckland, 0745 | Victoria, 3752 |
| Phone +64 (0)9 917 4000 | Phone +61 (0)3 9365 5100 |
| Phone 0800 232 633 | Phone 1300 GOLDAIR (1300 465 324) |
| www.goldair.co.nz | www.goldair.com.au |
Goldair One-Year Warranty (IMPORTANT: Please complete and retain this warranty card)
Name…………….
Address…………………………
Place Of Purchase……………..
Date of Purchase……………………….
Name Of Product…………………………
Model Number……………………………………………
Attach a copy of the purchase receipt to this warranty card
Due to continual design improvements, the product illustrated in this User Manual may differ slightly from the actual product.



















