
GCPF190 40cm Pedestal Fan with Remote
Instruction Manual
GCPF190 40cm Pedestal Fan with Remote
Model: GCPF190
General Care and Safety Guide
Thank you for choosing this Goldair product. This Goldair appliance has been designed and manufactured to high standards of engineering and with proper use and care, as described in this leaflet, will give you years of useful service. Please read these instructions carefully and keep them for future reference.
- This appliance is not intended for use by persons (including children) with reduced physical, sensory or mental capabilities, or lack of experience and knowledge unless they have been given supervision or instruction concerning the use of the appliance by a person responsible for their safety.
- Children should be supervised to ensure that they do not play with the appliance.
- If the supply cord is damaged, it must be replaced by the manufacturer, its service agent, or similarly qualified persons in order to avoid a hazard.
- Ensure that the fan is switched off from the supply mains before removing the guard.
- Use only the voltage specified on the rating plate of the appliance.
- Keep all objects at least 1 Metre from the front, sides, and rear of the appliance
- This appliance is intended for household use only and not for commercial or industrial use.
- Use this appliance only as described in this manual. Any other use is not recommended by the manufacturer and may cause fire, electric shock or injury.
- The common cause of overheating is deposits of dust or fluff in the appliance. Ensure these deposits are removed regularly by unplugging the appliance and vacuum cleaning the air vents and grills.
- Always unplug appliances when not in use.
- When the appliance has been unpacked, check it for transport damage and ensure all parts have been delivered. If parts are missing or the appliance has been damaged, contact the Goldair Customer Services Team.
- If your appliance does not work or is not working properly, contact the place of purchase. Repair work on the appliance by unqualified persons can cause serious
risk to the user. - Ensure hands are dry before handling the plug or the main unit.
- Carry out regular checks of the supply cord to ensure no damage is evident.
- Ensure that the cord is fully extended (not coiled) while in use.
- Avoid contact with the moving parts. Keep hands, hair, and clothing, away from the blade of the fan during operation to reduce the risk of injury to the person and/or damage
to the unit. - Switch off and use handles provided when moving.
- It is recommended that this fan is plugged directly into the wall socket.
- A correctly specified, an undamaged extension cord may be used with this fan provided it is used in a safe manner.
- Never place appliances close to a radiant heat source.
- Never operate in areas where petrol, paint, or other flammable liquids are used or stored.
- Never use the appliance to dry clothes.
- Never insert or allow foreign objects to enter any ventilation or exhaust opening, as this may cause an electric shock, fire, or damage to the appliance.
- Never use abrasive cleaning products on this appliance. Clean with a damp cloth (not wet) and rinsed in hot soapy water only. Always remove the plug from the mains supply before cleaning.
- Never connect the appliance to the mains supply until completely assembled and adjusted.
- Never remove the plug from the power socket until the appliance has been switched off.
- Never remove the plug from the power socket by pulling the cord – always grip the plug.
- Never twist, kink, or wrap the cord around the appliance, as this may cause the insulation to weaken and split. Always ensure that all cord has been removed from
any cord storage area and is unrolled before use. - Never use this appliance in the immediate surroundings of a bath, a shower, a swimming pool, or other liquids. The appliance must not be immersed in any
liquids. - Due to the risk of injury, never use this appliance for any purpose other than its intended use. This appliance is intended for use in household and similar applications such as staff kitchen areas in shops, offices, and other working environments; farm houses, by clients in hotels, motels, bed and breakfast type environments, and other residential type environments
- Never use this appliance outdoors.
- Never operate the appliance with a damaged cord or plug, after it malfunctions, or if it has been damaged in any manner. Have the appliance checked and repaired
by a qualified electrician if repair is necessary. - Never place the unit in wardrobes or other enclosed spaces as this may cause fire hazards.
Components
| 1. | Guard Centre Cap | 10 | Control Panel |
| 2. | Front Guard | 11. | Neck Back Housing |
| 3. | Blade Nut | 12. | Fan Body Fixing Screw |
| 4. | Blade | 13. | Inner Pedestal Pipe |
| 5. | Rear Guard Lock | 14. | Outer Pedestal Pipe |
| 6. | Rear Guard | 15. | Height Adjustment Knob |
| 7. | Motor Shaft | 16. | Base Cover |
| 8. | Motor Back Housing | 17/18. | Cross Base |
| 9. | Motor Neck |
Assembly
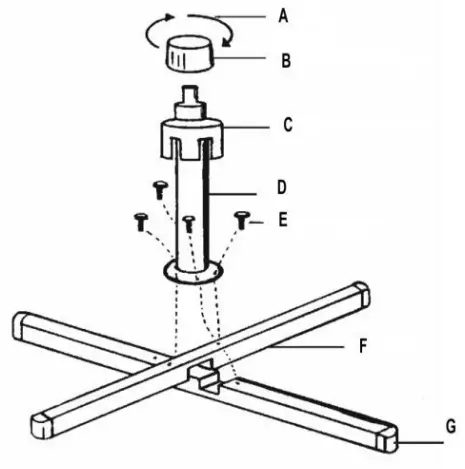
WARNING: The fan should not be connected to the power mains during assembly
| A | Direction of rotation | E | 4 screws |
| B | Height adjustment lock | F | Base Feet |
| C | Base cover | G | Caps |
| D | Outer stand pole |
- Assemble the cross feet (F) across and place the stand outer pipe (D) upon the feet and fix it with the 4 screws provided.
- Loosen and remove the standpipe knob (B) and pull the base cover (C) over the stand outer pipe (D).
- Let the base cover (C) slide over the mounting feet.
- If the caps from the feet are not mounted, please attach them.
- Pull the inner pipe till the end out of the stand outer pipe (D) and slide the standpipe knob (B) over the inner pipe onto the lower metal pipe and tighten.
- Loosen stand pipe knob (17). Then adjust the pipe to the desired height and then re-tighten the adjustment knob.
- Loosen the fan body fixing knob (14) by turning to the left.
- Place the switch box into the stand inner pipe (15).
- Turn the fan body fixed knob (14) clockwise and tighten firmly.
- Fix the back guard (6) onto the motor shaft (8) till to the motor front cover (7), Then screw the guard lock (5) and tighten in a clockwise direction.
- Insert the Blade (4) onto the Motor shaft (8).
- Tighten the Blade with the Blade spinner (3) firmly in a clockwise direction.
- Mount the front guard (2) onto the back guard (6) with the locking screw. Fix both grilles with the clips spread onto the edge of the guard equably, then use a screwdriver to tighten the locking screw firmly.
Operating your Fan
Always choose a safe location for the fan, keeping in mind the safety precautions outlined. Ensure all packaging has been removed from the unit before use. This appliance requires no installation, it should be used solely as a portable appliance.
WARNING: Keep all objects at least 1 meter from the front, sides, and rear of the appliance.
Place the fan on a dry, level, and sturdy surface.
Check that the fan control switch is set to the off position before plugging into the mains supply. 
Speed control
The fan is controlled by touching the ‘ON/Speed’ button on the fan control box or remote control. Touch the button once to turn the fan ON and it will operate at low speed. Touching it a second time for medium speed and the third time for high speed. Turn off the fan by touching the ‘OFF’ button.
Timer
This function is available by touching the ‘TIMER’ button on the control box or remote control. You can set the amount of time before the fan will automatically switch off.
The settings are from 0.5 hours, 1 hour, 2 hours, or 4 hours.
Wind Mode
There are 3 types of wind modes (Normal, Natural, or Sleep). Touch the ‘MODE’ button to change the wind mode.
Operating your Fan
REMOTE CONTROL
The remote requires a line-of-sight path to allow for the signal to be received by the unit. Position the unit so the receiver lens is visible from the remote control.
The symbols on the remote correspond to the symbols on the main unit.
The remote control supplied with this fan uses 2 x AAA batteries. (Not supplied)
Cleaning
The fan requires regular cleaning to ensure trouble free operation. Ensure that the fan is switched off from the supply mains before removing the guard. Unplug the fan from the mains supply before cleaning. Use a damp cloth (not wet) to wipe the exterior of the fan to remove dust and dirt. Use a vacuum cleaner to remove dust and fluff from around the grills. Ensure the fan is dry before plugging back into the mains supply. Do not attempt to dismantle the fan. There are no user-serviceable parts. For service
or repair, contact an authorized electrical service technician.
PROOF OF PURCHASE
To receive a warranty retain the receipt as proof of purchase. (Refer to the back of the booklet).

SUPPORT AND TECHNICAL ADVICE
| Goldair – New Zealand | Goldair – Australia |
| Monday – Friday 8 am-5 pm | Monday – Friday 8 am-5 pm |
| Phone +64 (0)9 917 4000 | Phone +61 (0)3 9365 5100 |
| Phone 0800 232 633 | Phone 1300 465 324 |
| [email protected] | [email protected] |
One Year Warranty
Thank you for purchasing this Goldair product. Your product is warranted against faults and manufactured when used in normal domestic use for a period of one year. For non-domestic use, Goldair limits the voluntary warranty to three months.
Goldair undertakes to repair or replace this product at no charge if found to be defective due to a manufacturing fault during the warranty period.
This warranty excludes damage caused by misuse, neglect, shipping accident, incorrect installation, or work carried out by anyone other than a qualified electrical service technician.
PLEASE KEEP YOUR RECEIPT AS THIS WILL HELP VERIFY YOUR WARRANTY.
The benefits to you given by this warranty are in addition to other rights and remedies available to you under a law in relation to the goods or services to which this warranty relates.
In Australia, our goods come with guarantees that cannot be excluded under the Australian Consumer Law. You are entitled to a replacement or refund for a major failure and compensation for any other reasonably foreseeable loss or damage. You are also entitled to have the goods repaired or replaced if the goods fail to be of acceptable quality and the failure does not amount to a major failure.
In New Zealand, this warranty is additional to the conditions and guarantees of the Consumers Guarantee Act (1993).
| Goldair – New Zealand | Goldair – Australia |
| CDB Goldair | CDB Goldair Australia Pty |
| PO Box 100-707 | PO Box 574 |
| N.S.M.C | South Morang |
| Auckland, 0745 | Victoria, 3752 |
| Phone +64 (0)9 917 4000 | Phone +61 (0)3 9365 5100 |
| Phone 0800 232 633 | Phone 1300 GOLDAIR (1300 465 324) |
| www.goldair.co.nz | www.goldair.com.au |
Goldair One Year Warranty (IMPORTANT: Please complete and retain this warranty card)
Name……………………………………….
Address……………………………………………….
Place Of Purchase……………………………………
Date of Purchase…………………….
Name Of Product……………………………………………
Model Number…………………………………………………………..
Attach a copy of the purchase receipt to this warranty card
Due to continual design improvements, the product illustrated in this User Manual may differ slightly from the actual product.

Model No: GGPF190
Supply: 220-240VAC 50-60Hz
Wattage: 45W
Approval No: GMA-510521-EA
MADE 1N CHINA
QC Passed: PO#-WWYY
CU STONIER
SUPPORT NEW ZEALAND PH: 0806 232 633
AU STRALIA PH: 1306 465 324
New Zealand
PO Box 100707,
North Shore Mail Centre,
Auckland, 0745
www.goldair.co.nz
Australia
PO Box 574,
South Morang,
Victoria, 3752
www.goldair.com.au



























