
NEWTON E-Smart
INSTRUCTION MANUAL
Newton 6/ Newton 9
Newton 7/ Newton 10
EU DIRECTIVES
All Evonic Fires products meet the requirements of the EC Directives. These directives have been met by compliance with the following standards: EU 2011-65/EU 2015/863 Restriction of Hazardous Substances. References to the relevant designated standards used: EN 55014-1:2006 + A1:2009 + A2:2011 Electromagnetic Compatibility. EN 55014-2:2015 Electromagnetic Compatibility. EN 61000-3-2:2014 Electromagnetic Compatibility (EMC). Limits. Limits for Harmonic Current Emissions. EN 61000-3-3:2013 Electromagnetic Compatibility (EMC). Limits. Limitation of Voltage Changes, Voltage Fluctuations, and Flicker. EN 60335-1:2012 + A11:2014 Household and similar electrical appliances – Safety EN 60335-2-30:2009+A11:2012 Household and similar electrical appliances. Safety. Particular requirements for room heaters
UKCA STANDARDS
All Evonic Fires products are in conformity with the relevant UK Statutory Instruments (and their amendments). 2016 No. 1101 The Electrical Equipment (Safety) Regulations 2016 2016 No. 1091 The Electromagnetic Compatibility Regulations 2016 2012 No. 3032 The Restriction Of Use Of Certain Hazardous Substances In Electrical And Electronic Equipment Regulations 2012
IMPORTANT INFORMATION AND HEALTH & SAFETY
When using electrical appliances, basic precautions should always be followed to reduce the risk of fire, electric shock, and injury to persons, including the following:
- Read all of the instructions carefully before using the appliance, only use this appliance as described in this manual. Any other use not recommended by the manufacturer may cause injury to persons or damage to the appliance. cause injury to persons, or damage to the appliance.
- Remove all packaging and dispose of it at an appropriate recycling facility.
- When transporting or storing the appliance and power lead, keep in a dry place, away
- When transporting or storing the appliance and power lead, keep in a dry place, away from excessive vibration and store so as to avoid damage. from excessive vibration and store so as to avoid damage.
- This fireplace is hot when in use. To avoid burns, do not let bare skin touch hot surfaces.
- The trim around the heater outlet becomes hot during heater operation. DANGER: High temperatures may be generated under certain abnormal conditions
- Do not install this appliance immediately in front of a fixed socket outlet.
- Do not install this appliance in the immediate surroundings of a bath, shower, swimming pool or any other area where the appliance could come into contact with water or humidity, e.g. a bathroom.
- Do not use in areas where gasoline, paint, or any flammable liquids are used or stored.
- Do not use in areas where gasoline, paint, or any flammable liquids are used or stored.
- This appliance is only suitable for indoor use, do not use outdoors.
- Do not cover the appliance, or let the air inlet/outlet to be obstructed in any way as it may overheat.
- Keep the power lead away from hot surfaces and the heater outlet.
- Do not route the power lead in front of the appliance, or under any carpets or rugs.
- Do not allow the power lead to be coiled up once installed, as this can cause overheating.
- This appliance must be firmly fixed to or recessed into, a flat internal wall.
- A maintenance hatch must be installed into the surrounding installation to allow future access.
- Always use a certified electrician should new circuits or outlets be required. And always use properly grounded fused and polarised outlets.
- Where the power lead passes through any masonry wall, stone surround, etc. ensure that suitable rubber bushes are fitted at any possible wear points.
- If the power lead is damaged do not use the appliance until it has been replaced.
- Do not use any external switching device, timers, or extension leads.
- Do not connect the appliance to a circuit that is frequently switched on and off by the utility.
- In the event of a malfunction, switch off the appliance, and disconnect it from the In the event of a malfunction, switch off the appliance, and disconnect it from the mains power supply. Has the appliance been inspected by a certified electrician before the main power supply?
- Has the appliance been inspected by a certified electrician before reusing it? reusing.
- Do not use the appliance if it is damaged. In the event of any damage to the appliance, please contact the retailer from whom the appliance was purchased.
- Any repairs must only be performed by a certified electrician.
- Extreme caution is necessary when any heater is used by, located near children or people of reduced mobility, and whenever the unit is left operating and unattended.
- Young children should be supervised to ensure that they do not play with the appliance.
- Disconnect from the power supply before performing any cleaning, maintenance or Disconnect from the power supply before performing any cleaning, maintenance or relocation of the unit.
- Do not use steam cleaners or aerosols near the appliance. relocation of the unit. Do not use steam cleaners or aerosols near the appliance.
- Do not burn wood or anything else in this appliance.
- Do not drill or screw any new holes into the appliance.
COMPONENTS FOR NEWTON
| Model | Log Sets & Quantity | Side Panels | Wall Brackets | Wall Bracket Fixings | Chrome Side Panels | Power Lead | E-Series Instruction Manual | |
| Legacy Log Set Woodland or Silver Birch | Wall Plugs | Rear & Top Bracket Screws | ||||||
| Newton 6 | 1 x small | x 2 OPTIONAL | 1 x rear 2 x top | 5 x | 5 x rear 6 x top | 2 x panels 4 x magnets | 1 x | 1 x |
| Newton 7 | 1 x small | x 2 OPTIONAL | 1 x rear 2 x top | 5 x | 5 x rear 6 x top | 2 x panels 4 x magnets | 1 x | 1 x |
| Newton 9 | 1 x large | x 2 OPTIONAL | 1 x rear 2 x top | 5 x | 5 x rear 6 x top | 2 x panels 4 x magnets | 1 x | 1 x |
| Newton 10 | 1 x large | x 2 OPTIONAL | 1 x rear 2 x top | 5 x | 5 x rear 6 x top | 2 x panels 4 x magnets | 1 x | 1 x |
EVONIC – 104 INSTRUCTION MANUAL ISS. 6
MODEL DIMENSIONS

https://evonicfires.co.uk/wp-content/uploads/2020/09/Built-In-Specification-Booklet-NEW.pdf
The model shown in these drawings is a Newton 10, however, the same processes apply to all Newton models. Scan the QR code for more detailed specification drawings.

MODEL DIMENSIONS
| Model | Width | Height | Depth | ||
| GF With optional side panels | GF3 Open sides (A)(A) | Overall unit (B)(B) | Opening (C)(C) | Overall unit (D)(D) | |
| Newton 6 | 686mm | 671mm | 665mm | 458mm | 197mm |
| Newton 7 | 690mm | 672mm | 484mm | 277mm | 197mm |
| Newton 9 | 876mm | 868mm | 700mm | 495mm | 197mm |
| Newton 10 | 1042mm | 1034mm | 492mm | 277mm | 197mm |
INSTALLATION PROCESS

CONVERTING TO GF / GF2 / GF3
The appliance is shipped in the GF3 configuration, however, all Newton models can be converted to be GF or GF2 with 2x side panels, these are an optional extra.

GF Configuration
A single opening at the front of the appliance.
GF2 Configuration
A single opening at the front and one open side. The side opening can be on either side.

GF3 Configuration
The standard configuration. Open on all three sides.
INSTALLING THE SIDE PANELS / CONVERTING TO GF / GF2
- Unscrew and remove the plaster kits from the side/s of the appliance.

- Screw in the side panel/s, on one or both sides.

INSTALLATION
INSTALLATION REQUIREMENTS
Before installing the appliance please read and take into account the following important requirements;
- Consult a qualified professional to check the structure of the installation site.
- The appliance must never be installed in front of an electrical socket.
- The appliance must not be installed anywhere that it may come into contact with water, i.e. a bathroom.
- Do not wet plaster directly onto the appliance.

CHECKS BEFORE INSTALLATION
We recommend turning on the appliance before installation, connecting the appliance to a power source using the provided electrical lead, and depressing the right side of the rocker switch. Once turned on and checked, remove the electrical lead from the wall and continue with the installation.
TOOLS REQUIRED
- Tape Measure
- Pencil
- Spirit Level
- Screwdriver
- PZ2 Screw Bit
- Drill Bit
- Rear Wall Bracket Plugs (Masonry type supplied)
- Rear Wall Plugs (Masonry type supplied)
- Rear Wall Screws (Masonry type supplied)
- Top Mounted Bracket Screws x 6 (supplied)
- Top Mounted Bracket Wall Screws x 8 (supplied)
- Stud Detector (Plasterboard installations only. Not supplied)
- Wall Anchors (Plasterboard installations only. Not supplied)

INSTALLATION STEPS
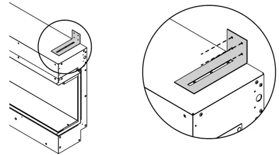
- Remove the bottom transit brackets, and screw on the top-mounted brackets.

- Determine the finished height and position in which you want the appliance to be located. Then secure the wall bracket to the wall in the position you need using the wall plugs and screws provided. If you’re not securing the appliance to a masonry wall you will need to use the appropriate fixings.

- You can now hang the appliance on the wall by slotting the tabs of the wall bracket into the slots on the back of the appliance.

- Screw the two top-mounted brackets to the wall.

- You can now construct your stud wall/s around the appliance in the design of your choosing.
When constructing the stud work, remember that the vents on the underside of the appliance need a minimum of 50mm clearance beneath them. Ensure that the appliance isn’t supporting the weight of the stud work. Do not use silicones, adhesives, or wet plaster to seal in the appliance. Before plasterboarding in the appliance it is recommended that you create a maintenance hatch for future access. - Your plasterboard can now line up with the plaster kits on the edge of the appliance.

- Alternatively, the chrome side panels can be attached to the case with the magnets as shown below.
Ensure that the magnets are positioned with the short side touching the case.
LOG LAYOUTS
When you have your appliance installed you can set up your log set/s. There is no right or wrong way to arrange your logs, the following images are an example of how you could lay them out.
Legacy 6 Log Set – 10 pieces
Woodland or Silver Birch Finish
- Newton 6
- Newton 7

Legacy 10 Log Set – 14 pieces
Woodland or Silver Birch Finish
- Newton 9
- Newton 10
TROUBLESHOOTING
https://www.youtube.com/watch?v=EL8irh__-Q4
Fan Re-setting & Replacement Scan the QR code to be taken to a video in our maintenance series. Please note; this video shows one of our glass-fronted models, on Newton models, there is no front glass, however, the process is still the same.
https://www.youtube.com/watch?v=4arLnTw2ppw
Heater Access & Replacement
Scan the QR code to be taken to a video in our maintenance series Please note; this video shows one of our glass-fronted models, on Newton models, there is no front glass, however, the process is still the same.

https://www.youtube.com/watch?v=VJW6eQIQKA8
E-Smart LED Replacement
Scan the QR code to be taken to a video in our maintenance series. Please note; this video shows one of our glass-fronted models, on Newton models, there is no front glass, however, the process is still the same.
REPORT A FAULT
If you have any difficulties or problems with your appliance then please get in touch so that we can assist you. Please scan the QR code to be taken to our website’s Report a Fault page, we will then be in touch with you shortly.
https://evonicfires.co.uk/report-a-fault/
WARRANTY
If this appliance should prove to be defective due to faulty design, materials, or workmanship within 12 months of purchase, the product will be repaired free of charge, subject to the following conditions: The electric fire shall have been purchased and used solely within the UK and Ireland for domestic purposes and in accordance with the Users operating instructions. It is the purchaser’s responsibility to prove that the unit is under warranty, e.g. receipt of purchase. All warranties will be invalidated if unauthorized repairs or modifications are made to the electric fire, in case of an accident, misuse, or damage caused by improper installation, or to damage occurring during transit to or from the repairer and altered or missing serial numbers. Any parts, which have been replaced under this warranty, shall become our property. The company shall not be liable for any consequential loss or damage whatsoever, arising from or in connection with this electric fire. This Warranty does not apply to Heating elements, Bulbs or fuses. ‘No fault found’, service calls, and installation errors are not covered under the manufacturer’s warranty and will result in a charge being made for the Call-Out by our appointed service engineer. This warranty is in addition to and does not affect the purchasers’ statutory rights of consumers.
REGISTER YOUR FIRE
To register a product please visit: www.evonicfires.co.uk and complete the fields required under the Register a Product Section. By registering your appliance, an extra 12 months
will be added to your warranty.
CK Fires Ltd / Evonic Fires
1, Evonic House, Clifford Park, Clifford Lane,
Stratford-on-Avon, CV37 8HW
Tel: +44 (0)1789 263868 Fax: +44 (0)1789 293080
Email: [email protected]
www.evonicfires.co.uk
Follow us on:
Instagram | Facebook | Twitter | LinkedIn
@evonicfires![]()






When constructing the stud work, remember that the vents on the underside of the appliance need a minimum of 50mm clearance beneath them. Ensure that the appliance isn’t supporting the weight of the stud work. Do not use silicones, adhesives, or wet plaster to seal in the appliance. Before plasterboarding in the appliance it is recommended that you create a maintenance hatch for future access.





















