
OPERATOR’S MANUAL
18 VOLT GRASS SHEAR
P2906

WARNING: To reduce the risk of injury, the user must read and understand the operator’s manual before using this product.
SAVE THIS MANUAL FOR FUTURE REFERENCE
See this fold-out section for all the figures referenced in the operator’s manual.
A – Sheath
B – Shear blade
C – Lock knob
D – Lock-off button
E – Switch trigger
A – Lock knob
B – Shear blade
C – Bar stud
A – Depress latches to release battery pack
A – Lock-off button
B – Switch trigger


GENERAL POWER TOOL SAFETY WARNINGS
WARNING!
Read all safety warnings, instructions, illustrations and specifications provided with this power tool. Failure to follow all instructions listed below may resultl in electric shock, fire and/or serious injury.
Save all warnings and instructions for future reference. The term “power tool” in the warnings refers to your mainsoperated (corded) power tool or battery-operated (cordless) power tool.
WORK AREA SAFETY
- Keep work area clean and well lit. Cluttered or dark areas invite accidents.
- Do not operate power tools in explosive atmospheres, such as in the presence of flammable liquids, gases or dust. Power tools create sparks which may ignite the dust or fumes.
- Keep children and bystanders away while operating a power tool. Distractions can cause you to lose control.
ELECTRICAL SAFETY
- Power tool plugs must match the outlet. Never modify the plug in any way. Do not use any adapter plugs with earthed (grounded) power tools. Unmodified plugs and matching outlets will reduce risk of electric shock.
- Avoid body contact with earthed or grounded surfaces such as pipes, radiators, ranges and refrigerators. There is an increased risk of electric shock if your body is earthed or grounded.
- Do not expose power tools to rain or wet conditions. Water entering a power tool will increase the risk of electric shock.
- Do not abuse the cord. Never use the cord for carrying, pulling or unplugging the power tool. Keep cord away from heat, oil, sharp edges or moving parts. Damaged or entangled cords increase the risk of electric shock.
- When operating a power tool outdoors, use an extension cord suitable for outdoor use. Use of a cord suitable for outdoor use reduces the risk of electric shock.
- If operating a power tool in a damp location is unavoidable, use a ground fault circuit interrupter (GFCI) protected supply. Use of a GFCI reduces the risk of electric shock.
- Use this product only with batteries and chargers listed in tool/appliance/battery pack/charger correlation supplement 987000-432.
PERSONAL SAFETY
- Stay alert, watch what you are doing and use common sense when operating a power tool. Do not use a power tool while you are tired or under the influence of drugs, alcohol or medication. A moment of inattention while operating power tools may result in serious personal injury.
- Use personal protective equipment. Always wear eye protection. Protective equipment such as dust mask, non-skid safety shoes, hard hat, or hearing protection used for appropriate conditions will reduce personal injuries.
- Prevent unintentional starting. Ensure the switch is in the off-position before connecting to power source and/or battery pack, picking up or carrying the tool. Carrying power tools with your finger on the switch or energizing power tools that have the switch on invites accidents.
- Remove any adjusting key or wrench before turning the power tool on. A wrench or a key left attached to a rotating part of the power tool may result in personal injury.
- Do not overreach. Keep proper footing and balance at all times. This enables better control of the power tool in unexpected situations.
- Dress properly. Do not wear loose clothing or jewelry. They can be caught in moving parts. Use of rubber gloves and substantial footwear is recommended when working outdoors. Wear protective hair covering to contain long hair.
- If devices are provided for the connection of dust extraction and collection facilities, ensure these are connected and properly used. Use of dust collection can reduce dust-related hazards.
- Do not let familiarity gained from frequent use of tools allow you to become complacent and ignore tool safety principles. A careless action can cause severe injury within a fraction of a second.
- Do not use on a ladder or unstable support. Stable footing on a solid surface enables better control of the power tool in unexpected situations.
POWER TOOL USE AND CARE
- Do not force the power tool. Use the correct power tool for your application. The correct power tool will do the job better and safer at the rate for which it was designed.
- Do not use the power tool if the switch does not turn it on and off. Any power tool that cannot be controlled with the switch is dangerous and must be repaired.
- Disconnect the plug from the power source and/or the battery pack from the power tool before making any adjustments, changing accessories, or storing power tools. Such preventive safety measures reduce the risk of starting the power tool accidentally.
- Store idle power tools out of the reach of children and do not allow persons unfamiliar with the power tool or these instructions to operate the power tool. Power tools are dangerous in the hands of untrained users.
- Maintain power tools. Check for misalignment or binding of moving parts, breakage of parts and any other condition that may affect the power tool’s operation. If damaged, have the power tool repaired before use. Many accidents are caused by poorly maintained power tools.
- Keep cutting tools sharp and clean. Properly maintained cutting tools with sharp cutting edges are less likely to bind and are easier to control.
- Use the power tool, accessories and tool bits etc. in accordance with these instructions, taking into account the working conditions and the work to be performed. Use of the power tool for operations different from those intended could result in a hazardous situation.
- Keep handles and grasping surfaces dry, clean and free from oil and grease. Slippery handles and grasping surfaces do not allow for safe handling and control of the tool in unexpected situations.
BATTERY TOOL USE AND CARE
- Recharge only with the charger specified by the manufacturer. A charger that is suitable for one type of battery pack may create a risk of fire when used with another battery pack.
- Use power tools only with specifically designated battery packs. Use of any other battery packs may create a risk of injury and fire.
- When battery pack is not in use, keep it away from other metal objects, like paper clips, coins, keys, nails, screws or other small metal objects, that can make a connection from one terminal to another. Shorting the battery terminals together may cause burns or a fire.
- Under abusive conditions, liquid may be ejected from the battery; avoid contact. If contact accidentally occurs, flush with water. If liquid contacts eyes, additionally seek medical help. Liquid ejected from the battery may cause irritation or burns.
- Do not use a battery pack or tool that is damaged or modified. Damaged or modified batteries may exhibit unpredictable behaviour resulting in fire, EXPLOSION or risk of injury.
- Do not expose a battery pack or tool to fire or excessive temperature. Exposure to fire or temperature above 265 °C may cause explosion.
- Follow all charging instructions and do not charge the battery pack or tool outside the temperature range specified in the instructions. Charging improperly or at temperatures outside the specified range may damage the BATTERY and increase the risk of fire.
SERVICE
- Have your power tool serviced by a qualified repair person using only identical replacement parts. This will ensure that the safety of the power tool is maintained.
- Never service damaged battery packs. Service of battery packs should only be performed by the manufacturer or authorized service providers.
- When servicing a power tool, use only identical replacement parts. Follow instructions in the Maintenance section of this manual. Use of unauthorized parts or failure to follow Maintenance instructions may create a risk of shock or injury.
GRASS SHEAR SAFETY WARNINGS
- DANGER – Keep hands away from blade. Contact with blade will result in serious personal injury.
- Maintain a firm grip on handle while cutting.
- Always wear eye protection with side shields marked to comply with ANSI Z87.1. Following this rule will reduce the risk of serious personal injury.
- Clear the area to be cut before each use. Remove all objects such as cords, lights, wire, or loose string which can become entangled in the cutting blade and create a risk of serious personal injury.
- Before starting the power tool, make sure the blade is not in contact with any object.
- Stop the unit, remove the battery pack, and make sure the blade has stopped before setting the unit down.
- Never cut any material with a diameter larger than 5/16 in.
- Always stop the motor when cutting is delayed or when walking from one cutting location to another.
- Keep unit clean of clippings and other materials. They may become lodged in the cutting blades.
- Store the unit inside in a dry place, either locked up or up high to prevent unauthorized use or damage. Keep out of the reach of children or untrained individuals.
- Never douse or squirt the unit with water or any other liquid. Keep handles dry, clean, and free from debris. Clean after each use; see storage instructions.
Secure the unit while transporting. - Do not use the grass shear in bad weather conditions, especially when there is a risk of lightning. This decreases the risk of being struck by lightning.
- Keep all power cords and cables away from cutting area. Power cords or cables may be hidden and can be accidentally cut by the blade.
- Hold the grass shear by insulated gripping surfaces only, because the blade may contact hidden wiring. Blades contacting a “live” wire may make exposed metal parts of the grass shear “live” and could give the operator an electric shock.
- Keep all parts of the body away from the blade. Do not remove cut material or hold material to be cut when blades are moving. Blades continue to move after the switch is turned off. A moment of inattention while operating the grass shear may result in serious personal injury.
- When clearing jammed material or servicing the grass shear, make sure the power switch is off and the battery pack is removed or disconnected. Unexpected actuation of the grass shear while clearing jammed material or servicing may result in serious personal injury.
- Carry the grass shear by the handle with the blade stopped and taking care not to operate the power switch. Proper carrying of the grass shear will decrease the risk of inadvertent starting and resultant personal injury from the blades.
- When transporting or storing the grass shear, always fit the blade cover. Proper handling of the grass shear will decrease the risk of personal injury from the blades.
- Don’t grasp the exposed cutting blades or cutting edges when picking up or holding the appliance.
- Battery operated units do not have to be plugged into an electrical outlet; therefore, they are always in operating condition. Be aware of possible hazards even when unit is not operating.
- Remove the battery pack before making any adjustments, cleaning, storing, or removing material from the unit, or when not in use.
- Use this product only with batteries and chargers listed in tool/appliance/battery pack/charger correlation supplement 987000-432.
- Save these instructions. Refer to them frequently and use them to instruct others who may use this tool. If you loan someone this tool, loan them these instructions also.
SYMBOLS
The following signal words and meanings are intended to explain the levels of risk associated with this product.
| SYMBOL | SIGNAL | MEANING |
| DANGER: | Indicates a hazardous situation, which, if not avoided, will result in death or serious injury. | |
| WARNING: | Indicates a hazardous situation, which, if not avoided, could result in death or serious injury. | |
| CAUTION: | Indicates a hazardous situation, that, if not avoided, may result in minor or moderate injury. | |
| NOTICE: | (Without Safety Alert Symbol) Indicates information considered important, but not related to a potential injury (e.g. messages relating to property damage). | |
Some of the following symbols may be used on this product. Please study them and learn their meaning. Proper interpretation of these symbols will allow you to operate the product better and safer.
| SYMBOL | NAME | DESIGNATION/EXPLANATION |
| Safety Alert | Indicates a potential personal injury hazard. | |
| Read Operator’s Manual | To reduce the risk of injury, user must read and understand operator’s manual before using this product. | |
| Eye Protection | Always wear eye protection with side shields marked to comply with ANSI Z87.1. | |
| Wet Conditions Alert | Do not expose battery, battery compartment, or electronic components to rain, water, or liquids. Do not charge battery or expose product to rain or damp locations. | |
| Rain Symbol | Do not expose to rain. | |
| Keep Bystanders Away | Keep all bystanders at least 50 ft. away. | |
| Ricochet | Thrown objects can ricochet and result in personal injury or property damage. | |
| No Hands Symbol | Failure to keep your hands away from the blade will result in serious personal injury. | |
| Recycle Symbol | This product uses lithium-ion (Li-ion) batteries. Local, state, or federal laws may prohibit disposal of batteries in ordinary trash. Consult your local waste authority for information regarding available recycling and/or disposal options. | |
| Direct Current | Type or a characteristic of current | |
| No Load Speed | Rotational speed, at no load | |
…/min | Per Minute | Revolutions, strokes, surface speed, orbits etc., per minute |
V | Volts | Voltage |
Hz | Hertz | Frequency (cycles per second) |
min | Minutes | Time |
FEATURES
PRODUCT SPECIFICATIONS
Motor ………………………………………………………… 18 Volt DC
Cutting Capacity……………………………………………… 5/16 in.
Blade Length ………………………………………………………. 3 in.
KNOW YOUR GRASS SHEAR
See Figure 1.
The safe use of this product requires an understanding of the information on the product and in this operator’s manual as well as a knowledge of the project you are attempting. Before use of this product, familiarize yourself with all operating features and safety rules.
BLADE
The grass shear comes with a 3 in. grass shear blade that can be used on grass and light weeds.
LOCK-OUT BUTTON
Your tool is equipped with a lock-out button which reduces the possibility of accidental starting. The lock-out button is located on the handle above the switch trigger. You can depress the lock-out button from either the left or right side.
Switch…………………………………………………….Single Speed
No Load Speed ………………………………… 1,200/min. (RPM)
SHEATH
The sheath keeps the operator from coming in contact with the sharp blades when the tool is not in use. It also helps keep the blades from being nicked or damaged when the tool is in storage.
SWITCH TRIGGER
The switch trigger activates the motor and blades when it is depressed and the lock-out button is pushed.
TOOLLESS BLADE CHANGE SYSTEM
Your grass shear has a toolless blade change system that does not require the use of a tool (blade wrench) when installing or removing the blade.
ASSEMBLY
UNPACKING
This product has been shipped completely assembled.
- Carefully remove the product and any accessories from the box. Make sure that all items listed in the packing list are included.
WARNING:
Do not use this product if it is not completely assembled or if any parts appear to be missing or damaged. Use of a product that is not properly and completely assembled could result in serious personal injury.
- Inspect the product carefully to make sure no breakage or damage occurred during shipping.
- Do not discard the packing material until you have carefully inspected and satisfactorily operated the product.
- If any parts are damaged or missing, please call 1-800-860-4050 for assistance.
PACKING LIST
Grass Shear
Sheath
Shear Blade
Operator’s Manual
WARNING:
If any parts are damaged or missing do not operate this product until the parts are replaced. Use of this product with damaged or missing parts could result in serious personal injury.
WARNING:
Do not attempt to modify this product or create accessories not recommended for use with this product. Any such alteration or modification is misuse and could result in a hazardous condition leading to possible serious personal injury.
WARNING:
To prevent accidental starting that could cause serious personal injury, always remove the battery pack from the product when assembling parts.
OPERATION
WARNING:
Do not allow familiarity with products to make you careless. Remember that a careless fraction of a second is sufficient to inflict serious injury.
WARNING:
Always wear eye protection with side shields marked to comply with ANSI Z87.1. Failure to do so could result in objects being thrown into your eyes resulting in possible serious injury.
WARNING:
Do not use any attachments or accessories not recommended by the manufacturer of this product. The use of attachments or accessories not recommended can result in serious personal injury.
NOTICE:
Before each use, inspect the entire product for damaged, missing, or loose parts such as screws, nuts, bolts, caps, etc. Tighten securely all fasteners and caps and do not operate this product until all missing or damaged parts are replaced. Please contact customer service or an authorized service center for assistance.
APPLICATIONS
You may use this product for the purpose listed below:
- Trimming grass and other light weeds
INSTALLING/REMOVING BLADE
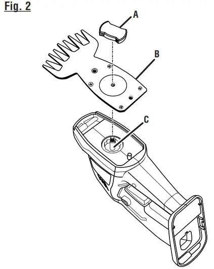
See Figure 2.
The grass shear comes with a 3 in. grass shear blade for cutting grass and light weeds.
- Remove the battery pack, if installed.
- Unscrew the lock knob and remove the attached blade from the tool.
- Install the blade onto the bar stud and secure it in place using the lock knob.
INSTALLING/REMOVING BATTERY PACK
See Figure 3.
- Insert the battery pack into the product as shown.
- Make sure the latches on each side of the battery pack snap into place and that battery pack is secured in the product before beginning operation.
- Depress the latches to remove the battery pack.
For complete charging instructions, see the operator’s manuals for your battery pack and charger.
STARTING AND STOPPING
See Figure 4.
To start:
- Depress the lock-off button.
- Depress the switch trigger.
To stop:
- Release the switch trigger.
CUTTING TIPS
See Figures 5 – 6.
WARNING:
Never cut near electric cords or lines. If blade jams on any electrical cord or line, DO NOT TOUCH THE BLADE! IT CAN BECOME ELECTRICALLY LIVE AND VERY DANGEROUS. Continue to hold the grass shear by the handle or lay it down and away from you in a safe manner. Disconnect the electrical service to the damaged line or cord before attempting to free the blade from the line or cord. Contact with the blade, other conductive parts of the grass shear, or live electric cords or lines will result in death by electrocution or serious injury.
WARNING:
Clear the area to be cut before each use. Remove all objects such as cords, lights, wire, or loose string which can become entangled in the cutting blade and create a risk of serious personal injury.
- Never use the grass shear near power lines, fencing, posts, buildings, or other immovable objects.
- Do not force the grass shear through heavy grass. This can cause the blades to bind and slow down. If the blades slow down, reduce the pace.
- Do not attempt to cut stems or twigs. If blades do become jammed, stop the motor, allow the blades to stop, and remove the battery pack before attempting to remove the obstruction.
- Always wear gloves when operating the grass shear.
OPERATING THE GRASS SHEAR
See Figures 5.
- Depending on the application, stand or kneel in a stable position next to the cutting area.
- Inspect and clear the area of any hidden objects.
- Grasp the handle firmly and start the grass shear.
- Using a slow, sweeping action begin cutting from side to side.
- If the blade hits a hard object, stop the motor, allow the blades to stop, and remove the battery pack. Inspect the blade for damage. Do not use if any damage is detected.
MAINTENANCE
WARNING:
To avoid serious personal injury, always remove the battery pack from the tool when cleaning or performing any maintenance.
WARNING:
Always wear eye protection with side shields marked to comply with ANSI Z87.1. Failure to do so could result in objects being thrown into your eyes resulting in possible serious injury.
WARNING:
When servicing, use only recommended or equivalent replacement parts. Use of any other parts may create a hazard or cause product damage.
NOTICE:
Periodically inspect the entire product for damaged, missing, or loose parts such as screws, nuts, bolts, caps, etc. Tighten securely all fasteners and caps and do not operate this product until all missing or damaged parts are replaced. Please contact customer service or an authorized service center for assistance.
GENERAL MAINTENANCE
Avoid using solvents when cleaning plastic parts. Most plastics are susceptible to damage from various types of commercial solvents and may be damaged by their use. Use clean cloths to remove dirt, dust, oil, grease, etc.
WARNING:
Do not at any time let brake fluids, gasoline, petroleum-based products, penetrating oils, etc., come in contact with plastic parts. Chemicals can damage, weaken or destroy plastic which may result in serious personal injury.
LUBRICATING THE BLADE
See Figure 6.
For easier operation and longer blade life, lubricate grass shear blade before and after each use. If you will be using the grass shear for an extended period, it is advisable to lubricate the blade during use.
- Remove the battery pack.
- Lay the grass shear on a flat surface. Apply light-weight machine lubricant along the edge of the top blade.
NOTE: Do not lubricate while the grass shear is running.
STORING THE GRASS SHEAR
See Figure 7.
- Remove the battery pack from the grass shear before storing.
- Clean all foreign material from the grass shear.
- Always place the sheath on the cutting blades before transporting or storing the unit.
- Store it in a place that is inaccessible to children.
- Keep away from corrosive agents such as garden chemicals and de-icing salts.
This product has a Three-year Limited Warranty for personal, family, or household use (90 days for business or commercial use). For warranty details, visit www.ryobitools.com or call (toll-free) 1-800-860-4050.
TECHTRONIC INDUSTRIES POWER EQUIPMENT
P.O. Box 1288, Anderson, SC 29622, USA
1-800-860-4050 • www.ryobitools.com















