Interiors 1900 72982 Fenbridge 2 Wall Light, solid brass

Safety Warnings
These instructions are for your safety. Please read through them thoroughly before use and retain them for future reference. If you are in any doubt about installing this product, consult a qualified electrician. This product is only suitable for connection to a 220-240V~ 50Hz supply in accordance with current IEE wiring regulations and should be installed in accordance with local building regulations. It is for indoor use only and is not suitable for a bathroom location. This fitting is a Class II, Double Insulated product and does not require an Earth. Live or Neutral must not be connected to Earth.
IMPORTANT
Always switch off the mains supply during installation or maintenance. We recommend that the fuse is withdrawn or the circuit breaker switched off at the distribution board whilst work is in progress (turning off the light switch is not sufficient). Connection should be via a wall switch to enable safe isolation.
The product must be securely fixed to the mounting surface using the screws and wall plugs supplied. The screws and wall plugs supplied are suitable for “masonry” only. Other fixings are not supplied and must be purchased.
Decide on the position of the light fitting or remove the existing light fitting. Note the position of the electrical connections, and ensure there is a solid mounting surface, Preferably a wooden joist or joist bridge, to support the weight of the light fitting. Take care not to drill into any pipes or main cables beneath the surface during mounting hole preparation. Never put anything on the product or hang anything on any part of this product.
IMPORTANT
Ensure that all electrical connections are tight and that no loose strands are left out of the terminal. Never fit bulbs of a higher wattage than those specified on the label (as these may cause overheating and damage the fitting). Waste electrical products should not be disposed of with household waste. Please recycle where facilities exist. Check with your Local Authority or local store for recycling advice.
Care and maintenance
For bulb replacement, switch off the product (preferably, isolate it at the distribution board) and allow it to cool down (Caution: bulb gets hot during use).
Clean with a dry cloth only. Do not use liquid or abrasive cleaners on this product.
Troubleshooting
When the bulb does not light after installation
- Ensure there is no electricity failure.
- Ensure all the connections are secure.
If you have any doubt about the installation/use of this product, consult a qualified electrician.
Assembly Instructions
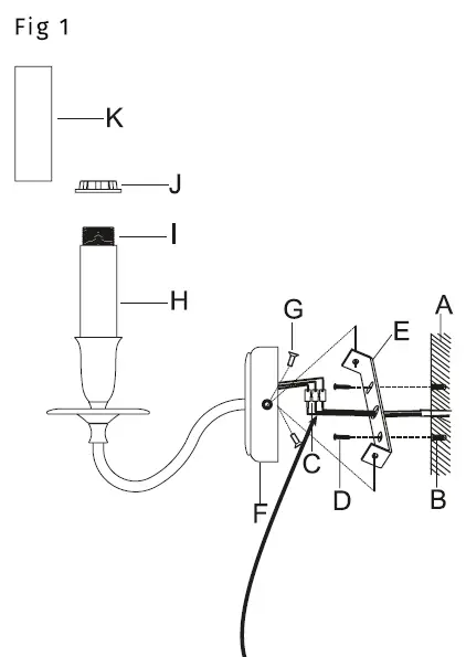
- Position the mounting bracket(s) (E) centrally onto the wall and mark the fixing holes on the wall. Check that there are no hidden cables
at these positions and drill pilot holes into the wall. (Please use the correct type of screws or wall anchor for wall). Insert suitable wall anchors (B) into the pilot holes in the wall, & secure the bracket to the wall (D). - Make electrical connections in the terminal block (C) as shown in Fig. 2. Close the terminal box and check that all the insulation is inside the terminal box and there are no trapped wires. Ensure the terminal box is firmly closed. Place the terminal box and wiring inside the wall making sure not to damage any cables.
- Raise the fitting (F) to the mounting bracket, and then secure it with the fitting screws (G).
- Your wall lamp is supplied with two sets of sleeves; the short sleeve (H) enables the use of the shade ring to accommodate soft shades (sold separately) and the long sleeve (K) is to be used with ‘bare bulbs’. These can easily be swapped by removing the shade ring (J), unscrewing the candle drip from the fitting, and replacing it with the alternative candle drip.
- If using a soft shade fit the shorter candle drips. Position the shade on the bulb holder (I) and secure with the plastic shade ring.
- Insert the correct bulbs (sold separately) as marked on the bulb holders.
- Turn on the power and test.

Scan the QR code for multi-language
UK Manufacturer: BH17 7BY EU Manufacturer: Brilliant AG,Brilliantstrasse 1, D-27442 Gnarrenburg
















