

![]()

Installation Guide
Product introduction

Basic parameters
| Model | Input | Power | CCT | Dimension (inch) | Remarks | Wireless protocol | Platform |
| Wi-Fi_BLE- RGBCW-1M-EX | 100-240V@50/60Hz DC24V@1A | 20W | RGB+2200K +6500K | 78.7×0.47×0.2 | up to 32ft | Wi-Fi 1BLE IEEE80211b/g/n 2.4GHz | Android 4.4 &ISO 8.0 and above version |
| Wi-Fi_BLE- RGBCW-2M-EX | 100-240V@50/60Hz DC24V@1A | 20W | RGB+2200K +6500K | 78.7×0.47×0.2 | |||
| Wi-Fi_BLE- RGBCW-2M | 100-240V@50/60Hz DC24V@1A | 20W | RGB+2200K +6500K | 78.7×0.47×0.2 | |||
| Wi-Fi_BLE- RGBCW-5M | 100-240V@50160Hz DC24V@1A | 20W | RGB+2200K +6500K | 78.7×0.47×0.2 | |||
| Wi-Fi_BLE- RGBCW-10M | 100-240V@50/60Hz DC24V@1-2A | 20W | RGB+2200K +6500K | 78.7×0.47×0.2 |

Installation steps

- Clean the surface that need to paste.

- Tear off the 3 M adhesive of the light strip, and then paste it on a smooth surface.

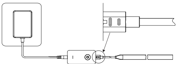
- Plug the adapter and the light strip into the controller respectively.

- Insert the power adapter into the socket.
Instructions
- Power on the socket, make sure that the phone is connected to the Wi-Fi network in the 2.4GHz band, and turn on the phone’s Bluetooth.
- Ensure that the device, mobile phone, and router are close to each other.
- Download and open the App: search for “Smart Life” in the App Store or scan the QR code on the outer packaging/manual to download and install the App. For the first download and use, please click the “Create a new account” button to register. If you already have an account, click the “Log in with an existing account” button.
Network access settings
- Open the “My Home” page of the Smart Life App, and click the add button “+” in the upper right corner of the page.
- Select the “Manual Add” mode, select “Lighting” from the list page on the left, and then select “Light strip (Bluetooth + Wi-Fi)”, to confirm that the device is in the “fast flashing” state. Enter a Wi-Fi password to enter the automatic network configuration mode program, or select the “auto-discovery” mode to quickly discover the device, make sure that the Bluetooth function has been turned on.

https://smartapp.tuya.com/smartlife
Controller

Instructions for the use of the controller button.
- Single-click: turn on the light + scene modes cycle switching.
- Double click: turn off the light.
- Long press: Long press for 5 seconds to reset the network configuration.
Safety Precautions
- Please read the manual carefully before installation, and do not use it under the condition of too high or too low voltage.
- The light source of this luminaire is not replaceable. When the light source reaches the end of its life, the entire luminaire should be replaced.
- The light strip will generate heat during work, please keep the surrounding air convection for heat dissipation.
- Do not bend the position of the LED and the position of the components on the light strip below 90 degrees to avoid damage to the product.
- Do not store in a place where children can reach, children need to use this product under the care of their parents.
- Be sure to use the power adapter that comes with this product.
- The light strip can be extended up to 32ft (extended version).
- This product can only be used in a dry indoor environment.
Warranty
- Under normal use conditions, the product is guaranteed for two years. During the warranty period, if the product fails and confirmed that fails the reason is a quality problem after being inspected by the manufacturer, and the product of the same model will be replaced free of charge.
2. One of the following conditions is not covered by the warranty: - The product is damaged by using it not in accordance with the instructions.
- The user disassembled the internal parts improperly and damaged the product.
- The appearance of the product is seriously damaged or deformed.
![]()
Quick Guide of Using Amazon Echo
to Control Smart Devices
Value-added Service>Smart Voice>Third Party Tutorial
- What you need to get started
Before using Echo to control your smart devices, make sure you meet the following conditions.
• Stable Wi-Fi network which could access to Amazon server. (For mainland China users)
• An Echo device, including Echo, Echo Tap, or Echo Dot.
• An Amazon account. (If you don’t have an Amazon account, click here to register)
• Tuya Smart App and a related account.
• Smart devices. - Link Tuya Smart account to Alexa
①Tap “Skills & Games” in the hamburger menu, then search “TuyaSmart”. Select “TuyaSmart” and tap “ENABLE” to enable the Skill.
5 Amazon
②You will be redirected to the account link page. Type in your Tuya Smart account and password, don’t forget to select the country/region where your account belongs to. Then tap “Link Now” to link your Tuya Smart account. The country/region, the account, and the password must match with the exact content in Step 2.2.
③ Link with Verification nCode, open Tuya Smart App, click “Me–More Services–Alexa”.
Amazon 6
- Control your smart devices through Echo
3.1 Discover devices
Echo needs to discover your smart devices before it controls them. After the skill binding is successful, the page as figure1 will Appear automatically. Click “DISCOVER DEVICES” to discover the device, or you can say “Alexa, discover devices” to Echo. Echo will discover devices that have already been added to the Tuya Smart App.
You can also tap “DISCOVER DEVICES” to discover the smart devices. Discovered devices will be shown in the list (note: the “DISCOVER DEVICES” function can only discover devices that have been added in the Tuya Smart App, but cannot directly discover and add devices).
7 Amazon
3.2 Control devices by voice commands
Now you can control your smart devices through Echo. You can use the following commands to control your devices (e.g., bedroom light):
Alexa, turn on/off the bedroom light. Alexa set the bedroom light to 50 percent. Alexa, brighten/dim bedroom light. Alexa, set to light to green. Alexa, set bedroom light to warm white.
Amazon 8
Quick Guide of Using Google Home
to Control Smart Devices
Value-added Service>Smart Voice>Third Party Tutorial
- What you need to get started
Before using Google Home to control your devices, make sure you meet the following conditions.
• A Google Home device, or Android phone with Google Assistant.
• Latest Google Home App.
• Latest Google App (Android only).
• A Google account.
• The device display language must be set to English US.
• Tuya Smart App and a related account.
• Smart devices. - Link Tuya Smart account to Alexa
Attention: Due to the Google Home App’s known bug, you could only use one Google account to control “Home Control Action”. If you sign in to Google Home App with several Google accounts, only the first Google account you signed in can be used for “Home Control”.
9 Google① On the homepage of the Google Home App, click the button in the higher left corner, select “+”, select “Setupdevice” under the list of “Add and manage”, and then click “Have something already set up”.
Google 10② YFind “Tuya Smart” in the list. In the new window, select your Tuya Smart account’s region, type your Tuya Smart account and password, then tap “Link Now”. After you assign rooms for devices, your devices will be listed on the Home Control page.
③ Link with Verification Code, open Tuya Smart App, click “Me–More Services–Google Assistant”
11 Google
- Control your smart devices through Google Home
Now you can control your smart devices through Google Home. Take bedroom light as the example, the supported voice commands are as below:
• Ok Google, turn on/off the bedroom light.
• Ok Google, set bedroom light to 50 percent.
• Ok Google, brighten the bedroom light.
• Ok Google, dim bedroom light.
• Ok Google, set the bedroom light to red.
www.loycco.com
[email protected]
Industrialization Complex Building,
Nanshan District, shenzhen City
This device complies with Part 15 of the FCC Rules. Operation is subject to the following two conditions: (1) this device may not cause harmful interference, and (2) this device must accept any interference received, including interference that may cause undesired operation
NOTE: This equipment has been tested and found to comply with the limits for a Class B digital device, pursuant to Part 15 of the FCC Rules. These limits are designed to provide reasonable protection against harmful interference in a residential installation. This equipment generates, uses and can radiate radio frequency energy and, if not installed and used in accordance with the instructions, may cause harmful interference to radio communications. However, there is no guarantee that interference will not occur in a particular installation. If this equipment does cause harmful interference to radio or television reception, which can be determined by turning the equipment off and on, the user is encouraged to try to correct the interference by one or more of the following measures:
- Reorient or relocate the receiving antenna.
- Increase the separation between the equipment and receiver.
- Connect the equipment into an outlet on a circuit different from that to which the receiver is connected.
- Consult the dealer or an experienced radio/TV technician for help.
Warning: changes or modifications not expressly approved by the party responsible for compliance could void the user’s authority to operate the equipment
Radiation Exposure Statement
This equipment complies with FCC radiation exposure limits set forth for an uncontrolled environment.
This equipment should be installed and operated with a minimum distance of 20cm between the radiator and your body.




③ Link with Verification nCode, open Tuya Smart App, click “Me–More Services–Alexa”.
Amazon 6

Google 10
③ Link with Verification Code, open Tuya Smart App, click “Me–More Services–Google Assistant”



















