Paul Neuhaus 6068 LED Ceiling Light

This product contains light sources of energy efficiency class <F>.
Feature

Tools

Specification
- 230V/50Hz~
- LED
- 2 x LED-Board 18V DC/6W
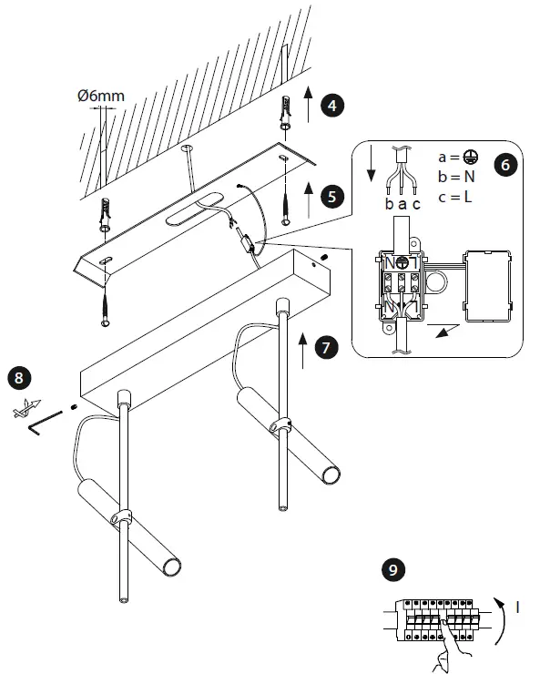
Installation


Paul Neuhaus GmbH
Olakenweg 36 · D-59457 Werl
+49(0)2922 9721 9290
[email protected].
www.paul-neuhaus.de.




















