logitech Rally Bar Mini + Tap IP Video Conferencing System
WHAT’S IN THE BOX

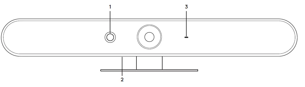
OVERVIEW

- AI Viewfinder
- Security Slot
- Status LED

- Reset
- Bluetooth®
- Power

- 10.1” Touchscreen
- Bottom cover with thumbscrew
- Speaker
- VESA MIS-D 100x100mm
- Motion sensor
- Factory restore pinhole
- Device reset button
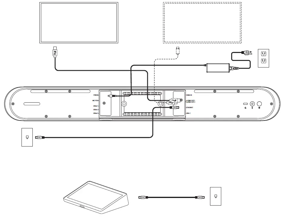
BEFORE YOU BEGIN
You will need
- Meeting Room System Credentials/activation code
- Ethernet Cable(s)
- PoE enabled network OR
- PoE Injector and network (Ethernet or WiFi)

- Connect to PoE enabled network or PoE Injector (not included)
Assembly

APPLIANCE MODE
- Appliance Mode (check supported apps at www.logitech.com/rallybarmini)

Follow on-screen prompts to complete setup

ACCESSORIES

© 2022 Logitech, Logi and the Logitech Logo are trademarks or registered trademarks of Logitech Europe S.A. and/or its affiliates in the U.S. and other countries. All other trademarks are the property of their respective owners. Logitech assumes no responsibility for any errors that may appear in this manual. Information contained herein is subject to change without notice.




















