logitech VR0019 Rally Bar

WHAT’S IN THE BOX


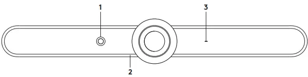
FEATURES

- AI Viewfinder
- Security Slot
- Status LED

- Reset
- Bluetooth
- Power
CONNECTION OPTIONS
- Dedicated Meeting Room Computer (most common)
- Bring Your Own Computer
- Appliance Mode (check supported apps at www.logitech.com/rallybar)
- DEDICATED MEETING ROOM COMPUTER

- BRING YOUR OWN COMPUTER

- APPLIANCE MODE
check supported apps at www.logitech.com/rallybar/support)
REMOTE CONTROL


ACCESSORIES

© 2020 Logitech, Logi and the Logitech Logo are trademarks or registered trademarks of Logitech Europe S.A. and/or its affiliates in the U.S. and other countries. All other trademarks are the property of their respective owners. Logitech assumes no responsibility for any errors that may appear in this manual. Information contained herein is subject to change without notice.
620-009826.002






















