KOOPMAN CRI 98 8W Interlight Titan LED Module
Read this manual carefully and keep it for future use
Cut out dimension
Make a hole of o 50 mm for the module, when you are using our frames, make a hole of 9 72 mm.
Power supply
Driver not included with all modules, available separately.
- Suggestion supply power cable

- Dimensions depend on the type of driver
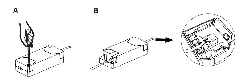
Look at the driver and how far the wire needs to be stripped for a good connection.
- Dimensions depend on the type of driver
- Connecting power supply cable

- Wire connecting

General information
- IP20, only for indoor use.
- Beware of electric shocks.
- Shut off the power for installation and maintenance.
- This product may only be installed by a recognized installer.
- The luminaire and the driver must not be covered with heat-insulating material.

This product contains a light source of energy efficiency class E.
For more information on this product: www.koopmaninterlight.nl






















