ANETA LIGHTING 71135 Trackline Ball

Cleaning: Wipe with a dry cloth.
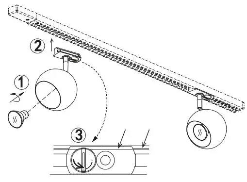
INSTALLATION



Cleaning: Wipe with a dry cloth.

Download manual
Here you can download full pdf version of manual, it may contain additional safety instructions, warranty information, FCC rules, etc.