EGLO 205134A Calloway 4 Light 120 Structured Black Track Lighting Ceiling Light

SAFETY PRECAUTIONS
- Turn off electrical power at breaker panel before starting installation of light fixture (see fig. A)
- This product must be installed in accordance with the applicable installation code by a person familiar with the construction and operation of the product and the hazards involved.
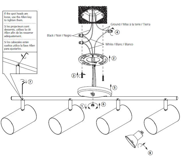
NOTE: product may not look exactly as shown in figures.

INSTRUCTIONS
205134A / 205165A – CALLOWAY
CEILING OR WALL LIGHT























