CRYSTORAMA EMO-5400-MG Emory 4 Light Ceiling Mount

Product Information
Crystorama is a lighting fixture company that has been in the industry for 60 years. The EMO-5400-MG model is a damp-rated ceiling fixture that comes with a mounting bar, mounting hardware, ceiling pan, cap nut, socket, and glass drop. It requires four candelabra base bulbs with a recommended wattage of 40 watts and a maximum wattage of 60 watts. LED bulbs are recommended for extended use. The product measures 9-1/8” in height and has 42 sets of glass drops with a size of W1”xL7-7/8” each.
This product contains lead, which is known to cause cancer and/or birth defects or reproductive harm. For more information, visit www.P65Warnings.ca.gov.
Product Usage Instructions
- Turn off the power before installing the product to avoid electrical danger.
- Install all electrical components by a licensed electrician in accordance with the National Electric Code and the appropriate local electrical codes.
- Place the mounting bar over the outlet box. Mark two points on the ceiling at the center of the keyhole on the mounting bar.
- Drill two holes at the marked points and insert the wall anchors.
- Place the mounting plate over the outlet box and secure it with outlet box screws. Insert the anchor screws into the wall anchors (Installed in step#2) and tighten.
- Raise the ceiling pan allowing the mounting screws to protrude through the holes in the ceiling pan, and secure it with the cap nuts.
- Hang glass drop to the ceiling pan.
- Install the bulbs(not included) into the socket.
Follow the above instructions carefully to avoid any damage or injury while installing the Crystorama EMO-5400-MG model.
WARNING:
- Electrical Danger
- Turn Power off
All electrical components must be installed by a licensed electrician in accordance with the National Electric Code and the appropriate local electrical codes.

You will need 4- Candelabra Base Bulb 40 Watts Recommended 60 Watts Max. USE LED BULBS FOR EXTENDED USE This fixture is Damp rated.
How to install
- Place the mounting bar over the outlet box. Mark two points on the ceiling at the center of the keyhole on the mounting bar.
- Drill two holes at the marked points and insert the wall anchors.
- Place the mounting plate over the outlet box and secure it with outlet box screws. Insert the anchor screws into the wall anchors (Installed in step#2) and tighten.
- Raise the ceiling pan allowing the mounting screws to protrude through the holes in the ceiling pan, and secure it with the cap nuts.
- Hang glass drop to the ceiling pan.
- Install the bulbs(not included) into the socket.


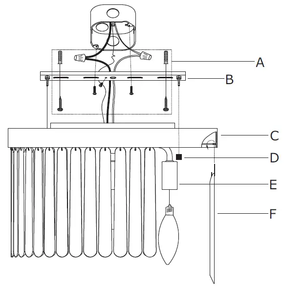
Part Number
- A. (1)-Mounting hardware
- B. (1)-Mounting bar
- E. (4)-Socket
- C. (1)-Ceiling pan
- D. (2)-Cap nut
- F. (42)-Glass drop W1’’xL7-7/8’’

WARNING:
This product can expose you to Lead which is known to the state of California to cause cancer and/or birth defects or reproductive harm. For more information go to www.P65Warnings.ca.gov.

















