
REFRIGERATION MINI FRIDGES

RH430LD, RH430LG, RH440LD, RH440LG, RH460LD, RH460LG
Sine wave inverter
nstallation and Operating Manual
Please read these operating instructions carefully before putting the refrigeration unit into operation. If you later sell or dispose of it, please ensure that the new owner receives these operating instructions. Please follow the installation details below carefully Guarantee is valid for products installed as described only. (See chapter 4.1)
Thank you for choosing our appliance. We are sure it will provide you with trouble-free use. In the following, we would like to familiarise you with some symbols, which we bring to your attention to ensure the safe and efficient operation of the appliance:
source of danger, in event of improper operation
suggested useful tips to read
information concerning environmental protection
Attention!
- This appliance is not intended for use by persons(including children) with reduced physical, sensory or mental capabilities, or lack of experience and knowledge, unless they have been given supervision or instruction concerning use of the appliance by a person responsible for their safety.
- Children should be supervised to ensure that they do not play with the appliance.
- Damaged supply cords to be replaced by the manufacturer,service agent or similarly qualified person to avoid hazard.
- Any electrical work required to install this appliance should be carried out by a qualified electrician.
- This product should be serviced by an authorised Service Engineer, and only genuine spare parts should be used.
- It is dangerous to alter the specifications or modify this product in any way.
- Care must be taken to ensure that the appliance does not stand on the electrical supply cable.
- There are working parts in this product which heat up. Always ensure that there is adequate ventilation as a failure to do this will result in component failure and possible content loss. See installation instructions.
- Parts which heat up should not be exposed. Wherever possible the back of the product should be close to a wall but leaving the required distance for ventilation as stated in the installation instructions.
- Before defrosting, cleaning or maintenance work is carried out, be sure to switch off the appliance and unplug it.
- DO NOT USE SHARP INSTRUMENTS to scrape off frost or ice. Under no circumstances should solid ice be forced off the cooling fins. Solid ice should be allowed to thaw when defrosting the appliance. See defrost instructions.
- This appliance is heavy. Care should be taken when moving it.
- Under no circumstances should you attempt to repair the appliance yourself. Repairs carried out by inexperienced persons may cause injury or more serious malfunctioning. Refer to your local Service Centre and always insist on genuine spare parts.
- In this appliance the storage of any toxic or explosive substance is forbidden!
- The appliance is for indoor use only.
Attention!
Warranty arrangements are in accordance with EC Directive 44/1999/CE and the normal conditions applicable in the country concerned.
For warranty or other servicing, such as spare-parts, please contact our Dometic Service Network.
The warranty does not cover any damage due to improper use.
The warranty does not cover any modifications to the appliance or the use of non-original
Dometic spare-parts.
The warranty does not apply if the installing and operating instructions are not adhered to. When contacting Dometic Service Network, please state the model, product number and serial number. You will find this information on the data plate inside of the refrigerator.
Unpacking
After removal from the cardboard packaging, make sure the appliance is not damaged.If you find damage to the appliance resulting from transport, report it immediately to the transportation firm.
View of the appliance

Fig.1
| 1. Door 2. Lamp 3. Evaporator | 4. Sensor 5. Thermostat knob 6. Fixing foot |
IN CASE lF YOUR REFRIGERATOR IS EQUlPPED WlTH LOCK, DOMETIC DO NOT ACCEPT LlABlLlTY FOR LOSS OR DAMAGE OF KEYS. HOWEVER WE WOULD BE HAPPY TO SUPPLY A COMPLETE LOCK AND KEY REPLACEMENT.
KEEP THE KEY OUT OF REACH OF CHILDREN AND NOT IN VICINITY OF THE REFRIGERATOR.
Cleaning
Clean the refrigerator thoroughly at intervals, as necessary. Remove the shelves; these, the cabinet interior and the door should be washed with a warm solution of sodium bi-carbonate. Finally wipe over with a cloth rinsed in warm water only, and dry with a clean cloth. Do not wash any plastic parts in water that is more than hand warm, and do not expose them to dry heat. The outside of the cabinet should be wiped down regularly with a clean, damp cloth.
NEVER USE STRONG CHEMICALS OR ABRASIVE CLEANING MATERIALS ON ANY PART OF THE CABINET.
Positioning the appliance
When first using this refrigerator please consider the following points:
- ENSURE REFRIGERATOR IS LEVEL
- THE PIPEWORK AT THE BACK GETS HOT IN USE
- THE REFRIGERATOR HAS NO ‘MOTOR’ AND IS THEREFORE VIRTUALLY SILENT
- ALLOW AT LEAST 3 HRS. FOR SIGNS OF COOLING
During the refrigeration process, the appliance gives off heat from the condenser (under the upper part of the rear cover) into the surrounding air. The more ventilated the condenser is, the more effective the refrigeration will be.
- The other condition for satisfactory operation is that the appliance stands on a flat surface. This is best seen by placing a glass of water on top of the appliance.
- It is important that the appliance is not directly exposed to radiated heat (sunlight, radiator, near an oven, etc.).
Installation instructions
The refrigerator is equipped with an electrically heated absorption cooling unit which is virtually silent in operation. The fridge is designed for free-standing installation, but can be built-in if the following conditions are complied with to ensure satisfactory operation and maximum cooling efficiency.
IMPORTANT
Please follow the installation details below carefully Guarantee is valid for products installed as described only.
- The refrigerator must be level both directions
- There should be 20 mm clearance to the wall
- Ventilation must be provided as shown in alternatives A, B, C or D (fig 2-3)
- The ventilation duct must at least measure 105 mm x the width of the refrigerator
- Only the entire cooling unit must project into the duct as shown
- Air passing through the duct must not be preheated by any source of heat
- Ventilation grills, if used, must have openings of at least 200cm2 each
- For glass door version ,when ambient humidity is above 65percent in 25degree ambient temperature,the fog will emerge.
NOTE: no front cabinet door for glass door version.

The refrigerator can be fixed to the bottom of the furniture through its fixing feet using screws of an appropiate length. (Fig. 4)
During installation, please ensure the mains plug is accessible at all times.
Using the appliance
To start the refrigerator,connect the plug to the socket outlet and switch on the socket. The cooling fins should show signs of cooling after about 3 hours. The refrigerator needs about 6 hours at normal ambient temperature to reach 6 °C in the storage compartment.
Temperature regulation
The usual setting required is in the rigion that is between max. and min. on the thermostat knob(Fig.5).
The knob can be turned to max. to produce a colder temperature or the min. to produce a warmer temperature and lower energy consumption.

Energy saving tips
- Choose a well ventilated installation location which is protected against direct sunlight.
- Allow warm food to cool down first before placing it in the device to keep cool.
- Do not open the cooling device more often than necessary.
- Do not leave the door open for longer than necessary.
- If you want to set an increased energy efficiency and a limited cooling capacity for the cooler unit,turn the knob to min..
Cooling Unit Contro (CUC)
The electronics carry out a CUC test after every defrosting period (every 24 hrs) by measuring the temperature at the evaporator by means of a second sensor.
If the electronics detect a malfunction, the miniBar is automatically switched off.
Thermo fuse
One version of minibar has no CUC function but a thermo fuse on the back to protect the cooling unit against over heating.
Useful suggestion
Do not overfill the appliance. It is advisable to leave some space between the products in the cabinet to ensure efficient and even cooling. If the shelves are packed too tightly there may be unacceptable temperature variations.
Defrosting, cleaning, and maintence
Frost will gradually form on the cooling surfaces.
This frost-formation is kept back by the FUZZY LOGIC system built into the appliance by switching off the unit for two hours in every 24 hours. The frost will melt and the defrost water will run through the drain tube from the drip channel into an evaporating vessel located at the bottom rear of the refrigerator.( Fig.6) The defrost water will evaporate automatically into the circulating air and the vessel will not need emptying manually.
If you want to switch off the unit, disconnect the refrigerator from the electricity supply and leave the cabinet door open. After defrosting the cabinet interior should be wiped out with a clean, damp cloth.
Changing the lightbulb (If available)
If the lightbulb needs changing,proceed as follows:
| 1. Pull the plug out of the power socket. | ![]() |
| 2. Remove the light cover and unscrew down the light plate. | ![]() |
| 3. Take the light plate out of the case and replace it with a new one that has the same rating | ![]() |
| 4. Re-assemble the case in the reverse order. A new 10-watt bulb can be obtained at ometic. | ![]() |
Reversing the door hang,
Lay the appliance on its back. Remove the 8 screws (1). Remove the door, together with the two hinges (2), from the housing. Remove the two cover caps (3) from the housing and place them in the open hinge holes in the housing. Place the bottom righthand hinge in the top left of the door and the top righthand hinge in the bottom left of the door and hang the door on its hinges in the open cover cap holes in the housing. Secure the hinges and cover caps with the 8 screws.
Check that the door closes easily and is sealed properly.
Changing the Sliding Hinge

The length of the hinge stretching out of the refrigerator door must be 80mm.
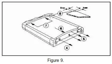
Distance to cupboard door (A)
![]() | ![]() |
- When closed, the cupboard door (A) must not lie against the rest of the surrounding cupboard area (distance 1-2mm).
- There must be a distance of 6-8mm between the cupboard door and the miniBar.
Replacing the decorative door panel
Remove the two screws (1) from the upper hinge of the door.
Pull the door together with the hinge away from the housing and up off the lower hinge bolt (2-3).
Remove screws (4) and pull off the frame edge (5).
Slide the decorative panel (6) out of the door frame and insert the new panel (7), so that the upper edge of the panel runs exactly parallel to the upper edge of the frame. A new panel can be inserted more easily into the upper edge of the frame when the two corners are cut off by approx. 5× 5 mm (8). Put the frame edge (5) back in place and secure with screws.
Place the door on the lower hinge (9), slot the upper hinge into the opening, press together with the door against the housing and secure with the two screws (11).
![]() | ![]() | ![]() |
Check list and customer service
| Failure : No coo ing (the cooling unit at the back of the device is cold). | ||
| Possible Cause | Self Help | Authorised Service |
| a.) The device plug is not plugged in. b.) No voltage in socket. c)The electronicsor the sensor is faulty. d) The heating element is faulty e.)The device is in its defrosting phase. | a.)Plug in device plug. b.) Check main fuse e.) See operating instruction 8. | c.)Install new electronics or sensor. d.)Install new heating element |
| Failure : No cooling (the cooling unit is warm). | ||
| Possible Cause | Self Help | Authorised Service |
| a.)The device is not level. Leakage test ? b.)The device was only switched on a short while ago. c.)Defective cooling unit. | a.)Level the device using a spirit level. b.)Switch on the device and let it run for 5-6 hours. | c.)Exchange device. |
| Failure : Poor cooling performance. | ||
| Possible Cause | Self Help | Authorised Service |
| a.) The cooling unit is not sufficiently ventilated. b.) The device is exposed to direct sunlight. c.) The fridge door does not close tightly d.) The fridge was stocked a short while ago. | a.) Check that the ventilation grids are not covered. Check that device has been installed properly (installation instruction 4). b.) Follow installation instruction 4). c.) Check installation in line 4. d.) Check fridge after 5-6 hours for proper cooling function. | c.) Install new doorseal, if necessary. |
| Failure: Frost formation in fridge. | ||
| Possible Cause | Self Help | Authorised Service |
| a.) The fridge door does not close tightly. | a.) Check installation is in line with 4. | a.) Install new doorseal, if necessary. |
If after checking all the above points, the refrigerator is still not working satisfactorily, contact your nearest service engineer. State the problem, model, product- and serial-number. (Details of the model, product- and serialnumber are to be found on the data label in the top left of the inside compartment.)
This refrigerator is equipped with a CUC system.
An authorised service technician can check whether this has been triggered or not.
In the event of a fault developing, contact your nearest Service Centre-see local telephone directory.
Connecting to electrical mains
The appliance may only be operated from nominal voltage mains as shown on the data plate. The appliance mains plug may be connected to a mains socket earthed in accordance with regulations.
Any electrical work required to install this appliance should be carried out by a qualified electrician or competent person.
The manufacturer declines any liability should these safety measures not be observed.
Electrical Repuirements
Before switching on, make sure the electricity supply voltage is the same as that indicated on the appliance rating plate
Only for UK:
The appliance is supplied with a 5 amp plug fitted. In the event of having to change the fuse in the plug supplied, a5 amp ASTA approved (BS 1362) fuse must be used. Should the plug need to be replaced for any reason, the wires in the mains lead are coloured in accordance with the following code:
Green and Yellow: Earth
Blue: Neutral
Brown: Live
The wire coloured green and yellow must be connected to the terminal marked with the letter “E” or by the earth symbol
or coloured green and yellow. The wire coloured blue must be connected to the terminal marked “N” or coloured black. The wire coloured brown must be connected to the terminal marked “L” or coloured red.
Upon completion there must be no cut, or stray strands of wire present and the cord clamp must be secure over the outer sheath.
Environmental protection information
The appliance does not contain any CFCs/HCFCs.
Ammonia (natural hydrogen and nitrogen compound) is used as a refrigerating agent in the refrigeration unit.
The ozone-friendly cyclopentane is activated as a motive agent for the PU foam insulation.
Sodium chromate is used for corrosion protection (less than 2 weight % of the coolant).
Recycling
After unpacking the appliance, the packing materials should be delivered to a local collection site. At the end of its useful lifetime, the appliance should be delivered to a specialized collection and reprocessing firm, which reclaims the usable materials. The rest is properly destroyed.
This appliance complies with the following EEC directives:
LVD-Directive 73/23/EEC with amendment 90/683/EEC
EMC-Directive 89/336/EEC
Technical data
| Model | RH43OLD | RH43OLG | RH44OLD | RH44OLG | RH46OLD | RH46OLG |
| Gross volume (L) | 30 | 40 | 60 | |||
| Usable capacity(L) | 26 | 27 | 36 | 37 | 55 | 56 |
| Mains operation | 220 – 240V AC, 50 / 60 Hz | |||||
| Input consumption (W) | 65 | 80 | ||||
| Temperature range | 3-12ºC | |||||
| Energy consumption (kWh/24h , according to ISO 15502, 25 °C ambient / 7 °Cinside ) | 0.85 | 1.1 | 0.9 | 1.2 | 1.3 | |
| Sfety climate class | N or T | |||||
| Refrigerant | 82g NH3 | 101g NH3 | ||||
| Noise emission (dB(A)) | 0 | |||||
| Test/Certificates | ||||||

Mobile living made easy.
| YOUR LOCAL DEALER dometic.com/dealer | YOUR LOCAL SUPPORT dometic.com/contact | YOUR LOCAL SALES OFFICE dometic.com/sales-offices |
A complete list of Dometic companies, which comprise the Dometic Group, can be found in the public filings of:
DOMETIC GROUP AB * Hemvarnsgatan 15 * SE-17154 Solna * Sweden






























