First FRIDGE 651427 Little Tikes Fridge Installation

CONTENTS
NOTES: • Make sure to remove and discard all tape and packaging material before beginning. The unit comes with 16 screws, but only 15 are needed for assembly.
- A. 1 Little Tikes® First Fridge

- B. 1 Bottom Freezer (2 Parts)

- C. 1 Shelf

- D. 2 Trays

- E. 1 Cup

- F. 1 Orange

- G. 1 Ice Cube Tray

- H. 4 Ice Cubes

- I. 1 Ice Cream Cone

- J. 1 Milk Carton

- K. 1 Ketchup Bottle

- L. 16 Screws

- M. 2 Round Connectors

- N. 2 Square Connectors

O. 1 Base Plate
REPLACING THE BATTERIES
2. Install three (3) 1.5V AA (LR6) alkaline batteries (not included) making sure the (+) and (-) ends face the proper direction as indicated inside the battery compartment.
3. Replace the compartment cover and tighten the screw.

ASSEMBLY
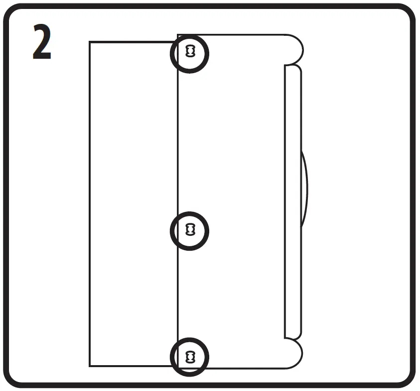
- Open the fridge’s doors and push in the back wall.

- Align the openings on the sides.

- Insert three screws on each side. Make sure the screw enters both openings. Then, turn the screw to lock in place.

- Angle the shelf and, using some force, slide it into the fridge. Then, straighten it and place on top of the brackets. For best results, make sure the corner of the shelf is as close as possible to the corner of the fridge and the shelf is above the brackets

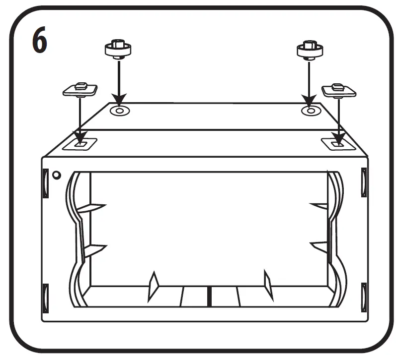
- Pull out the drawer from the bottom freezer and set aside. Then, push in the back wall until the openings on the side and the one on the bottom align. Insert five screws through the openings and turn to lock in place.

- Snap the connectors into the openings on top of the bottom freezer.

- Attach the base plate under the bottom freezer.

- Attach the fridge to the bottom freezer by inserting the connectors into the openings under the fridge. Assembly Tip: Open the fridge’s doors for a better view of the openings’ locations.

- Pull out the back wall of the drawer and align the openings. Insert four screws and turn to lock in place.

- Insert the drawer into the bottom freezer.

- Slide the trays into the brackets on the fridge’s door. Trays will snap in place.

- Display your own notes or photos. Pinch the top of clips to open and insert a note or photo into the clip.

- Before beginning, move the switch on top of the fridge from Try Me (X) to the ON (I) position .The unit will make refrigerator sounds. Always turn the unit OFF (O) after use to conserve battery power

- Open the fridge’s doors. The light inside will turn on when the refrigerator is open. Insert the ice cubes into the slot on the back of the door. Then, close the door.

- Use the cup to press and hold the red button on the front of the door and the ice cubes will fall .The unit will make ice sounds

IMPORTANT INFORMATION
- Clean accessories thoroughly before use. Only use a damp cloth to clean the unit. Keep water away from the battery compartment.
- Product will go into sleep mode after 30 seconds of no activity. Press the button on the front or open the door to turn it back on.
- Only use the items included. Do not use real food or real ice cubes with the fridge or accessories.
- If the fridge’s doors detach from the hinges, replace it into the hinges and close the door.
BATTERY SAFETY INFORMATION
- Use only size “AA” (LR6) alkaline batteries (3 required).
- Charging of rechargeable batteries should only be done under adult supervision.
- Remove rechargeable batteries from the product before recharging.
- Do not mix old and new batteries.
- Do not mix alkaline, standard (carbon-zinc), or rechargeable batteries.
- Be sure to insert the batteries correctly and follow the toy and battery manufacturer’s instruction.
- Always remove exhausted or dead batteries from the product.
- Dispose of dead batteries properly: do not burn or bury them.
- Do not attempt to recharge non-rechargeable batteries.
- Avoid short-circuiting battery terminals.
- Remove batteries before placing the unit into storage for a prolonged period of time.
FCC COMPLIANCE
NOTE:
This equipment has been tested and found to comply with the limits for a Class B digital device, pursuant to Part 15 of the FCC Rules. These limits are designed to provide reasonable protection against harmful interference in a residential installation. This equipment generates, uses and can radiate radio frequency energy and, if not installed and used in accordance with the instructions, may cause harmful interference to radio communications. However, there is no guarantee that interference will not occur in a particular installation. If this equipment does cause harmful interference to radio or television reception, which can be determined by turning the equipment off and on, the user is encouraged to try to correct the interference by one or more of the following measures:
- Reorient or relocate the receiving antenna.
- Increase the separation between the equipment and receiver.
- Connect the equipment into an outlet on a circuit different than that to which the receiver is connected.
- Consult the dealer or an experienced radio/TV technician for help.
This device complies with Part 15 of the FCC Rules. Operation is subject to the following two conditions:
- This device may not cause harmful interference, and
- this device must accept any interference received, including interference that may cause undesired operation.
Caution:
Modifications not authorized by the manufacturer may void user’s authority to operate this device. CAN ICES-3 (B)/NMB-3(B).\
LIMITED WARRANTY
The Little Tikes Company makes fun, high quality toys. We warrant to the original purchaser that this product is free of defects in materials or workmanship for one year * from the date of purchase (dated sales receipt is required for proof of purchase). At the sole election of The Little Tikes Company, the only remedies available under this warranty will be the replacement of the defective part or replacement of the product. This warranty is valid only if the product has been assembled and maintained per the instructions. This warranty does not cover abuse, accident, cosmetic issues such as fading or scratches from normal wear, or any other cause not arising from defects in material and workmanship. *The warranty period is three (3) months for daycare or commercial purchasers. U.S.A and Canada: For warranty service or replacement part information, please visit our website at www.littletikes.com, call 1-800-321-0183 or write to: Consumer Service, The Little Tikes Company, 2180 Barlow Road, Hudson OH 44236, U.S.A. Some replacement parts may be available for purchase after warranty expires—contact us for details. Outside U.S.A and Canada: Contact place of purchase for warranty service. This warranty gives you specific legal rights, and you may also have other rights, which vary from country/state to country/state. Some countries/states do not allow the exclusion or limitation of incidental or consequential damages, so the above limitation or exclusion may not apply to you.
- ‘Let’s care for the environment!’
The wheelie bin symbol indicates that the product must not be disposed of with other household waste. Please use designated collection points or recycling facilities when disposing of the item. Do not treat old batteries as household waste. Take them to a designated recycling facility.















REPLACING THE BATTERIES

































