REFRIGERATORS FRIDGE
Refrigerators FRIDGE & FREEZER
INSTALLATION
Before Installing
Installation Overview
Please read the following installation instructions first after purchasing this product or transporting it to another location.
- Unpacking the Refrigerator
- Choosing the Proper Location
- Disassembling/Assembling
- Connecting the Water Line
- Leveling and Door Alignment
Unpacking the Refrigerator
WARNING
- Use two or more people to move and install the refrigerator. Failure to do so can result in back injury or other injury.
- The refrigerator is heavy. Protect the floor when moving the refrigerator for cleaning or service. Always pull the refrigerator straight out when moving it. Do not wiggle or walk the refrigerator when trying to move it, as floor damage could occur.
- Keep flammable materials and vapors, such as gasoline, away from the refrigerator. Failure to do so can result in fire, explosion, or death.
NOTE:
- Remove tape and any temporary labels from your refrigerator before using. Do not remove any warning labels, the model and serial number label, or the Tech Sheet that is located under the front of the refrigerator.
- To remove any remaining tape or glue, rub the area briskly with your thumb. Tape or glue residue can also be easily removed by rubbing a small amount of liquid dish soap over the adhesive with your fingers. Wipe with warm water and dry.
- Do not use sharp instruments, rubbing alcohol, flammable fluids, or abrasive cleaners to remove tape or glue. These products can damage the surface of your refrigerator.
- Reinstall or adjust shelves as needed. Refrigerator shelves are installed in the shipping position. Reinstall shelves according to your individual storage needs.
Choosing the Proper Location
Water
Water supply must be easily connected for the automatic icemaker.
NOTE:
The water pressure must be 20 – 120 psi or 138 – 827 kPa or 1.4 – 8.4 kgf/cm2. If the refrigerator is installed in an area with low water pressure(below 20 psi or 138 kPa or 1.4 kgf/cm2), you can install a booster pump to compensate for the low pressure.
Electricity
Use an individual, grounded outlet:115 Volts, 60 Hz, AC, 15 Amps minimum.
WARNING
- Do not overload house wiring and cause a fire hazard by plugging in multiple appliances in the same outlet with the refrigerator.
- To reduce the risk of electric shock, do not install the refrigerator in a wet or damp area.
Flooring
To avoid noise and vibration, the unit must be installed and leveled on a solidly constructed floor. If required, adjust the leveling legs to compensate for the unevenness of the floor.
NOTE: Installing on carpeting, soft tile surfaces, a platform or weakly supported structure is not recommended.
Ambient Temperature
Install this appliance in an area where the temperature is between 55 °F (13 °C) and 110 °F (43 °C). If the temperature around the appliance is too low or high, cooling ability may be adversely affected.
Dimensions and Clearances
- Check the dimensions of the appliance and the installation path to ensure there is sufficient room to move the refrigerator through doors or narrow openings.
- If an opening is too narrow to fit the refrigerator through, remove the refrigerator doors. See Removing/ Assembling the Doors and Drawers in this manual.
- The installation location chosen for the refrigerator should allow space behind the unit for connections and airflow and space in front to open the doors and drawers.
- A very small distance between adjacent elements can result in reduced cooling capacity and at high power consumption charges. Leave at least 24 inches (610 mm) in front of the refrigerator to open the doors, and at least 2 inches (50.8 mm) between the refrigerator (rear, left side, right side and top) and the wall.

– List Model 26 cu.ft. A Depth without handle 33 2/5” (848 mm)
B Width 35 9/10” (912 mm)
C Height to Top of Case 68 9/10” (1750 mm)
D Height to Top of Hinge 70 3/10” (1785 mm)
E Back Clearance 2” (50 mm)
F Depth without Door 28 7/10” (730 mm)
G Depth (Total with Door Open 90°) 50 3/5” (1285 mm)
H Front Clearance 24” (610 mm)
I Depth With handle 35 9/10” (912 mm)
Removing/Assembling the Refrigerator Door Handles
NOTE: When it is necessary to move the refrigerator through a narrow opening, removing the doors is the recommended procedure. If it is necessary to remove the handles, follow the directions below. The appearance of the handle may vary from what is shown in the illustrations.
Removing the Handles
- Loosen the set screws with a 3/32 in. Allen wrench and remove the handle.
- Loosen the mounting fasteners that connect to the refrigerator door and handle using a ¼ in. Allen wrench, remove the mounting fasteners.

Assembling the Handles
- Assemble the mounting fasteners at both ends of the handle using a ¼ in. Allen wrench.
- Place the handle on the door by tting the handle footprints over the mounting fasteners and tightening the set screws with a 3/32 in. Allen wrench.

Removing and replacing refrigerator doors
WARNING
Excessive Weight Hazard:
- Use two or more people to remove and install the refrigerator doors. Failure to do so can result in back or other injury.
Electrical Shock Hazard
- Disconnect the electrical supply to the refrigerator before installing. Failure to do so could result in serious injury or death.
- Do not put hands, feet or other objects into the air vents or bottom of the refrigerator. You may be injured or receive an electrical shock.
Removing the Left (Freezer) Door with Water Line Connection
- Disconnect the 2 water line connections, located on the back of the refrigerator. Hold the water supply connection and gently push the collet to detach the water supply line as shown.

CAUTION: Before you start, take out the food and remove the door trays. - Open the door. Remove the top hinge cover screw.
- Use a flat-blade screwdriver to pry back the hooks (not shown) of the hinge cover from the top of the refrigerator cabinet. Lift up the cover.
- Disconnect all the wire harnesses and remove the hinge cover .
- Pull out the water supply lines.
- Unscrew the ground wire .
- Rotate the hinge lever counterclockwise . Lift the upper hinge free of the hinge lever latch.

CAUTION When lifting the hinge free of the latch, be careful that the door does not fall forward. - Lift the door from the lower hinge pin and place it, inside facing up, on a non-scratching surface.
Removing the right (refrigerator) door

- Open the door. Remove the screw from the cover of the upper hinge . Lift the lid.
- Use a flat screwdriver to make lever and lift the hooks (not seen in the image) located at the bottom front of the lid. Lift the lid.
- Turn the hinge lever on the clockwise. Lift the upper hinge separated from the bra of the hinge lever .
- Place the door, with the inner part up, on a surface that does not scratch.
CAUTION:
When you lift the hinge separate from the clamp, be careful that the Door does not fall forward.- Lift the door from the power plug middle hinge and remove the door.
- Place the door, with the inner part up, on a surface that does not scratch.
- Raise the door from the bottom pin of the hinge.
CAUTION- When releasing the handle hinge, be careful that the door does not fall forward.
- Place the door, the inside looking outward, on a scratched surface, have be careful not to damage the water lines.
Reinstalling the Left (Freezer) Door
- Lower the door onto the hinge pin of the means, medium.
- Make sure the door is aligned with the interior cabinet.
- Place the top hinge on the fastener of the hinge lever and in place. Turn the clockwise lever and adjustment the hinge.
Disassembling/Assembling the water lines.
- Reconnect the water lines by inserting them into the connectors. The water lines are inserted correctly when only one of the two guidelines remains visible.

NOTE: Water hoses should be cut leaving a clean and straight edge to avoid losses.
- Reconnect all of the wire harnesses.
- Reconnect the ground wire.
- Hook the tab on the switch side of the cover under the edge of the wire opening in the cabinet top. Position the cover in place. Insert and tighten the cover screw.
Reinstalling the right (Refrigerator) Door
- Position the door from the bottom pin of the hinge.

- Place the top hinge above the latch the hinge lever and place it instead. Rotate the lever in direction counter clockwise and secure the hinge.

- Reconnect all harnesses. Hook the tab on the side switch of the lid, under the edge of the opening in the top of the cabinet. Place the lid and replace screw.

Moving the Appliance
- Remove all food from inside the appliance.
- Pull the power plug out, insert and fix it into the power plug hook at the rear or on top of the appliance.
- Tape parts such as shelves and the door handle to prevent from falling off while moving the appliance.
- Move the appliance with more than two people carefully. When transporting the appliance over a long distance, keep the appliance upright.
- After installing the appliance, connect the power plug into a socket out to switch on the appliance.
CAUTION
- To prevent burns and product damage, only connect the refrigerator water line to a cold water supply.
- Wear eye protection during installation to prevent injury.
Water Pressure
You will need a cold water supply.
| Water Pressure | |
| Models with out water filter | 20 – 120 psi (138 – 827 kPa) |
| Where reverse | 40 – 60 psi minimum to |
| osmosis water | reverse osmosis system (2.8 |
| filtration system is | kgf/cm2 – 4.2 kgf/ cm2, or |
| connected to a cold | less than 2 – 3 seconds to fill |
| water supply | a cup of 7 oz capacity) |
If the water pressure from the reverse osmosis system is less than 20 psi or 138 kPa or 1.4 kgf/ cm2 (takes more than 4 seconds to fill a cup of 7 oz or 198 cc capacity):
- Check to see if the sediment filter in the reverse osmosis system is blocked. Replace the filter if necessary.
- Allow the storage tank on the reverse osmosis system to refill after heavy usage.
- If the water pressure remains low, call a licensed, qualified plumber.
- All installations must be in accordance with local plumbing code requirements.
Supplies Needed
- Copper or PEX Tubing, ¼ in. outer diameter, to connect the refrigerator to the water supply. Be sure both ends of the tubing are cut square. To determine how much tubing you need, measure the distance from the water valve on the back of the refrigerator to the water supply pipe. Then, add 8 feet (2.4 m). Be sure there is sufficient extra tubing (about 8 feet [2.4 m] coiled into 3 turns of about 10 in. [25 cm] diameter) to allow the refrigerator to move out from the wall after installation
- Power drill.
- ½ in. or adjustable wrench.
- Flat-blade and Phillips-head screwdrivers.
- Two ¼ in. outer diameter compression nuts and 2 ferrules (sleeves) to connect the copper tubing to the shutoff valve and the refrigerator water valve.

- If your existing copper water line has a flared fitting at the end, purchase an adapter (available at plumbing supply stores) to connect the water line to the refrigerator OR cut off the flared fitting with a tube cutter and then use a compression fitting.

- Shutoff valve to connect to the cold water line. The shutoff valve should have a water inlet with a minimum inside diameter of 5/32 in. at the point of connection to the COLD WATER LINE. Saddle-type shutoff valves are included in many water supply kits. Before purchasing, make sure a saddle-type valve complies with your local plumbing codes.

NOTE: A self-piercing saddle type water valve should not be used.
Water Line Installation Instructions
Install the shutoff valve on the nearest frequently used drinking water line.
WARNING: When using any electrical device (such as a power drill) during installation, be sure the device is battery-powered, double-insulated or grounded in a manner that will prevent the hazard of electric shock.
- Shut off the main water supply.
- Turn on the nearest faucet to relieve the pressure on the line.
- Choose the valve location.
Choose a location for the valve that is easily accessible. It is best to connect into the side of a vertical water pipe. When it is necessary to connect into a horizontal water pipe, make the connection to the top or side, rather than at the bottom, to avoid drawing off any sediment from the water pipe.
- Drill the hole for the valve.
Drill a ¼ in. hole in the water pipe using a sharp bit. Remove any burrs resulting from drilling the hole in the pipe. Be careful not to allow water to drain into the drill. Failure to drill a ¼ in. hole may result in reduced ice production or smaller cubes.
NOTE: The hookup line cannot be white, plastic tubing. Licensed plumbers must use only copper tubing (NDA tubing #49595 or #49599) or Cross Link Polyethylene (PEX) tubing.
- Fasten the shutoff valve.
Fasten the shutoff valve to the cold water pipe with the pipe clamp.
NOTE: Commonwealth of Massachusetts Plumbing Codes 248CMR shall be adhered to. Saddle valves are illegal and use is not permitted in Massachusetts. Consult with your licensed plumber.
- Pipe Clamp
- Saddle-Type Shutoff Valve
- Vertical Cold Water Pipe
- Tighten the pipe clamp.
Tighten the clamp screws until the sealing washer begins to swell.
- Pipe Clamp
- Inlet End
- Clamp Screw
- Washer
- Route the tubing.
Route the tubing between the cold water line and the refrigerator. Route the tubing through a hole drilled in the wall or floor (behind the refrigerator or adjacent base cabinet) as close to the wall as possible.
NOTE: Be sure there is sufficient extra tubing (about 8 ft. coiled into three turns of about 10 in. diameter) to allow the refrigerator to move out from the wall after installation. - Connect the tubing to the valve.
Place the compression nut and ferrule (sleeve) for copper tubing onto the end of the tubing and connect it to the shutoff valve. Make sure the tubing is fully inserted into the valve. Tighten the compression nut securely.
- Saddle-Type Shutoff Valve
- Compression Nut
- Packing Nut
- Outlet Valve
- Ferrule (sleeve)
- Flush out the tubing.
Turn the main water supply on and flush out the tubing until the water is clear. Shut the water off at the water valve after about one quart of water has been flushed through the tubing.
- Connect the tubing to the refrigerator.
NOTE:- Before making the connection to the refrigerator, be sure that the refrigerator power cord is not plugged into the wall outlet.
- Remove the plastic flexible cap from the water valve.
- Place the compression nut and ferrule (sleeve) onto the end of the tubing as shown.
NOTE: Insert the end of the copper tubing into the connection as far as possible. While holding the tubing, tighten the fitting.
1. Tubing Clamp
2. ¼ in. Tubing
3. ¼ in. Compression Nut
4. Ferrule (sleeve)
5. Refrigerator Connection
- Turn the water on at the shutoff valve.
Tighten any connections that leak.
CAUTION: Check to see if leaks occur at the water line connections.
Leveling and Door Alignment
Leveling
The refrigerator has two front leveling legs. Adjust the legs to alter the tilt from front-toback or side-to side. If the refrigerator seems unsteady, or the doors do not close easily, adjust the refrigerator’s tilt using the instructions below:
- Turn the leveling leg to the left to raise that side of the refrigerator or to the right to lower it. It may take several turns of the leveling leg to adjust the tilt of the refrigerator.
NOTE: A flare nut wrench works best, but an open-end wrench will suffice. Do not over-tighten.
- Open both doors and check to make sure that they close easily. If the doors do not close easily, tilt the refrigerator slightly more to the rear by turning both leveling legs to the left. It
may take several more turns, and be sure to turn both leveling legs the same amount.
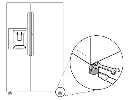
Door Alignment
Both the left and right refrigerator doors have an adjustable nut, located on the bottom hinge, to raise and lower them to align properly. If the space between the doors is uneven, follow the instructions below to align the doors evenly: Use the wrench (included with the owner’s manual) to turn the nut in the door hinge to adjust the height. Turn the nut to the right to raise the door or to the left to lower it.
CAUTION: Do not overtighten the door adjustment screw. The hinge pin can be pulled out and the adjustable range of height is a maximum of 2 in. (5 cm).
Turning on the Power
After installing, plug the refrigerator’s power cord into a 3-prong grounded outlet and push the refrigerator into the final position.
CAUTION:
- Connect to a rated power outlet.
- Have a certified electrician check the wall outlet and wiring for proper grounding.
- Do not damage or cut off the ground terminal of the power plug.
Position the Refrigerator
Arrange the coil of tubing so that it does not vibrate against the back of the refrigerator or against the wall. Push the refrigerator back to the wall.
Start the Icemaker
- If the water line is connected, set the icemaker power switch to the ON position.
- The icemaker will not begin to operate until it reaches its operating temperature of 15 °F (–9 °C) or below. It will then begin operation automatically if the icemaker power switch is in the ON (I) position.






CAUTION



































