concept2 10943456 BikeERG Stationary Bike

Important Use and Safety Notes


- The machine should be used on a stable, level surface. The rear foot has leveling pads that can be adjusted as needed.
- To move the BikeErg, grasp the rear foot and lift until the caster wheels start to roll (1).
- The BikeErg is intended for indoor use.
- Check fasteners for tightness according to the Maintenance section on page 5.
- Use of this machine with a worn or weakened part may result in injury to the user.
- When in doubt about the condition of any part, Concept2 strongly advises that you replace the part immediately with genuine Concept2 replacement parts. Use of other replacement parts may result in injury or poor performance of the machine.
- Keep children, pets and fingers away from pedals. Pedals can cause injury.
- Do not stand the BikeErg up on end as the BikeErg may tip over (2).
- Perform proper maintenance as described in the Maintenance section on page 5.
PRODUCT DIMENSIONS

Setting Up the BikeErg
The BikeErg provides a range of settings for the saddle and handlebars so that you can find the position that is most comfortable and effective for you.
HOW TO ADJUST THE SADDLE
- Release lever (1) and lower the saddle (2). For fine tuning the horizontal position and saddle angle, adjustments can be made using a 9/16″ or 14 mm wrench (not included).

- Step onto the BikeErg.
- With your heel on the down pedal and your leg straight, pull the saddle up to your body.

- You should have a slight bend in your leg as you ride with the ball of your foot on the pedal.
HOW TO ADJUST THE HANDLEBARS
To adjust handlebar height:
- Loosen the adjustment knob (1).
● To lower: release ratchet by pressing lever (2) then press handlebars down.
● To raise: simply pull up to desired height. - Tighten adjustment knob (1).
To adjust reach position:
- Loosen adjustment knob (3)
● Slide handlebars forward or back as desired. - Tighten adjustment knob (3).

For information on using the BikeErg, including training tips, workouts, the free Online Logbook and more, visit concept2.com/start.
BEFORE YOUR FIRST WORKOUT
Consult your physician. Be sure that it is not dangerous for you to undertake a strenuous exercise program.
| ⚠ WARNING! | Over-exercising may result in serious injury or death. If you feel faint, stop exercising immediately |
Getting Started
- Keep your workouts short and easy at first, to let your body adjust to the new exercise.
- Gradually increase your cycling time and intensity over the first two weeks. Like any physical activity, if you increase the volume and intensity too quickly, fail to warm up properly, or use poor technique, you will increase the risk of injury.
WORKOUT INTENSITY
User-Controlled Resistance
- The BikeErg offers you two ways of managing the resistance you feel and the resulting intensity of your workout: the
damper setting and your pedaling cadence. An increase in either one will raise the resistance that you feel, and if you increase both, the resistance will go up even more quickly. - You can cycle as hard or as easily as you wish. The BikeErg will not force you to work at any set intensity level. As you put more effort into your cycling, you will go faster, produce more watts, and burn more calories. All of these outputs will be measured and displayed by the PM5.
Damper Settings on the Flywheel
The BikeErg features a damper with settings from 1 to 10. Higher numbers feel more like pedaling in a heavier gear. Lower numbers feel like pedaling in a lighter gear.
For general fitness and a good aerobic workout, use a damper setting where you can maintain a cadence in the range of 60 to 80 rpm.
Drag Factor
The 110 damper setting scale is a quick reference for setting the “gearing.” A more precise way to tune the “gearing” is by viewing the drag factor, which is a measure of the air resistance within the flywheel enclosure. To view drag factor on the PM go to Main Menu > More Options > Display Drag Factor. The BikeErg offers a drag factor range of approximately 40 to 210.
Calibration
The BikeErg will prompt you periodically to confirm the calibration, including whenever you program a distance that is part of our Online World Ranking. The process is simple and the PM5 will guide you through it. To confirm the calibration or start a full calibration at any other time, press More Options > Utilities > Calibration Utilities.
After moving the BikeErg to a different location, confirm the calibration to ensure accurate results.
Maintenance
RECOMMENDED MAINTENANCE SCHEDULE
After first 5 Hours of Use
- Check all fasteners for tightness.
Daily
- Clean saddle, handlebars, step pad and flywheel cover with a cloth and cleaner after use.
- Do not use bleach or coarse abrasives.

Every 250 Hours of Use
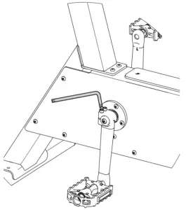
- Check that the crank arms are tight on the crank axle. Tighten the clamp screws if needed using the L-key supplied with the BikeErg. See illustration.
- Check all fasteners for tightness.
- Check for dust inside flywheel with a flashlight.
Vacuum if needed. See illustrations at right.
Verify calibration after cleaning. On the PM go to Main Menu > More Options > Utilities > Calibration.
As Needed
Check the fit of the seat post.
The seat post should move up and down with only light pressure applied. The seat post fit can be adjusted using a ½” wrench (not included) where shown. Do not overtighten.
| ⚠ WARNING! | The safety level of the machine can be maintained only if it is examined regularly for damage and wear. Replace defective or worn components immediately to ensure safety and performance or keep machine out of use until repair. |
FLYWHEEL OPENING AND CLEANING







WARRANTY INFORMATION
Concept2 BikeErgs are backed by a limited 2 year and 5 year warranty. For complete warranty information in the US and Canada, visit concept2.com/warranty.
For warranty information outside the US and Canada, contact the authorized Concept2 dealer in your territory. A list of authorized Concept2 dealers can be found at concept2.com/international. If you do not find a local dealer in your territory visit concept2.com or email [email protected].
![]()






















