WINEGARD HMK-300 Hitch Mount Kit

hitch mount

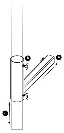
- SLIDE hitch mount into vehicle/RV hitch or multiuse mount (sold separately), aligning mounting holes on left side (a). Round tube mounts vertically, with two thumb bolts on right side (b).
- PLACE washer over thumb bolt, thread onto hitch mount and hand tighten (left side of mount). You are now ready to install TPLE-15 (not included).
WARNING: This product is not intended to be used with any other items. Failure to follow may cause damage or injury. - SET-UP telescoping pole as instructed in TPLE-15 quick start guide. Tighten bolts to pole until snug (b). If over-tightened, damage to pole will happen and/ or it will restrict raising and lowering of telescoping pole (c).
WARNING: INSTALLATION OF THIS PRODUCT NEAR POWER LINES IS DANGEROUS. Watch out for overhead power lines. Check the distance to the power lines before you start installing. Winegard recommends you stay a minimum of twice the length of the antenna plus the length of the mast from all power lines. Failure to properly secure pole in hitch mount may result in serious injury or death. This product is intended to be used with Winegard Approved product only. Any other product will void Product Warranty
3 thumb bolts
- REMOVE: Lower and remove pole as instructed in TPLE-15 quick start guide.
- REMOVE thumb bolt and washer (a) from vehicle/ RV hitch and slide out hitch mount. Thread washer and thumb bolt back onto hitch mount for storage.
WARNING: Pole must be removed prior to vehicle/camper moving. Failure to do so may cause damage or death.
Works with Winegard approved products and accessories. For complete list see Winegard website. Use with any other products will void Product Warranty.
WINEGARD 90 DAY LIMITED WARRANTY
Winegard Company warrants this Winegard product against any defects in materials or workmanship within 90 (ninety) days from date of purchase. No warranty claim will be honored unless at the time the claim is made, you present proof of purchase to an authorized Winegard dealer (if unknown, please contact Winegard Company, 3000 Kirkwood Street, Burlington, IA 52601-2000, Telephone 800-288-8094). Winegard Company (at its option) will either repair or replace the defective product at no charge to you. This warranty covers parts, but does not cover any costs incurred in removal, shipping or reinstallation of the product. This limited warranty does not apply if the product is damaged, deteriorates, malfunctions or fails from: misuse, improper installation, abuse, neglect, accident, tampering, modification of the product as originally manufactured by Winegard, usage not in accordance with product instructions or acts of nature such as damage caused by wind, lightning, ice or corrosive environments such as salt spray and acid rain. The 90 Day Warranty is provided on the condition that the equipment is properly delivered with all handling and freight charges prepaid to your Winegard dealer for return to our factory for repair or replacement. Winegard dealers will arrange for the replacement or repair and return to you without charge the product which failed due to defective material or workmanship.
WINEGARD COMPANY WILL NOT ASSUME ANY LIABILITIES FOR ANY OTHER WARRANTIES, EXPRESS OR IMPLIED, MADE BY ANY OTHER PERSON. ALL OTHER WARRANTIES WHETHER EXPRESS, IMPLIED OR STATUTORY INCLUDING WARRANTIES OF FITNESS FOR A PARTICULAR PURPOSE AND MERCHANTABILITY ARE LIMITED TO THE 90-DAY PERIOD OF THIS WARRANTY.
The foregoing shall be the sole and exclusive remedy of any person, whether in contract, tort or otherwise, and Winegard shall not be liable for incidental or consequential damage or commercial loss, or from any other loss or damage except as set forthabove. Some states do not allow limitations on how long an implied warranty lasts, or the exclusion of limitation of incidental or consequential damages, so the above limitations or exclusions may not apply to you. This warranty gives you specific legal rights and you may also have other rights which vary from state to state.
For more product details, visit Winegard’s website.

For help, send an email to [email protected] or call 1-800-788-4417.
Winegard Company 2736 Mt. Pleasant St. | Burlington, IA 52601 Printed in U.S.A. © 2022 Winegard Company















