Packet U Landmark Outdoor Sconce with Shepherd’s Hook
Instruction Manual
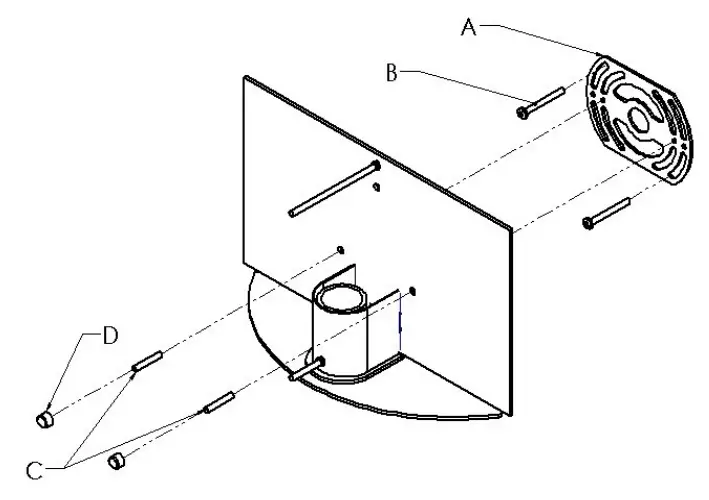
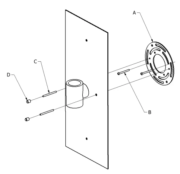
Included Components
A. Universal (1)
B. 1.5″ long, #8-32 pan head screws (2)
C. #8-32 all thread (2)
D. Cylinder knobs, #8-32 female (2)
E. Wire nuts (3) (not shown)
Textured Glass and Rimelight Cover Sconce Example
(example only, may not reflect the fixture you purchased)
Downtown Indoor Sconce Example
(example only, may not reflect the fixture you purchased)
Mounting Instructions
Step 1: Attach universal (A) to the J-box using the arced slots and (2) 1.5″ long, #8-32 pan head screws (B).
Step 2: Screw in the #8-32 all thread (C) to the universal (A) in the threaded holes spaced 2.75″ across the center of the universal.
Step 3: Connect the fixture wires to those in the J-box using the provided wire nuts.
Step 4: Fit the fixture back plate up to the J-box with the all thread extended through the back plate holes.
Step 5: Thread the cylinder knobs (D) onto the protruding all thread (C). Continue turning the cylinder knob until the all thread is no longer visible, the back plate is snug to the wall, and the cylinder knobs are tightened.
Carlyle Sconce Example
(example only, may not reflect the fixture you purchased)
About Hammerton Studio
HAMMERTON STUDIO
When we introduced the Hammerton Studio brand in 2014, we saw an enormous opportunity to raise the bar in decorative lighting. In design, we wanted to lead rather than follow. In construction, we wanted to showcase Hammerton’s renowned reverence for time-honored artisan craftsmanship and authentic materials. In performance, we wanted to provide highly reliable solutions that far exceeded industry norms for aesthetics, function, and quality. Based on the brand’s dramatic growth and customer feedback, it’s clear we are on the right track.
EXTRAORDINARY DESIGN VALUE IN ARTISAN GLASS & METALWORK
Hammerton began in 1995 as a blacksmith shop, but we’ve come a long way since then. Today we employ a world class team of metal artisans who are disciplined in a broad range of fabrication techniques and processes. We’ve also added in-house capabilities in blown, cast and kiln-fused glass, and today Hammerton operates one of the largest artisan glass production facilities in the U.S. With deep design and fabrication expertise at the intersection of glass and metalwork, we’re laying the foundation for a new era of lighting innovation.
THE HAMMERTON HERITAGE
Our Hammerton Studio brand stands on the shoulders of more than a quarter century of experience pushing the boundaries of innovative custom lighting design. Each Hammerton Studio collection has been inspired by custom work our company has brought to life in collaboration with leading interior design professionals over the years. Built to your specifications, every fixture reflects the uncompromising design and attention to detail that is distinctly Hammerton.
A REPUTATION REFLECTED BY OUR CLIENTS
Hammerton fixtures are as extraordinary as the clients who purchase them, including Forbes 400 members, Fortune 500 leaders, award-winning entertainers, fashion and interior designers, sports legends, and leading luxury hospitality brands.
Hammerton Inc.
217 Wright Brothers Drive Salt Lake City, UT 84116
801-973-8095
[email protected]
www.hammerton.com
Warranty
ONE YEAR LIMITED WARRANTY
Hammerton, Inc. (Hammerton) warrants the original owner that this product will be free of defects in material or workmanship for the period of one year from the date of original purchase from Hammerton, if (i) the allegedly defective product has not been abused, misused or improperly maintained and or repaired during the warranty period, (ii) the defect is not caused by water damage/flooding, fire, explosion, earthquakes or similar phenomenon, and (iii) the defect is not caused by improper installation (unless installed by Hammerton).
In order to obtain warranty service, the user must first complete a warranty claims form. Hammerton will determine if the product will be inspected on site or returned to Hammerton.
If after the inspection Hammerton finds that the product is defective as claimed, Hammerton will, at its option, repair or replace the product free of charge, or Hammerton may also agree to outsource necessary repair work locally using local contracted labor. Prior to any outsourcing of repair work regarding this fixture, a Work Authorization Form must be signed by both the client and Hammerton Representative. Failure to do so may result in a denial of reimbursement. Hammerton warrants any replaced or repaired products for ninety days after shipment or through the end of the original warranty period, whichever is longer. All products or parts that are replaced become the property of Hammerton. No representative or employee of Hammerton is authorized to make any modification or addition to this limited warranty.
TO THE FULL EXTENT ALLOWED BY LAW, THE FOREGOING WARRANTY AND REMEDIES ARE EXCLUSIVE, AND HAMMERTON EXPRESSLY DISCLAIMS ALL OTHER WARRANTIES, EXPRESSED OR IMPLIED, INCLUDING WITHOUT LIMITATION THE IMPLIED WARRANTIES OF MERCHANTABILITY AND FITNESS FOR A PARTICULAR PURPOSE. TO THE FULL EXTENT ALLOWED BY LAW, HAMMERTON EXCLUDES AND DISCLAIMS LIABILITY, WHETHER BASED IN CONTRACT OR TORT (INCLUDING NEGLIGENCE FOR ANY CONSEQUENTIAL, INDIRECT INCIDENTAL OR SPECIAL DAMAGES OF ANY NATURE ARISING OUT OF THE SALE INSTALLATION, MAINTENANCE, USE OR FAILURE OF THIS PRODUCT, EVEN IF HAMMERTON HAS BEEN ADVISED OF THE POSSIBILITY OF SUCH DAMAGES IN ADVANCE, AND HAMMERTON LIMITS ITS LIABILITY TO REPLACEMENT, REPAIR OR REFUND OF THE PURCHASE PRICE PAID, AT HAMMERTON’S OPTION.)
SOME STATES DO NOT ALLOW LIMITATIONS ON HOW LONG AN IMPLIED WARRANTY LASTS AND/OR DO NOT ALLOW THE EXCLUSION OR LIMITATION OF INCIDENTAL OR CONSEQUENTIAL DAMAGES, SO THE ABOVE LIMITATION ON IMPLIED WARRANTY AND INCIDENTAL OR CONSEQUENTIAL DAMAGES MAT NOT APPLY TO YOU. THIS WARRANTY GIVES YOU SPECIFIC LEGAL RIGHTS YOU MAY HAVE OTHER RIGHTS, WHICH VARY FROM STATE TO STATE
Mounting Instructions
Packet U
WARNING: These products can expose you to Di(2-ethylhexyl) phthalate (DEHP), which is known to the State of California to cause cancer and reproductive harm. For more information, go to www.p65warnings.ca.gov.
WARNING: FAILURE TO INSTALL THIS FIXTURE PROPERLY MAY RESULT IN SERIOUS PERSONAL INJURY OR DEATH AND PROPERTY DAMAGE. It is recommended that this product be installed by a licensed electrician.
41-001-00147 Rev 5













