

INSTRUCTION
MANUAL
TV Cabinet
If you have any problems, please email us-[email protected]
Ver.2

Thank you for choosing us! Since 2008 YOUKE Products has been bringing customers high-quality products at the absolute lowest price. With everything ranging from instruments and toys to furniture and outdoor, we’ve got your everyday living essentials covered. We’re centered around a customer-first philosophy – with free shipping, exceptional customer service, and a catalog sourced with you in mind.
Pg.2
TOOLS REQUIRED
PHILLIPS SCREWDRIVER
2 PERSON ASSEMBLY
APPROXIMATELY 30 MIN. ASSEMBLY
HARDWARE
A
M6X32 22PCS B
22PCS
C
Φ8X30 24PCS D
M7X48 6PCS
E
M6X25 6PCS F
M6X35 4PCS
G
8PCS H
ø3.5X12 36PCS
I
2PCS J
M4X15 2PCS
K
12PCS L
4PCS
M
M4 1PC
PARTS
1
1PC
2
1PC
3
1PC
4
1PC
5
1PC
6
1PC
7
1PC
8
1PC
9
1PC
10
1PC
11
1PC
12
2PCS
13
1PC
14
2PCS
Pg.3
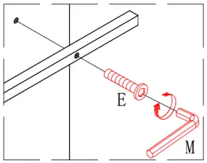
PRODUCT ASSEMBLY
1

Pg.4
2


Pg.5
3

Pg.6
4


Pg.7
5


Pg.8
6

Pg.9
7

Pg.10
8


Pg.11
9

Pg.12
10

Pg.13
11


Pg.14
12


Pg.15
13



Pg.16
14


Pg.17
ENJOY YOUR PRODUCT!

WARNING
Manufacturer and seller expressly disclaim any and all liability for personal injury, property damage or loss, whether direct, indirect, or incidental, resulting from the incorrect attachment, improper use, inadequate maintenance, or neglect of this product.















