
INSTRUCTION MANUAL
Before using the TV, please read this manual thoroughly, and retain it for future reference.

RNSM4025

CONFORMS TO
UL STD. 60065
CERTIFIED TO
CSA STD.
C22.2 No.60065

Manufactured under license from Dolby Laboratories.
Dolby, Dolby Audio, and the double-D symbol are trademarks of Dolby Laboratories.
This product has been manufactured and sold under the responsibility of Curtis International Ltd. RCA, the RCA logo, the two dogs (Nipper and Chipper) logo, are registered trademarks or trademarks of Technicolor (S.A.) or its affiliates and are used under license by Curtis International Ltd.Any other product, service, company, trade or product name and logo referenced herein are neither endorsed nor sponsored by Technicolor (S.A.) or its Affiliates.
Attaching the stand
Place the stand on the TV, insert and tighten the screws BA4.5*18 mm x4 (found in the accessories bag) in the circled area with the screwdriver (not provided).
Then the TV is ready for use now.
Caution
The lightening flash with arrowhead symbol, within an equilateral triangle is intended to alert the user to the presence of un-insulated “dangerous voltage” within the products enclosure that may be of sufficient magnitude to constitute a risk of electric shock to the persons.
The exclamation point within an equilateral triangle is intend to alert the user to the presence of important operating and maintenance (servicing) instructions in the literature accompanying the appliance.
Correct disposal of this Product
Waste Electrical & Electronic Equipment (WEEE)
Your product is designed and manufactured with high quality materials and components which can be recycled and reused.
This symbol means that electrical and electronic equipment, at their end-of-life, should be disposed of separately from your household waste.
Please dispose of this equipment at your local community waste collection/recycling centre.
In the European Union there are separate collection systems for used electrical and electronic products. Please help us to conserve the environment we live in!
This is class Ⅱ apparatus whis double insulation, and no protective earth provided.
This device complies with Part 15 of the FCC Rules.
Operation is subject to the following two conditions:
(1) this device might not cause harmful interference, and
(2) this device must accept any interference received, including interference that might cause undesired operation
Important Safety Instructions
1. Read these instructions.
2. Keep these instructions.
3. Heed all warnings.
4. Follow all instructions.
5. Do not use this apparatus near water.
6. Clean only with dry cloth.
7. Do not block any ventilation openings. Install in accordance with the manufacturer’s instructions.
8. Do not install near any heat sources such as radiators, heat registers, stoves, or other apparatus (including amplifiers) that produce heat.
9. Do not defeat the safety purpose of the polarized or grounding-type plug. A polarized plug has two blades with one wider than the other. A grounding type plug has two blades and a grounding prong. The wide blade or third prong is provided for your safety. When the provided plug does not fit into your outlet, consult an electrician for replacement of the obsolete outlet.
10. Protect the power cord from being walked on or pinched, particularly at plugs, convenience receptacles, and the point where they exit from the apparatus.
11. Only use attachments/accessories specified by the manufacturer.
12.
Use only with the cart stand, tripod, bracket, or table specified by the manufacturer, or said with the apparatus. When a cart is used, use caution when moving the cart/apparatus combination to avoid a tip-over and/or injury.
13. Unplug this apparatus during lightning storms or when unused for long periods of time.
14. Refer all servicing to qualified service personnel. Servicing is required when the apparatus has been damaged in any way, such as power-supply cord or plug is damaged, liquid has been spilled or objects have fallen into the apparatus, the apparatus has been exposed to rain or moisture, does not operate normally, or has been dropped.
15) Warning to reduce the risk of fire or electric shock, do not expose this apparatus to rain or moisture. Apparatus should not be exposed to dripping or splashing, and objects filled with liquids, such as vases, should not be placed on the apparatus.
16) An outside antenna system should not be located in the vicinity of overhead power lines or other electric light or power circuits, or where it can fall into such power lines or circuits. When installing an outside antenna system, extreme care should be taken to keep from touching such power lines or circuits, as contact with them might be fatal.
17) Do not overload wall outlets and extension cords, as this can result in risk of fire or electric shock.
18) Do not push objects through any openings in this unit, as they may touch dangerous voltage points or short out parts that could result in fire or electric shock. Never spill or spray any type of liquid into the unit.
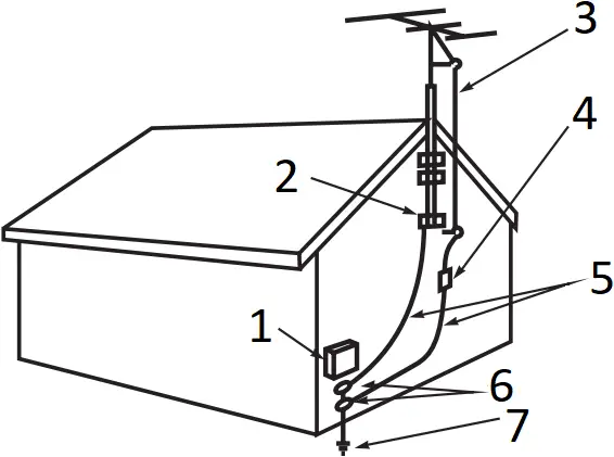
19) If an outside antenna or cable system is connected to the unit, be sure the antenna or cable system is grounded to provide some protection against voltage surges and built-up static charges, Section 810 of the National Electrical Code, ANSI/NFPA 70, provides information with respect to proper grounding of the mast and supporting structure, grounding of the lead-in wire to an antenna discharge unit, size of grounding conductors, location of antenna discharge unit, connection to grounding electrodes, and requirements for the grounding electrode.
EXAMPLE OF ANTENNA GROUNDING AS PER THE NATIONAL ELECTRICAL CODE

NEC-NATIONAL ELECTRICAL CODE
S2898A
- ELECTRIC SERVICE EQUIPMENT
- GROUND CLAMP
- ANTENNA LEAD IN WIRE
- ANTENNA DISCHAGRE UNIT
(NEC SECTION 810-20) - GROUNDING CONDUCTORS
(NEC SECTION 810-21) - GROUND CLAMPS
- POWER SERVICE GROUNDING ELECTRODE SYSTEM
(NEC ART 250,RARTH)
20) When replacement parts are required, be sure the service technician uses replacement parts specified by the manufacturer or those that have the same characteristics as the original part. Unauthorized substitutions may result in fire, electric shock or other hazards.
21) Upon completion of any service or repairs to this unit, ask the service technician to perform safety checks to determine that the unit is in proper operating condition.
22) When you connect the product to other equipment, turn off the power and unplug all of the equipment from the wall outlet. Failure to do so may cause an electric shock and serious personal injury. Read the owner’s manual of the other equipment carefully and follow the instructions when making any connections.
23) Sudden high volume sound may cause hearing or speaker damage. When you use headphones, (if the unit is equipped with a headphone jack) keep the volume at a moderate level. If you use headphones continuously with high volume sound, it may cause hearing damage.
24) Do not allow the product to output distorted sound for an extended period of time. It may cause speaker overheating and fire.
25) This reminder is provided to call the cable TV system installer’s attention to Article 820-40 of the NEC that provides guidelines for proper grounding and, in particular, specifies that the cable ground shall be connected to the grounding system of the building, as close to the point of cable entry as practical.
26)
This equipment is a Class II or double insulated electrical appliance. It has been designed in such a may that it does not require a safety connection to electrical earth.
27)
Correct disposal of this product. This marking indicates that this product should not be disposed with other household waste. To prevent possible harm to the environment or human health from uncontrolled waste disposal, recycle it responsibly to promote the sustainable reuse of material resources.
CHILD SAFETY:
It Makes A Difference How and Where You Use Your Flat Panel Display
Congratulations on your purchase! As you enjoy your new product, please keep these safety tips in mind:
THE ISSUE
The home theater entertainment experience is a growing trend and larger flat panel displays are popular purchases. However, flat panel displays are not always supported on the proper stands or installed according to the manufacturer’s recommendations.
Flat panel displays that are inappropriately situated on dressers, bookcases, shelves, desks, speakers, chests or carts may fall over and cause injury.
THIS MANUFACTURER CARES!
The consumer electronics industry is committed to making home entertainment enjoyable and safe.
TUNE INTO SAFETY
One size does NOT fit all. Follow the manufacturer’s recommendations for the safe installation and use of your flat panel display.
Carefully read and understand all enclosed instructions for proper use of this product. Don’t allow children to climb on or play with furniture and television sets.
Don’t place flat panel displays on furniture that can easily be used as steps, such as a chest of drawers.
Remember that children can become excited while watching a program, especially on a “larger than life” flat panel display Care should be taken to place or install the display where it cannot be pushed, pulled over, or knocked down.
Care should be taken to route all cords and cables connected to the flat panel display so that they cannot be pulled or grabbed by curious children.
Warning: batteries(pack or batteries installed) should not be exposed to excessive heat such as sunshine, fire or other heat sources.
CONDENSATION
Moisture will form in the operating section of the unit if the unit is brought from cool surroundings into a warm room or if the temperature of the room rises suddenly. When this happens, unit’s performance will be impaired. To prevent this, let the unit stand in its new surroundings for about an hour before switching it on, or make sure that the room temperature rises gradually.
Condensation may also form during the summer if the unit is exposed to the breeze from an air conditioner. In such cases, change the location of the unit.
HOW TO HANDLE THE LCD PANEL
- Do not press hard or jolt the LCD TV. It may cause the LCD TV glass to break and injury may occur.
- If the LCD TV is broken, make absolutely sure that you do not touch the liquid in the panel. This may cause skin inflammation.
If the liquid gets in your mouth, immediately gargle and consult with your doctor. Also, if the liquid gets in your eyes or touches your skin, consult with your doctor after rinsing for at least 15 minutes or longer in clean water.
Possible Adverse Effects on LCD Panel: If a fixed (non-moving) pattern remains on the LCD panel for long periods of time, the image can become permanently engrained in the LCD panel and cause subtle but permanent ghost images. This type of damage is NOT COVERED BY YOUR WARRANTY. Never leave your LCD TV on for long periods of time while it is displaying the following formats or images:
- Fixed Images, such as stock tickers, video game patterns, TV station logos, and websites.
- Special Formats that do not use the entire screen. For example, viewing letterbox style (16:9) media on a normal (4:3) display (black bars at top and bottom of screen); or viewing normal style (4:3) media on a widescreen (16:9) display (black bars on left and right sides of screen).
The following symptoms are not signs of malfunction but technical limitation.
Therefore we disclaim any responsibility for these symptoms.
LCD Panels are manufactured using an extremely high level of precision technology, however sometimes parts of the screen may be missing picture elements or This is not a sign of a malfunction.
Do not install the LCD TV near electronic equipment that produces electromagnetic waves. Some equipment placed too near this unit may cause interference.
Effect on infrared devices – There may be interference while using infrared devices such as infrared cordless headphones.
have bat spots/pixels.
PERSONAL SAFETY NOTICE
- ALWAYS read and follow all instructions for the installation and use of the TV.
- Place the TV in a location that is level and sturdy.
- DO NOT place the TV on a furniture with drawers that can be used as steps by small children.
- DO NOT allow children to pull the TV or climb on the furniture where the TV is placed.
- DO NOT allow children to play in front of or around the TV.
- ALWAYS route all the cables connecting to the TV as the cables cannot be easily pulled and grabbed by children.
- When installing the TV on a wall, please purchase a TV mount recommended by a professional TV installer, and follow the installation instructions that come with the TV mount.
- Before installing the TV on a wall, please check to make sure the wall structure can support the weight of the TV and the mount. If in doubt, please ask the advice from a professional TV installer.
The unit emits heat when in operation. he not place any covers or blankets on the unit, this may cause overheating. Do not block ventilation holes, or operate near radiators. Do not place in direct sunshine. When placing on a shelf 10 cm (4 inches) free space must be available around the entire unit.

Notes when mounting the LCD TV on a wall
- If the unit is to be mounted on the wall, contact the retailer where you purchased the LCD TV for advice, and have the equipment professionally installed. Incomplete or improper installation many cause injury to you, and/or damage to the LCD TV.
- Bracket holes: To attach a wall mounting bracket (not supplied) attach where indicated in the drawing below.
- This manufacturer recommends professional installation.
- Utilize an appropriate bracket and fasteners, sufficient to accommodate the size and weight of the unit.
- Assure the wall to which the unit is to be mounted will safely support the size and weight of the unit, using the bracket and fasteners you have selected.
- Keep cords and cables connected to this flat panel display out of reach of children.
- To hang the television on the wall, remove the screws and then remove the stand.
To avoid damage to the TV, place the TV on a table, face down on a soft surface.

Note: Drawing is a representative example only
: Power off Icon : Corresponding to the “POWER” button of remote.
Terminal Interface
Note: The following are the various terminal interface, the actual position and arrangement, the number of different models may be different.
![]() | AV input External AV Signal Input and Right/Left Audio Inputs. | ![]() | HEADPHONE JACK Plug earphones into jack for private listening. Overrides speakers. |
![]() | HDMI Input (HDMI1,HDMI2,HDMI3/ARC) Connect to a HDMI output connection on your external device. | ![]() | USB Input Connect to your USB device. |
![]() | ANT 75/RF Connection Connect to the antenna/cable TV output of your device or wall plate. | ![]() | OPTICAL Digital Audio Output. |
![]() | RJ45 Connect to the Internet. |
External device connection diagram

- DVD
- Set-top boxes
- HDMI input connection
- AV input connection
- USB connection
- RJ45 connection
- TV connection
Remote Controller

:Turn on the TV or enter standby mode.
:Turn on/off the sound by pressing this button.- 0~9: Figures “0-9” are used to directly input channel number.
- EPG:Press to display Electronic Program Guide and select your favorite channel.
- -/–:Press to change the channel which name contains “.”.
:Input source selection button.
:Press to enter the Home Page.- V+: Increase the volume.
- V-:Decrease the volume.
- P
:Channel up. - P
:Channel down.
:Start system menu.
:Press to display the source and channel’s display.- OK:To confirm the choice of a highlighted menu item.
/
:Press these buttons to move within the menu.
/
:Press these buttons to move within the menu .- BACK:Go back to the previous step.
- EXIT:Press to exit the OSD menu.
:Press to launch Netflix.
:Press to launch YouTube.
:Press to launch NetRange app store.
:Press to launch VUDU.- GREEN/RED/YELLOW/CYAN buttons: Press these buttons according the different prompts.
:Press to fast reverse in USB mode.
:Press to fast forward in USB mode.
:Press to play the video and press again to pause the video.- CC:Press to display the close caption.
:Hold on or off for current page display/Press to stop in the USB mode.- AUDIO:Press to change the language when paly the stream which contains multi-language.
IMPORTANT NOTICE:
Depending on the country where the TV is installed, certain apps may not be available.
The quick launch button on the remote control associated with those apps will therefore not work. All other functionalities of the remote will work as designed.
Remote Code: 007F.
Format: NEC
Install and Connect TV


Setup your TV
1.Put your TV in a place that can support the weight of the TV.
To avoid danger, please do not assemble the TV near water or extreme heat(such as a furnace, light source,or candle.)
Do not block the ventilation on the back of the TV.
Connect signal source and power
2. Connect the antenna cable to the RF connection on the back or side of the TV, and/or the signal source HDMI cable to the HDMI input(s) on the rear or side of TV. Plug the TV into the wall power outlet (AC120 ~ 60Hz).
Turn on the TV
3.Connect the power supply, enter the standby mode (red light), press the power button of the TV or the power button on the remote control to turn on the TV(No light).
Note:
Picture for reference purposes only.
TV Feet Installation Instructions
- Open the carton and remove the TV,accessories,and the feet.
- To avoid damage to the TV, place on a table, face down on a soft surface. The feet are attached to the TV with provided screws,or are attached by snapping into the cabinet till you hear the click.
- Ensure the feet are tightened/snapped-in securely. Do not overtighten.

Please take note of the base direction:

The bottom view of the TV
(Front cabinet faces down)
(The illustration in for reference only, Please prevail in kind)
OPERATING INSTRUCTIONS
Press【▼】 /【▲】button to select the language.
Press【OK】button to continue.

Press【▼】 /【▲】button to select the input source.
Press【OK】button to continue.

The User Interface defaults to the “Skip” option.
Press the【OK】button to skip the DTV channel tuning then enter the ATV channel tuning.

HOME PAGE
Press
button to enter homepage.
Press 【▼】 /【▲】 button to select Apps, NETFLIX, Input source, and Settings options, Press 【◄】/【►】 button to select the corresponding sub-option and press the [OK] button to confirm.

Press
button to enter main menu.
Press 【▼】 /【▲】 button to select Picture / Sound / Setting / Lock / PVR Option / Program / Network / About menus. Press 【►】 button to continue to sub menu.

Picture
- Press
button to enter main menu.
Press【►】 button to select Picture menu. - Press 【▼】 /【▲】 button to select Picture Mode / Contrast / Brightness / Color /Sharpness / Tint / Backlight / Color Temperature / Aspect Ratio / Noise Reduction.Tint feature only works in ATV and DTV mode when entered to Picture Mode ‘User’.
- Press【◄】/【►】button to adjust or select.

Sound
- Press
button to enter main menu.
Press【►】 button to select Sound menu. - Press 【▼】 /【▲】 /button to select Sound Mode / Equalizer / Balance / Auto Volume Limit / Surround Sound / Digital output type / Audio Delay / Video Description / Audio Languages.
- Press【◄】/【►】button to adjust or select.

Setting
- Press
button to enter main menu.
Press 【►】button to select Setting menu. - Press 【▼】 /【▲】button to select Language / OSD Time / Close Caption / Link Setup / Time / Reset / TTS.
- Press 【▼】 /【▲】button to adjust or select.

Lock
- Press
button to enter main menu. Press【►】button to select Lock menu. - Press【▼】 /【▲】button to select Lock System / Set Password / USA TV / USA MPAA / Canada English / Canada French / RRT Setting / RRT Reset / Block Unrated
- Press【◄】/【►】button to adjust or select.

Program
- Press
button to enter main menu.
Press【►】button to select Program menu. - Press【▼】 /【▲】button to select Antenna Mode / Auto Tuning / Signal Information.
- Press【◄】/【►】button to adjust or select.

Network
- Press
button to enter main menu. Press【►】button to select Network menu. - Press【▼】 /【▲】button to select WI-Fl / Ethernet / Wake On LAN / Wake On WLAN.
- Press【◄】/【►】button to adjust or select.

About
- Press
button to enter main menu.
Press【►】button to select About menu. - Press【▼】 /【▲】button to select NETFLIX / View End-User License Agreement / System information / NetReady Information / Software Update(USB) / Internet Update Check
- Press【◄】/【►】button to adjust or select.

Software update(USB)
Note. Do not switch off or unplug the TV until the upgrade is completed.
–By USB: Enables you to install a new version software from a USB stick, If available.Insert the USB stick containing a new version of the software into a USB socket of the set. Select USB and press OK to enter.
Follow the on-screen instructions to complete the process.
USB
Insert a USB flash drive and press the [OK] button in the USB menu to enter the Media menu.

Press the【◄】/【►】button Select the inserted USB flash device, then press the [OK] button to access the started media on the USB device.

Press the【◄】/ 【►】 buttons to select ALL, Photo, Music, Video options.
Press the 【OK】 button to select the file type.
Select the “Return” icon and press 【OK】 to return to the USB directory to make your selection. Select a file press the【OK】button to enter the video file.
USB FORMAT MODE
Video | DAT,VOB,MPG,MPEG,TS,TRP,TP, MP4,MOV,AVI,MKV,,WMV,RMVB |
Audio | MP3,WAV,MP4,AC3,AAC,WMA, M4A,MOV,MKV, |
Imagen | JPEG,BMP,PNG,MPO |
Help
| No Power | Check to see if the AC cord of the television is properly plugged into the outlet. If there is still no power, remove the AC cord and replug after 60 seconds. Attempt to start the television again. |
| Not receiving signal properly | – A double image or ghost could be caused by obstructions of the external antenna. Consult the antenna instruction manual to change the direction of the external antenna. – Perhaps the location of the antenna is not good. Use of a taller antenna can improve the quality of the images. – If you use an antenna, reception may be difficult in some situations. You can attempt to adjust the antenna to improve the image. |
| No Picture | – Check to be sure the antenna at the back of the unit is connected properly. – Try to select other channels to be sure the issue is not with the channel. – Check for possible sources of interference. |
| Poor sound or no sound | – Increase the volume. – Check to be sure the unit is not in MUTE mode. Press the mute button to restore sound. – Try to select other channels to be sure the issue is not with the channel. – Check for possible sources of interference. – Check to be sure the antenna at the back of the unit is connected properly. |
| Poor color or no color | – Adjust the contrast and/or brightness of the TV. – Try to select other channels to be sure the issue is not with the channel. – Check to be sure the antenna at the back of the unit is connected properly. |
| Poor reception | Check to be sure the antenna at the back of the unit is properly connected. |
| Horizontal or diagonal lines on screen | – Unit could be experiencing interference from other appliances such as a hair dryer or vacuum. Discontinue the use of these other appliances to improve reception. – Check to be sure the antenna at the back of the unit is connected properly. |
| TV does not respond to the remote | – Point the remote directly to the sensor on the TV. If this does not work, be sure that the remote is in working order (batteries correctly installed, etc.) |
| No Video in PC mode | – Check if the cable is properly connected to the VGA input. – Check to be sure the display cable is not bent or damaged. |
| The screen is too dark or too light in PC mode | Adjust the contrast ratio or brightness in Main menu. |
| No response in PC mode | Check the computer setting for compatible display resolutions. |
| Lines in picture while using RCA connection | – Check if the cable is properly connected to the input. – Check to be sure the cable is not bent or damaged. – Use a correct RCA cable. |
| Problems still exist | Unplug the power cord and wait for 60 seconds, then reconnect. If problems remain with the unit, please do not attempt the repairs yourself. Contact the Customer Service center for assistance. |
Specifications
Screen Size | Preset Channels | Speaker Output |
| 24” | NTSC:AIR 2-69 CABLE 1-135 | 3W+3W |
32” | NTSC:AIR 2-69 CABLE 1-135 | 8W+8W |
| 40” | NTSC:AIR 2-69 CABLE 1-135 | 8W+8W |
43” | NTSC:AIR 2-69 CABLE 1-135 | 8W+8W |
| 50” | NTSC:AIR 2-69 CABLE 1-135 | 8W+8W |
55” | NTSC:AIR 2-69 CABLE 1-135 | 8W+8W |
| 58” | NTSC:AIR 2-69 CABLE 1-135 | 8W+8W |
65” | NTSC:AIR 2-69 CABLE 1-135 | 8W+8W |
Screen Size | Power Consumption (LED) | Accessories |
| 24” | 36W | Users manual Remote controller AAA Batteries |
32” | 32W/40W | |
| 40” | 60W | |
43” | 65W | |
| 50” | 108W | |
55” | 118W | |
| 58” | 135W | |
65” | 159W |
| Operation Frequency | Transmitting Power | |
| WiFi | 2400~2483.5 | Less Than 100mW |
The terms HDMI and HDMI High-Definition Multimedia Interface, and the HDMI Logo are trademarks or registered trademarks of HDMI Licensing LLC in the United States and other countries.
Model Description | 40”LED TV | |
Panel | Panel Type | LED Panel |
| Diagonal Size | 40 inches | |
| Screen Format | 16:9 | |
| Resolution | 1920×1080 | |
| Brightness | 230 nits | |
| Contrast | 5000:1 | |
| View Angle | 176(H)/176(V) | |
| Response Time | 8.5ms | |
| Maximum Color | 16.7M colors | |
| Refresh Rate | 60Hz | |
Systems | Color System | ATSC/NTSC |
| Sound System | M | |
| Audio System | MTS | |
| Sound Output | L/R Speaker:10W+10W | |
Input/Output Jacks | RF Input | 75 ohm external terminal |
| HDMI Input | Video:480i,480p,576i,576p,720p,1080i,1080p,2160p. Audio:Two channel linear PCM32,441 and 48kHz,16,20 and 24bits | |
| Composite Video Input | 1.0 Vpp.75ohms RCA | |
| Digital Audio out | Optical | |
| USB Port | USB Media Player | |
| Linear Network Input | RJ45:10/100M auto-identification and DHCP | |
| Analog Audio Output | Earphone | |
Power | Power Requirement | 120V~,60Hz |
| Rated power consumption | 60W | |
DISPLAY MODE
VIDEO FORMATS
SUPPORTED COMPONENT/HDMI INPUT MODE | |||
| Resolution | Horizontal Scanning Frequency (kHz) | Vertical Scanning Frequency (Hz) | Format |
720 x 480 | 31.47 | 59.94 | 480 i |
| 720 x 480 | 15.734 | 59.94 | 480 i |
1280 x 720 | 37.5 | 50 | 720 i |
| 1280 x 720 | 45 | 60 | 720 i |
1920 x1080 | 31.25 | 50 | 1080i |
| 1920 x1080 | 33.75 | 60 | 1080i |
1920 x1080 | 27 | 24 | 1080p |
| 1920 x1080 | 56.50 | 50 | 1080p |
1920 x1080 | 67.50 | 60 | 1080p |
To make a warranty claim, do not return this product to the store. Please email [email protected] or call 1-800-968-9853.
1 Year Warranty
This product is warranted to be free from defects in material and workmanship for a period of one (1) year from the date of original purchase. During this period, your exclusive remedy is repair or replacement of this product or component found to be defective, at our option; however, you are responsible for all costs associated with returning the product to us. If the product or component is no longer available, we will replace with a similar one of equal or greater value. Prior to a replacement being sent, the product must be rendered inoperable or returned to us.
This warranty does not cover glass, filters, wear from normal use, use not in conformity with the printed directions., or damage to the product resulting from accident, alteration, abuse, or misuse. This warranty extends only to the original consumer purchaser or gift recipient. Keep the original sales receipt, as proof of purchase is required to make a warranty claim. This warranty is void if the product is used for other than single-family household use or subjected to any voltage and waveform other than as on the specified rating on the label (e.g., 120V~60Hz).
We exclude all claims for special, incidental, and consequential damages caused by breach of express or implied warranty. All liability is limited to the amount of the purchase price. Every implied warranty, including any statutory warranty or condition of merchantability or fitness for a particular purpose, is disclaimed except to the extent prohibited by law, in which case such warranty or condition is limited to the duration of this written warranty. This warranty gives you specific legal rights. You may have other legal rights that vary depending on where you live. Some states or provinces do not allow limitations on implied warranties or special, incidental, or consequential damages, so the foregoing limitations may not apply to you.
For faster service, locate the model, type, and serial numbers on your appliance.
For service assistance and product information, please call: 1-800-968-9853.
Curtis International Ltd.
7045 BECKETT DRIVE, UNIT 15, MISSISSAUGA, ON, L5S 2A3
www.curtisint.com





















