4MODERNHOME MX7008-W2BK Maxax 2 Lights Clear Glass Outdoor Wall Lights

Assembly & Installation Instructions
Dear Customer:
Thank you for your business!
If you have any question or problem, please send us an email to [email protected] or call us at 469-312-6428. We will do everything possible to make you completely satisfied with your purchase. Product reviews help future
customers to make their purchase decision.
You are encouraged to share your experience by leaving a short product review on the platform where you bought this product.
Thank you!
Zgear Team
Warning: If any special control devices are used with this fixture, follow the instructions carefully to assure full compliance with N.E.C. requirements
If there are any questions, contact a qualified electric contractor.
Warning: California Residents Proposition 65 This product contains lead, a chemical known to the state of California to cause cancer and birth defects or other reproductive harm. Do not place the product in your mouth. Wash your hands after handling this product.
Caution: It is highly recommended to get an electrician to install this light. Please make sure to turn the electricity off at the main circuit breaker before beginning installation. All glass is fragile. Use care when handling glass component(s) and/or lamp(s)
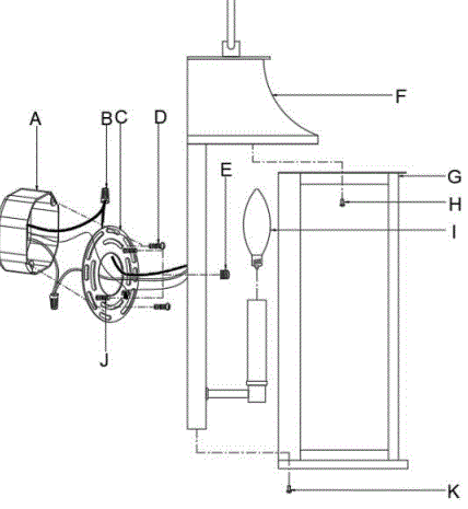
PARTS INCLUDED

| Code | Part description | QTY |
| A | Junction box | 0 |
| B | Wire caps | 3 |
| C | Mounting bracket | 1 |
| D | Mounting screw | 2 |
| E Install the nut 2 F Lamp cover 1 G Lamp body 1 H Screw 2 I Light bulb 0 J Studs 2 K Screw 1 | ||
Drawing 1
After securing fixture to the wall it is recommended that the gap between the wall and the fixture backplate be sealed on the top and both sides, with a good qualty waterproof caulk or silicone sealant (NOT INCLUDED)-see Drawing 1,

WIRE CONNECTION DIAGRAM
Wires meeting safety standards are required to connect the electrical circuit
CAUTION: Risk of fire

Please read all instructions carefully. Before you proceed to install, make sure that the power supply is turned off and remains off until installation is completed.















