Pixel TECHNOLOGIES SXMTRK17 Satellite Radio Motorcycle Kit
![]()
Package Includes
![]()
(1) Sirius XM™ Power Connect™ Vehicle Cradle
(1) Sirius XM™ 5 Volt Hardwired Power Adapter
(1) Handlebar Clamp Mount
(1) RAM Ball Mount Adapter (25 MM)
(1) SiriusXM™ Antenna
(1) Auxiliary Cable
(1) Metal L-Bracket
(1) AMPS Plate (Male Single Notch) with Screws
Step 1 – Install Clamp Mount
Before getting started, it is important to select an installation location for the protective case with receiver.
After selecting the installation location for the protective case, loosen the two screws on the handlebar clamp mount all the way out and separate it from the back side of the clamp mount. Place the clamp mount on the handlebars, line up the screw holes and tighten the screws to mount the clamp. Use the supplied rubber strips to increase the grip of the mount.
![]()
BACK PLATE ASSEMBLY
Locate the bag containing the parts shown below.
![]()
Take the docking cradle, AMPS plate and L-bracket and line up the holes as shown in the figure to the left. Be sure to line up the plate and dock with the lowest set of holes on the L-bracket. This will give you more clearance to remove the assembly from the clamp mount.
Next, use the four supplied screws to attach the AMPS plate and L-bracket to the back of the dock. Make sure the top portion of the L-bracket is facing away from the dock so the receiver can be mounted to the dock.
![]()
Note: Your dock may have connections on the side.
Optional – RAM Mount Assembly
Locate the bag containing the parts shown below.
![]()
To install the kit onto a RAM mount, use the RAM Mount Adapter Plate located in the supplied parts bag. Take the docking cradle, RAM mount plate and L-bracket and line up the holes as shown in the figure below. Be sure to line up the plate and dock with the lowest set of holes on the L-bracket. Next, use the four supplied screws to attach the RAM plate and L-bracket to the back of the dock. Make sure the top portion of the L-bracket is facing away from the dock so the receiver can be mounted to the dock.
![]()
Note: Your dock may have connections on the side.
Step 3 – Connect Mount and Mount Antenna
To connect the assembly to the clamp mount, slide the single T-notch on the clamp mount up into the slot on the AMPS plate. Secure the pivot by tightening the lock ring.
Next, place the antenna on the metal L-bracket and wrap the excess cable around the L-bracket or tie wrap it around the base. It is recommended to leave some excess play in the cable.
![]()
Step 4 – Connect Power
Included in the package is a hardwired power adapter. Find a power source on the motorcycle, either in a fuse box or an auxiliary power source on the motorcycle. The hardwired power adapter comes with two interchangeable cables, one older Sirius and XM receivers and one for newer Sirius XM™ Power Connect™ receivers. For installations with an older 5 volt Sirius or XM receiver (non Power Connect™), use the cable with the smaller connector tip. For installations using the supplied Power Connect™ docking cradle, you will use the cable with the larger tip.
![]()
Step 4 – Connect Audio
Included in the kit is an auxiliary cable for audio. Connect the auxiliary cable to the aux input on the motorcycle sound system, headset or other audio system. Run the auxiliary cable to the location of the mount and leave the cable loose.
![]()
If you are installing a 8/eyetooth dock, FMDA25, or using wireless FM transmission, refer to that products user guide for installation.
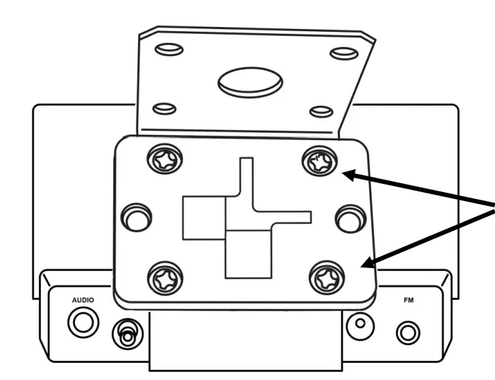
Step 6 – Connecting Docking Cradle
After all cables have been run, connect each cable to the corresponding port on the dock. (Some docks may have the connections on the sides and not the back as shown in the figure below)
![]()
Note: If installing a Bluetooth Sirius XM™ Dock, only power and antenna are required. The FM port on the dock is not used unless installing the FMDA25 Direct Wire Audio Adapter. After all connections have been made, slide the receiver down onto the dock and power on the unit. If installing a new Sirius XM™ receiver, follow the instructions on how to activate the receiver provided in the receivers user guide.
To learn more on haw to operate your specific receiver refer to the Sirius XM Radial user manual that came with the receiver.
CUSTOMER SUPPORT
Pixel Technologies, Inc.
www.pixelsatradio.com
[email protected]
(800) 595-0845
![]()

















