Astro io Wall

Astro io Wall
Products with electronic ballasts/ drivers must not be installed on the same electrical circuits as products wrth inductive loads, for example magnetic fluorescent luminaires, motors or ventilators. Inductive loads can generate excessive voltage surges which can damage electronic ballasts.
The light source in this luminaire shall only be replaced by the manufacturer or his service agent or a similar qualified person.
PLEASE READ THE INSTRUCTIONS CAREFULLY
BEFORE COMMENCING ASSEMBLY
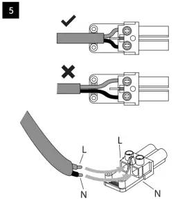
Live: Normally Brown/ Red
Neutral: Normally Blue/ Black
Earth: Normally Green/Yellow
This product contains o light source of energy efficiency doss D to Regulation (EU) No 2019/2015 (01/09/2021)
FOR WALL USE ONLY
Usage mural uniquement

Installation





















