VOGUE 255659 6 Bar Heated Towel Rail With Timer

Instructions
Before using this product, please read the following instructions carefully and keep
this pamphlet is for future reference
About the Product:
This heated towel rail is designed for drying towels or clothes, it has a surface stabilized temperature of 45-55°C, and it is used in household bathrooms and kitchens, as well as in hotels and restaurants or other public areas. This appliance is used under the voltage of 220 V-240V and is manufactured according to AS / NZS 60335 electrical safety standards
Safety Precautions
- The supplied power system which is connected to the towel rail must be used with an over-current protection device.
- This product is supplied with the relevant, fitted three-pin socket and three-wire cable, to avoid any risks or danger it must be earthed.
- Any change of or repair to the damaged internal wires must be done by a qualified technician who is deemed qualified by the industry standard. When any external wire fittings are required, the power must be cut off completely.
- Any hard scrubbing or scratching on the product surface is strictly prohibited,
Warning
- Only use for drying textiles that have been dampened by water.
- The original wire cannot be replaced, when it is unworkable, the whole product should be replaced.
- If the appliance is supplied from an extension cord set or electrical portable outlet device, then the extension cord set or electrical portable outlet device should be positioned so that it is not subject to splashing or excessive moisture.
Note:
- In the event of any technical statistics difference, please refer to the actual product.
- Please wipe the towel rail with a soft dry cloth when cleaning it.
Installation
Tool list
Accessories list
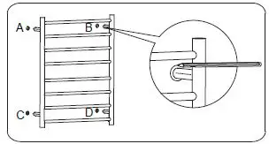
Select which side of the towel rail will be wired. The heated towel rail has two wiring options (left or right hand). The location of existing wiring through or on the wall will dictate which side you will use.
- Choose one side you need to be wired, get power cable through the leg and well connecting with the other side which on the towel rail, then screw down, use a screwdriver to fix the leg onto the upright tube.

- Use the nut well to cover the connector which does not need to connect power, then use a short screw to fix the leg.

- Then use a short screw to fix the other two legs onto the vertical bars.

- Hold the towel rail against the wall in the location where you want to be mounted. Use a tape measure to confirm the distance between the centers of the four brackets, and measure the distances both horizontally and vertically. Note the towel rail should be installed. so that the bottom rail is at least 600mm above floor level.

- Use a pencil to mark the centers on the wall.

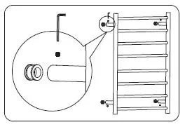
- Drill holes, and Insert rawlplugs into the wall. Insert screw through the mounting bush, then fix into Rawl plug ensuring the fit is secure.

- Put the towel rail on the fixed bushes, and ensure all legs cover the mounting bush. Make sure the towel rail fits correctly, then tighten the grub screw with the Allen key supplied, this will secure your towel rail to the wall. Then the towel rail installation is finished.

Remarks
- This appliance is not suitable for persons with defects in physical, senses, intelligence, or person lack of experience (including children), except when they are supervised by their guardians or with the right guidance before using the appliance.
- In order to prevent the children be hurt by the appliance, the minimum distance of the appliance to the ground when working should be not less than 600mm.
- This appliance should be provided with a fixed cabling and all-pole disconnection power off the device.
Product Specification
- Power: AC230V/50HZ
- Temp Range: 30~60℃
- Time: 1-8 hours
- Functions: Timing. Constant Temperature
Digital display description
- Power Off: not display, as picture:

- Power On: Temp.Range 30℃-60℃. Adjustable time 1-8 hours and always(ON)

- Heating: Timer start heating ( display time/hour) As picture:

Operating Instructions
- ON/OFF: Short press
and open it to“on press it to “off”. - Timing setting: Short press
, display twinkle, time could set from 1-8 hours.Press
shows ON (ON means always on, the heated towel rail keeping heating). Press
time will be reset to 1 hour. After setting, if do not operate it, the display will stop twinkling after 5s. When the reset time finishes, the timer switches itself off. - Temperature setting: Short press
display twinkle, 5℃ increment. When Temp. Arrive at 60℃, press it again, and the temperature comes back to 30℃. After setting, if do not operate it, the display will stop twinkling after 5s.
Error Display
When the temperature is abnormal, display shows, As a picture:




























