
Hotwire Heated Single Towel Rail
Please read this instruction manual. It includes important information that will
assist you and save you time and money.
Hotwire Heated Single Towel Rail
Congratulations on the purchase of your Hotwire Towel Rail. You have purchased a quality product that will serve you well for years to come.
Please follow these installation instructions carefully to ensure maximum value and enjoyment from your new Hotwire Towel Rail Our Single rail product is available in two
different sizes as seen above. Our product is constructed from stainless steel of which can be purchased in five different colours. Gold, Brushed Nickel, Silver GunMetal and Matte Black
Electrical Installation Instructions
This Heated Single Rail must be installed by a registered electrician.
Please also make sure your plug and switch location, Electrical supply and product location will comply with your current local regulations.
- The Isolation transformer (which you will receive with your Towel rail) Must be installed in a place that can be accessed with ease (e.g. near the fan cavity, light or switch)
- Make sure the transformer is not covered by insulation.
- If mounting in the wall cavity the transformer must be behind an access plate or a timer/switch to enable access and the transformer must have ventilation.
- In order to guarantee correct voltage to the towel rail the transformer must be under 2 meters from the rail.
- Means for disconnection must be incorporated in the fixed wiring in accordance with wiring guideline AS/NZS 3000
- Voltage drop can occur across the cable when the length of the cable doesn’t match the thickness required for your amps per towel rail output. Please check that your cables length and thickness meets the necessary requirements to power supply.
- The connection point to the towel rail can be found in the foot of the rail.
- The rail closest to the floor must be a minimum of 600mm above ground level.
- All heated wire in the rail must remain in the rail with none of the heated element being found in the wall
- Make sure to not pull out the wire or cut the wire for any reason.
- The connection point for the rail can be made at either the left or right foot.
Operation and Maintenance
- Once installation is complete and power is connected to the towel rail, either plug it in or set up a thermostat.
- Turn off the power wall switch when towel warmer is not in use.
- Clean the towel warmer with a soft dry towel.
- This unit has been designed to run continuously if required
Installation Instructions

Wall Preparation
- Hotwires single towel roil con be fixed to all wall types including cavity (timber, steel, masonry) all are acceptable.
- When fixing to a stud wall (steel or timber) you will need timber noggins for each foot.
- If you ore unable to find an exact position to fix rail early on in the job. It is advisable to noggins with 18mm plus construction ply, To cover a greater area.
- We do not recommend you fix to plaster or cement sheeting alone.
- Place the supplied low voltage wiring in the slot created and render over directly
- Low voltage wiring toils should protrude from the finished lined wall approx 150mm to allow for trimming.
- Protruding from the wall around 150mm you should have the low voltage wiring tails to allow for trimming.

Pre-Wire instructions
- You must first know which side of the towel rail the cable will be coming out of.( If you are still deciding we recommend the side closest to the transformer and furthest from wet areas.)
- When installing into a stud wall make sure to drill a 1 Omm hole in the noggin to create an access point for the wire connection.
- When installing into a masonry wall you will need on angle grinder and masonry cutting disc, you will need to cut a 25mm deep slot from the foot.

An electrical wall isolation switch must be connected to the towel rail (Not Supplied) and this must be labeled in order to identify and control the towel rail.
You must securely fit a 12V low voltage connector to the transformer.

Below you will find the distances needed to mark out the fixing points
- Make sure the marked fixing points align with the towel rail before drilling. (adjust if necessary) The distance of the screw fixing is determined by the brackets and their placement.
- The fixing material provided is under the expectation that you are fixing to a solid wall, when fixing to a timber framed wall please fix to a stud or noggin. If that is not possible please use suitable alternatives (e.g. hollow wall fixing)
- Once you have fed both sets of loop wiring through the wall bracket you will need to evenly cut through a loop you create at the centre. You will then fix the wall bracket to the wall using the fastening screw provided.

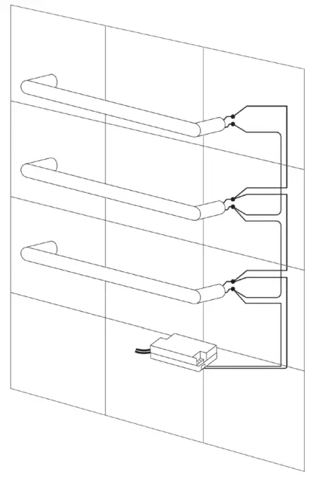
If you are installing three single rails please refer to the diagram above for multi rail wiring configuration.
Wires ends are not to be striped bare
- When attaching your crimp make sure all wires are pushed to the back of the socket.
- Cap off all unused wires on rail ends
- You can then tuck into the rail opening.
- Slot the rail openings into the wall brackets.

Frequently Asked Questions
– A) While most would assume the reason you can not extend the two meters would be due to voltage drop. That however can be fixed simply by switching to a larger wire. The actual reason is focused on the transformer with current transformers operating at a high frequency extending the length will cause higher than acceptable levels of radio frequency interference. This can affect people beyond your household and could affect neighbours as well. Older Transformers running on an ‘Iron Core’ do not have these same issues. So if you can acquire one you will not have these issues as long as you still use a larger cable to allow for your drop in voltage.
– A) It is unlikely that a multimeter will detect any voltage as electronic transformers operate at quite a high frequency. (higher than the sampling frequency of a standard multimeter) It is also important to not that the electronic transformer will require a load to be connected in order to start. If a test is necessary either connect the towel rail and wait to see if it heats up, another option is to connect a 50W Halogen Lamp to said transformer and see if it produces any light.
– A) Yes, you can. We offer a fully programmable 24 hour timer. We also have a Dual thermostat that will run your Hotwire floor heating and your Hotwire Towel rail.
– A) All our towel rails have a 5 year warranty, our towel rail timers fit under the warranty of our thermostats coming with a 2 year warranty.
– A) If you choose to use a transformer not supplied by Hotwire, It must meet the same specs as the transformer we supplied with the towel rail and must meet all relevant Australian standards.
– A) Our 800mm rails carry 18 watts per rail. Our 600mm rails carry 15 watts per rail Our transformer is able to hold 4 x 600mm rails and 3 x 800mm. If you wish to have more rails this can be done you will just need another transformer.
Further Details
A qualified Electrician must install this appliance in accordance with local wiring regulations and this Instruction Manual.
A means of disconnection from the supply must be provided. If the power cord is damaged the complete appliance should be returned to the manufacturer for repair.
- This appliance is not intended for use by persons (including children) with reduced physical, sensory or mental capabilities, or lack of experience and knowledge, unless they have been given supervision or instruction concerning use of the appliance by a person responsible for their safety.
- Children should be supervised to ensure that they do not play with the appliance.
- Means for disconnection must be incorporated in the fixed wiring in accordance with the wiring rules.
- If the supply cord is damaged, it must be replaced by the manufacturer, its service agent or similarly qualified persons in order to avoid a hazard.
- Keep heating surfaces at least 100 mm away from surrounding structures.
WARNING: In order to avoid a hazard for very young children, this appliance should be installed so that the lowest heated rail is at least 600 mm above the floor
Warranty
For warranty information please see the websites listed below.
AUSTRALIA
Hotwire Heating
www.hotwireheating.com.au
NEW ZEALAND
The Heating Company
www.theheatingcompany.co.nz

117 Wairau Rd Wairau Valley
Auckland 0627
New Zealand
0800 Heating (432 846)
[email protected]
www.theheatingcompany.co.nz
















