ULTRALUX LIGHTING UL-LED-MTL04 36 Inch Modern LED Track Light Instruction Manual
Thank you for purchasing ULTRALUX. LIGHTING Fixtures!
TROUBLESHOOTING
- Check that line voltage at fixture is correct.
- Ensure that there is voltage at lamp fixture wires. If there is no voltage, then check all connections.
- Check that fixture is grounded properly. if fixture does not light:
- Check switch to ensure that there are no defects.
- Check fuse/circuit breaker for trips, then check wiring connections.
CLEANING AND MAINTENANCE:
CAUTION: Ensure fixture temperature is cool enough to touch.
DO NOT clean or perform maintenance while fixture is energized.
- Clean lens and fixture with non-abrasive cleaning solution.
- Do not open fixture to clean LED. Do not touch the LED.
- Do not spray liquid directly on to LED, LED driver or wiring.
Please read carefully before installing fixture.
Save these instructions, as you may need them at a later date.
WARNINGS
Turn power off before installation, inspection, or removal. Use all necessary precautions while performing this procedure.
Consult a qualified electrician to ensure correct branch circuit conductor. Min 90°C supply conductors.
Properly ground electrical enclosure. IT IS IMPERATIVE THAT THE OUTLET BOX BE PROPERLY GROUNDED.
DO NOT REVERSE THE HOT AND NEUTRAL CONNECTIONS, OTHERWISE SAFETY WILL BE COMPROMISED.
This Integrated LED Fixture has no lamp/bulb to replace.
GENERAL: All electrical connections must be in accordance with local and National Electrical Code (N.E.C.) standards. If you are unfamiliar with proper electrical wiring connections, contact and obtain the services of a qualified electrician. Use UL or IEC approved wire only for input/output connections. Remove fixture and mounting components from the box, and make sure that no parts are missing by referencing the illustration in the installation instructions.
DIMMING: This product is compatible with most common residential type dimmers. Dimming performance will depend upon dimmer, dimmer settings (dimmers with adjustments to brightness range), wiring method, and number of LED modules. For best results, set dimmer position at maximum before adjusting to a lower light level.
- SHUT OFF MAIN ELECTRICAL SUPPLY FROM THE MAIN FUSE BOX/CIRCUIT BREAKER!
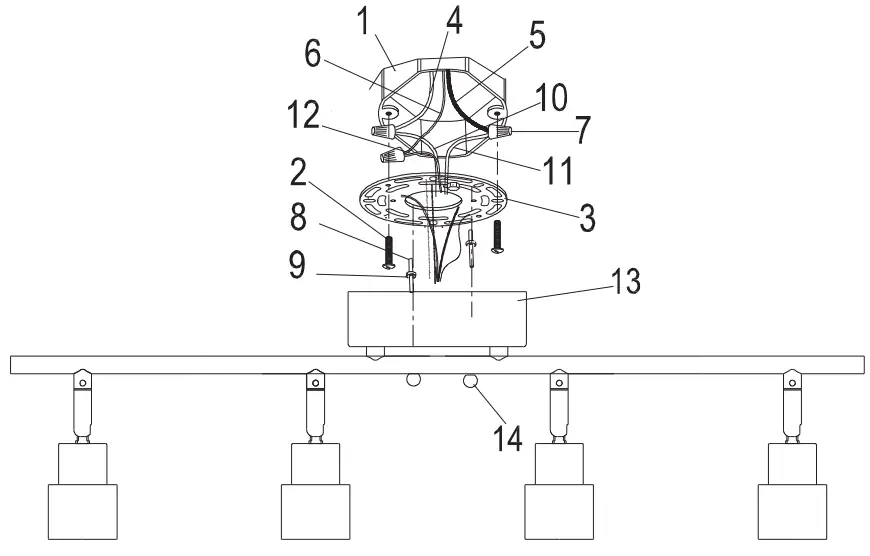
- Remove contents from box. Ensure that no parts are missing. Reference the illustration included with this instruction manual.
- Locate the BLACK AND WHITE SUPPLY WIRES (4 Ft 5) and the SUPPLY GROUND WIRE (6), and remove them from the JUUNCTION BOX (1).
- Attach the #8-32 FIXTURE MOUNTING SCREWS (8) to the MOUNTING BRACKET (3).
- Place the #8-32 HEX NUTS (9) onto the #8-32 FIXTURE MOUNTING SCREWS (8). Do not tighten the 18-32 HEX NUTS Mat this time.
- Attach the MOUNTING BRACKET (3) to the JUNCTION BOX (1) using the slotted holes on the MOUNTING BRACKET (3) and the provided MOUNTING SCREWS (2).
- Place the FIXTURE BASE (13) over the JUNCTION BOX (1) and onto the #8-32 FIXTURE MOUNTING SCREWS (8). Adjust the #8-32 FIXTURE MOUNTING SCREWS (8) until they protrude from the FIXTURE BASE (13)114″.
- Remove the FIXTURE BASE (13) from the JUNCTION BOX (1) and tighten the #8-32 FIXTURE MOUNTING SCREWS (8). Be sure to tighten the #8-32 HEX NUTS (9) against the MOUNTING BRACKET (3) until secure.
- Make the following wire connections (Fig.1), using the provided WIRE NUTS (7): WHITE (-) SUPPLY WIRE (4) TO WHITE FIXTURE WIRE (10) BLACK (+) SUPPLY WIRE (5) TO BLACK FIXTURE WIRE (11) SUPPLY GROUND WIRE (6) TO FIXTURE GROUND WIRE (12) If necessary, wrap all wire connections in electrical tape to ensure secure connection.
- Carefully tuck all wiring back into the JUNCTION BOX (1).
- Place the FIXTURE BASE (13) back onto the #8-32 FIXTURE MOUNTING SCREWS (8). Secure the FIXTURE BASE (13) into place using the provided DECORATIVE NUTS (14).
- Restore power at fuse box/circuit breaker. Check operation of Integrated LED Fixture.
- Installation complete.

- JUNCTION BOX (NOT INCLUDED)
- MOUNTING SCREWS x2
- MOUNTING BRACKET
- WHITE SUPPLY WIRE
- BLACK SUPPLY WIRE
- SUPPLY GROUND WIRE
- WIRE NUTS x3
- #8-32 FIXTURE MOUNTING SCREWS x2
- #8-32 HEX NUTS x2
- WHITE FIXTURE WIRE
- BLACK FIXTURE WIRE
- FIXTURE GROUND WIRE
- FIXTURE BASE
- DECORATIVE NUTS x2
YEAR LIMITED WARRANTY
LIMITED WARRANTY: This fixture is warranted to be free from defects in workmanship and material for up to 5-years. Based upon reasonable household usage, when used in accordance with package and included instructions. If this fixture does not last for the time period guaranteed, manufacturer will send you a replacement fixture upon receipt of the returned fixture, register receipt, and proof of purchase. To contact us, please email us at [email protected] or call us at 1-800-316-2532 to find out how to return the fixture. We are committed to making high quality products. Returning the fixture will help us monitor and further improve product quality. This replacement is the sole remedy available, and LIABILITY FOR INCIDENTAL OR CONSEQUENTIAL DAMAGES IS HEREBY EXPRESSLY EXCLUDED.
This device complies with Port 15 of the FCC Rules and has been tested and found to comply with the limits for Class 8 digital device. Operation is subject to the following two conditions: (1) this device may not cause harmful interference, and (2) this device must accept any interference received, including interference that may cause undesired operation. Any changes or modifications not expressly approved by manufacturer could void user’s authority to operate the equipment.
Toll Free: 1-800-316-2532 www.ultraluxled.com
ULTRALUX LIGHTING
2022 ULTRALUX’ LIGHTING is a registered trademark of Superior Ventures LLC. All rights reserved.



















