UL-LED-MEVL20-XX30 20 Inch Modern Edgelit LED Vanity Light
Instruction Manual
![]()
ULTRALUX’® LIGHTING
MODERN LED EDGE-LIT
VANITY LIGHT
INSTALLATION INSTRUCTIONS
Brena issue www.ultraluxled.com
PN: UL-LED-MEVL20-XX30
Thank you for purchasing ULTRALUX’
LIGHTING Fixtures!
TROUBLESHOOTING:
- Check that the line voltage at the fixture is correct.
- Ensure that there is the voltage at lamp fixture wires. If there is no voltage, then check all connections.
- Check that fixture is grounded properly.
If the fixture does not light: - Check the switch to ensure that there are no defects.
- Check fuse/circuit breaker for trips, then check wiring connections.
CLEANING AND MAINTENANCE:
CAUTION: Ensure the fixture temperature is cool enough to touch.
DO NOT clean or perform maintenance while the fixture is energized.
- Clean lens and Suite with a non-abrasive cleaning solution.
- Do not open the fixture to clean LED. Do not touch the LED.
- Do not spray liquid directly on to LED, LED driver or wiring.
Please read carefully before installing the fixture.
Save these instructions, as you may need them at a later date.
Please follow the following steps for installation.
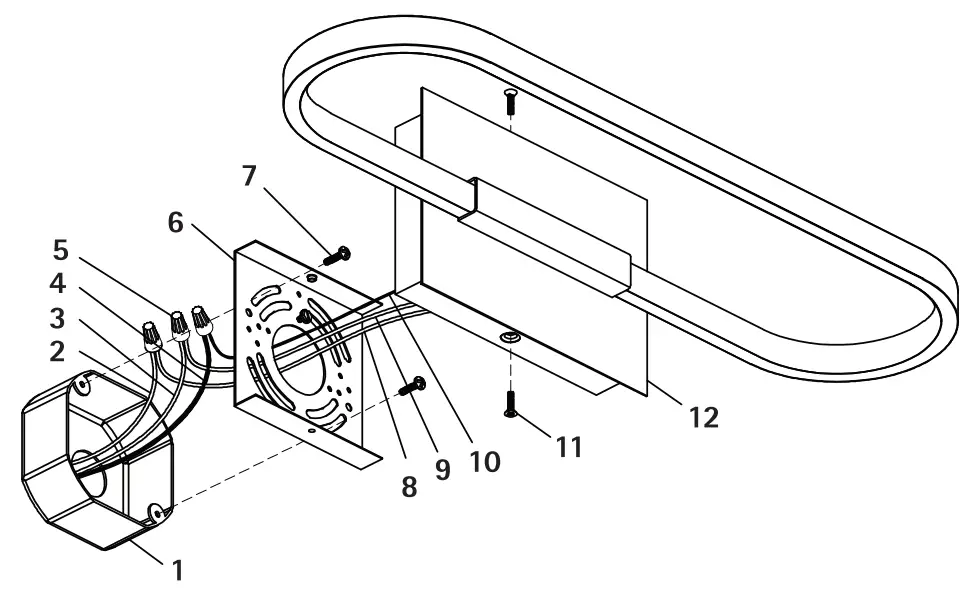
Figure 1
- JUNCTION BOX (NOT INCLUDED)
- SUPPLY GROUND WIRE
- WHITE SUPPLY WIRE
- BLACK SUPPLY WIRE
- WIRE NUTS (3)
- MOUNTING BRACKET
- MOUNTING SCREWS (2)
- FIXTURE GROUND WIRE
- WHITE FIXTURE WIRE
- BLACK FIXTURE WIRE
- FIXTURE SCREWS (2)
- FIXTURE BACKPLATE
WARNINGS:
Turn the power off before installation, inspection, or removal.
Use all necessary precautions while performing this procedure.
Consult a qualified electrician to ensure the correct branch circuit conductor.
Min 90°C supply conductors.
Properly ground electrical enclosure. IT IS IMPERATIVE THAT THE OUTLET BOX BE PROPERLY GROUNDED.
DO NOT REVERSE THE HOT AND NEUTRAL CONNECTIONS, OTHERWISE, SAFETY WILL BE COMPROMISED.
This Integrated LED Fixture™ has no lamp/bulb to replace.
GENERAL: All electrical connections must be in accordance with local and National Electrical Code (N.E.C.) standards. If you are unfamiliar with proper electrical wiring connections, contact and obtain the services of a qualified electrician. Use UL or IEC-approved wire only for input/output connections.
Remove the fixture and mounting components from the box, and make sure that no parts are missing by referencing the illustration in the installation instructions.
- SHUT OFF THE MAIN ELECTRICAL SUPPLY FROM THE MAIN FUSE BOX/CIRCUIT BREAKER!
- Remove contents from the box. Ensure that no parts are missing. Reference the illustration included with this instruction manual.
- Locate the BLACK AND WHITE SUPPLY WIRES (3 & 4) and the SUPPLY GROUND WIRE (2), and pull them from the JUNCTION BOX (1).
- Loosen both FIXTURE SCREWS (11) located on the top and bottom of the FIXTURE BACK
PLATE (12), then slide and pull the MOUNTING BRACKET (6) out from the FIXTURE BACK PLATE (12).
Set MOUNTING SCREWS aside until Step 8. - Attach the MOUNTING BRACKET (6) to the JUNCTION BOX (1).
Use the slotted holes on the MOUNTING BRACKET (6) and the provided MOUNTING SCREWS (7). - Make the following wire connections (Fig.1), using WIRE NUTS (5):
WHITE (NEUTRAL/COMMON) SUPPLY WIRE (3) TO WHITE FIXTURE WIRE (9) BLACK (LINE) SUPPLY WIRE (4) TO BLACK FIXTURE WIRE (10) SUPPLY GROUND WIRE (2) TO FIXTURE GROUND WIRE (8)
If necessary, wrap all wire connections in electrical tape to ensure a secure connection. - Carefully tuck all wiring back into the JUNCTION BOX (1).
- Slide the FIXTURE BACK PLATE (12) back onto the MOUNTING BRACKET (6). Secure in place by tightening both FIXTURE SCREWS (11).
- Restore power at the fuse box/circuit breaker. Check the operation of the Integrated LED Fixture.
- Installation complete.
5-YEAR LIMITED WARRANTY
LIMITED WARRANTY:
This fixture is warranted to be free from defects in workmanship and material for up to 5-years. Based upon reasonable household usage, when used in accordance with the package and included instructions. If this fixture does not last for the time period guaranteed, the manufacturer will send you a replacement fixture upon receipt of the returned fixture, register receipt, and proof of purchase. To contact us, please email us at [email protected] or call us at 1-800-316-2532 to find out how to return the fixture. We are committed to making high-quality products. Returning the fixture will help us monitor and further improve product quality. This replacement is the sole remedy available, and LIABILITY FOR INCIDENTAL OR CONSEQUENTIAL DAMAGES IS HEREBY EXPRESSLY EXCLUDED.
This device complies with Part 15 of the FCC Rules and has been tested and found to comply with the limits for Class B digital devices. Operation is subject to the following two conditions: (1) this device may not cause harmful interference, and (2) this device must accept any interference received, including interference that may cause undesired operation. Any changes or modifications not expressly approved by the manufacturer could void the user’s authority to operate the equipment.
Toll-Free: 1-800-316-2532
www.ultraluxled.com


















