NOVALUX 80830 25W-32W LED Track Light 4
INSTALL INSTRUCTIONS
PLEASE FIND A QUALIFIED ELECTRICIAN FOR INSTALLATION.
- Please read the instructions before you install and use the luminaire.
- Do not install any part of this system (Track) less than 7 ft (2.2m) above the floor.
- Test the compatibility of the track system and track lamp adapter before installing the track luminaire.
WARNING
- To prevent wiring damage or abrasion, do not expose wiring to edges of sheet metal or other sharp objects.
- Do not make or alter any open holes in an enclosure of wiring or electrical components during kit installation.
- The track luminaire is intended for mounting only in a covered ceiling where only the LED side of the luminaire will be exposed to dry or damp environments.
- Installation should only be performed after power to the fixture has been disconnected.
CAUTION
- To reduce the risk of fire and electric shock, use only with the appropriate track system.
- For use with ceiling-mounted tracks only.
- Dry Locations Only.
FIELD ADJUSTABLE WATTAGE & CCT
The end users may adjust the wattage (Powerzoom™ and Stealth-Trac™) and color temperature (Stealth-Trac™ only), respectively, by the dip switches located
on the back of the track heads. Each switch has 3 options (left, middle and right ), each position corresponds to 1 of 3 wattages and 1 of 3 color temperatures
(3000K, 3500K, and 4000K), which can be adjusted to the desired combination.
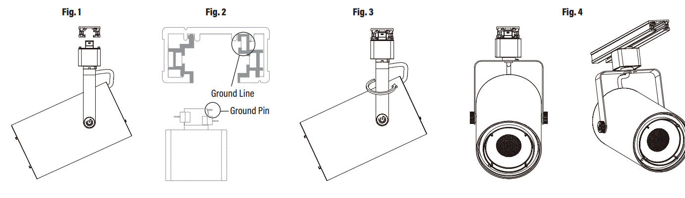
Installation – H TYPE
- Make sure the power is turned off at the source of the track system you are installing the fixture to.
- Make sure the fixture’s fitting is an H Type and compatible with the H track system Note: the H type fitting is only compatible with single-circuit track types.
- Insert the head into the slot of the track rail making sure ground line is parallel with the ground pin. Note: The grounding contact direction.
- While holding the adapter aligned with the track, push the fixture upward. Then while
pulling down on the adapter sleeve twist the body of the fixture 90 degrees until the locking tabs on both sides of the adapter snap into the track groove. Note: The ground pin needs to be touching the grounding line. The fitting only rotates in one direction. Do not forcefully rotate the fitting in the wrong direction as it may damage it. - Restore power at the source and installation is complete.

REMOVING LAMP
While holding the fixture in place, pull the adapter sleeve held down and gently twist the fixture 90 degrees until it can easily be removed from the track groove.
Installation – J TYPE
- Make sure the power is turned off at the source of the track system you are installing the fixture to.
- Make sure the fixture is compatible with the J track system Note: The J type fitting is compatible with single or two-circuit track types. Simply lift the contact to its up position for two-circuit application.
- Insert the head of fitting into the slot of the track rail making sure the locking tab is parallel to the track’s polarity line. Note: The polarity contact direction.
- While holding down the lock tab with your thumb, push the fixture upward, then twist the body of the fixture 90 degrees until the locking tab on the adapter snaps into the track groove.
Note: The fitting only rotates in one direction. Do not forcefully rotate the fitting in the wrong direction as it may damage it.
- Restore power at the source and installation is complete.

REMOVING LAMP
While holding the fixture in place, pull the lock tab down and gently twist the fixture 90 degrees until it can easily be removed from the track groove.
PREMIUM QUALITY LIGHTING®
- www.PQLighting.com
- © P.Q.L., Inc.
- 2285 Ward Avenue
- Simi Valley, CA 93065
- 800-323-8107
























