GERMAN FWM-125 Foldable Food Warmer Mat

Please read these instructions and warranty information carefully before use and keep them handy for future reference.
Warnings and Safety Precautions
WARNING!
Read all instructions carefully before using this product.
- This product is for domestic indoor use only. If this product is used for any commercial, industrial, rental or other purposes, product warranty will be VOIDED.
- This product is not intended for use by children or persons with reduced physical, sensory or mental capabilities, or lack of experience and knowledge, unless they have been given supervision or instruction concerning use of this product by an adult responsible for their safety.
- Mind your children and DO NOT let children play with this product.
- Cleaning and user maintenance shall not be made by children without supervision.
- Check the voltage indicated on the rating label before using this product.
- If the supply cord is damaged, it must be replaced by the manufacturer, its service agent or similarly qualified persons in order to avoid hazards.
- Unplug this product from the power source before cleaning and maintenance.
- Contact German Pool authorized service technician for repair or maintenance of this product.
- Danger of fire and electric shock exist in all electrical appliances and may cause personal injury. Before use, read this manual carefully and observe the following safety measures.
- Check that the voltage you are using matches the rated voltage of this product.
- This product is not intended for use by persons (including children) with reduced physical, sensory or mental capabilities, or lack of experience and knowledge, unless they have been given supervision or instruction concerning use of this product by a person responsible for their safety.
- To prevent electrical shock, DO NOT immerse this product, its power cord or power plug in water or other liquids, and DO NOT use this product in the bathroom, near water sources, outdoors or in humid environments.
- To avoid fire hazard, his product must be used on a level and sturdy tabletop, DO NOT use on carpets, towels, plastic or other surfaces not resistant to heat.
- When using this product, make sure it is completely unrolled and placed on a horizontal flat tabletop. DO NOT power on this product when it is rolled up.
- When unplugging the plug, user must hold the pull out by the plug. DO NOT yank or twist the power cord to prevent the power cord from being damaged and causing electric shock.
- DO NOT drop this product or subject it to strong impact.
- When any electrical component of this product is damaged or malfunctioning, stop using this product immediately and contact German Pool Customer Service and Repair Centre for replacement or repair.
- DO NOT use parts produced by non-designated manufacturers, otherwise it will cause harm to users or pose potential danger.
- When using this product, the power cord must be correctly positioned so that it does not hang downwards or cause people to trip over it.
- DO NOT hang this product on the edge of a table or on a hot surface, in order to avoid damaging the power cord and causing dangers such as electrical leakage.
- DO NOT place this product on or near hot gas stoves and induction stoves or in the oven.
- DO NOT use sharp objects on this product to avoid damaging the coating.
- DO NOT place plastic plates, plastic trays or plastic wrappings on this product.
- This icon represents that the touchable surfaces may be very hot.
- This product will become hot during use, DO NOT touch in order to avoid getting burnt.
- If this product will be used together with specific containers that are not provided with this product, user must refer to the instructions for use of the container and confirm it is safe to be used with this product. (Note: Specific containers refer to normal day-to day ceramic, metal or glass household utensils, etc.).
- DO NOT use metal brush to clean this product.
- When this product is not in use, or before cleaning, maintaining or storing away this product, make sure to turn off the product and unplug it from the power socket and allow it to cool down completely first.
- DO NOT immerse this product in water or rinse it directly with water.
- Keep this product out of reach of children. DO NOT allow children under 8 years old to touch this product or its power cord.
- Children must be supervised so that they DO NOT play with this product.
- DO NOT allow children to clean or maintain this product without adult supervision.
- This product is intended to be used in household and similar applications such as:
- Staff kitchen areas in shops, offices and other working environments;
- Farm houses;
- By clients in hotels, motels and other residential-type environments;
- Bed and breakfast type environments.
- DO NOT use this product outdoors.
- WARNING: Hot surface.
- DO NOT use this product for other than its intended purpose.
- If the power cord is damaged, it must be replaced by German Pool Customer Service & Repair Centre. DO NOT disassemble or repair by yourself.
- DO NOT operate this product with an external timer or independent remote control system.
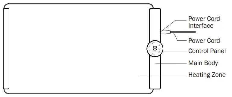
Product Structure

Control Panel


Operation Instructions
WARNING
- DO NOT use this product on glass tables, plastic tables and other tabletops that are not heat-resistant.
- When using this product, make sure it is completely unrolled. DO NOT power on this product when it is rolled up.
- DO NOT heat food directly on this product. Food must be placed in a suitable container.
- DO NOT cut food on this product, in order to avoid causing personal injury or damage to the product.
- DO NOT place more than 5kg load on this product to avoid damaging the product.
- During use or in the 30 minutes after use, DO NOT touch the heating zone in order to avoid scalding.
- Connect to the power source, buzzer will beep once, display will show “OF” and the product enters standby state.
- Tap On/Off Key
to turn on the product. By default, the product is set to heat at 60°C for 1 hour. - Tap Temperature Key
to cycle among keep warm temperature of 60°C / 70°C / 80°C / 90°C / 100°C. - Tap Timer Key
to cycle among keep warm time of 1 hr / 2 hr / 3 hr / 4 hr. - After timer countdown runs out, the product will automatically shut off; alternatively, user can tap On/Off Key
anytime to turn off the product immediately.
Note
- The selected keep warm temperature indicates the temperature of the heating zone surface, not the temperature of the food.
- In standby state, if the product does not receive any command in 1 minute, it will automatically turn off.
- It is recommended to preheat this product for 20 minutes before placing any food on it, this will enhance the food warming effect.
Cleaning and Maintenance
WARNING
- Before cleaning this product, turn off the product, unplug from the power source and allow the product to cool down completely first.
- If this product shows malfunction or needs repair, unplug it from the power source immediately and contact German Pool Customer Service & Repair Centre. Inspection and repair must be conducted by German Pool’s qualified technicians. DO NOT disassemble this product by yourself.
- DO NOT immerse or rinse this product with water.

- DO NOT place this product inside the dishwasher.
- This product can be wiped with a wrung-out non-abrasive soft cloth.
- After cleaning, let product air dry completely before storing it away.
- Roll up the product, and secure it with the included strap.
- Wrap the product in the dust-proof bag, and store it in a dry and ventilated place.
Technical Specification

- Specification is subject to change without prior notice.
- If there is any inconsistency or ambiguity between the English version and the Chinese version, the Chinese version shall prevail.
- Refer to www.germanpool.com for the most update version of the user manual.
Warranty Terms & Conditions
Under normal operations, the product will guarantee a 1-year full warranty provided by German Pool (effective from the date of purchase).
This warranty is not valid until customer registration information is received by our Service Centre within 10 days of purchase via one of the following means:

- Visit our VIP App and register online: (Scan the QR Code on the left)
- Visit our website and register online: www.germanpool.com/warranty
- Complete the attached Warranty Card and mail it back to our Customer Service Cetre.
Please fill out the form below. This information and the original purchase invoice will be required for any repairs. Warranty will be invalidated if information provided is found to be inaccurate.
- Model No: …………………….. EWM-125
- Serial No: ……………………..
- Invoice No: ……………………..
- Purchased From: ……………………..
- Purchase Date: ……………………..
- Customer who fails to present original purchase invoice will not be eligible for free warranty service.
- Customer should always follow the operating instructions. This warranty does not apply to:
- labour costs for on-site installation, check-up, repair, replacement of parts and other transportation costs;
- damages caused by accidents of any kind (including material transfer and others);
- operating failures resulting from applying incorrect voltage, improper usage, and unauthorized installations or repairs.
- This warranty is invalid if:
- the purchase invoice is modified by an unauthorized party;
- the product is used for any commercial or industrial purposes;
- the product is repaired or modified by unauthorized personnel, or unauthorized parts are installed;
- the serial number is modified, damaged or removed from the product.
- German Pool will, at its discretion, repair or replace any defective part.
- This warranty will be void if there is any transfer of ownership from the original purchaser.
Customer Service & Repair Centre
Hong Kong
- Unit B, G/F, Sunshine Kowloon Bay Cargo Centre, 59 Tai Yip Street, Kowloon Kowloon, Hong Kong
- Tel: +852 2333 6249
- Fax: +852 2356 9798
- Email: [email protected]
Macau
- A, 1 Andar, Mei Kui Kuong Cheong Fase 2, No.515 Avenida Do Conselheiro Borja Macau
- Tel: +853 2875 2699
- Fax: +853 2875 2661
This warranty is valid only in Hong Kong and Macau




















