

TWBA2000
Aromatherapy Luxury Towel Warmer
ZADRO®
LUXURY TOWEL WARMER
Model Number: TWBA2000
Important Safety Instructions
READ ALL INSTRUCTIONS BEFORE USE
All of the safety and operating instructions should be read, adhered to, and followed before the unit is operated.
FOR HOUSEHOLD USE ONLY
SAVE THESE INSTRUCTIONS

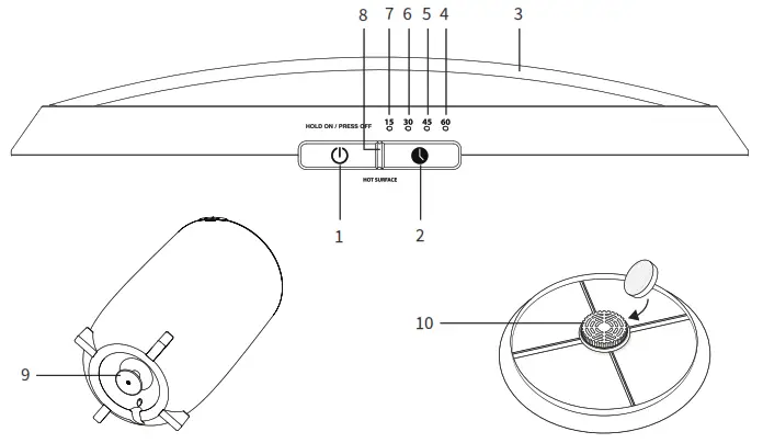
LOCATION OF PARTS AND CONTROLS
| 1. Power Button (Hold ON / Press OFF) 2. Timer Button 3. Lid 4. 60-Minute LED Indicator 5. 45-Minute Timer LED Indicator | 6. 30-Minute Timer LED Indicator 7. 15-Minute Timer LED Indicator 8. Hot Surface Caution LED Indicator 9. Cord Wrap 10. Essential Oil Reservoir |
USING THE TOWEL WARMER
The Towel Warmer will warm two bath towels measuring approximately 40” x 70”. For best results, use 100% cotton or cotton blend towels.
- Place the Towel Warmer on a dry, level, hard surface.
- Insert the power cord into an electrical outlet.
- Add 2-5 drops of essential oil onto the disk, place the disk into the reservoir located underneath the lid, and then screw on the reservoir cap.
- Place your dry towel(s) inside. Replace the lid.
- Press and hold the POWER BUTTON until the TIMER LED INDICATOR turns on. The TIMER LED INDICATOR
turns blue, indicating the Towel Warmer is preheating (default timer setting is 15 minutes). - When the Tower Warmer has reached the optimal heating temperature, the TIMER LED INDICATOR turns red. The Towel Warmer will continue to maintain the optimal heating temperature for the remainder of the timer setting (the timer starts to countdown when the TIMER LED INDICATOR turns red).
- To ensure the towel is fully heated, you may want to leave the towel in the Towel Warmer for a few minutes after the TIMER turns off.
- The Towel Warmer will automatically turn off after the selected timer setting has expired. Press the POWER BUTTON to turn the Towel Warmer off if you would like to power off the unit sooner.
SELECTING THE TIMER
- When the Towel Warmer is powered on, it will automatically default to 15 minutes.
- Press the TIMER BUTTON to select the 30-minute timer.
- Press the TIMER BUTTON again to select the 45-minute timer.
- Press the TIMER BUTTON again to select the 60-minute timer.
FREQUENTLY ASKED QUESTIONS
Make sure the Towel Warmer is properly plugged into a wall outlet then press and hold the power button to turn on the unit.
Be sure to only use dry towels; using damp towels will greatly extend the preheating cycle.
CARE AND MAINTENANCE
- Remove the power cord from the electrical outlet before cleaning. Wipe with a dry cloth.
- Do not use chemical agents as they may discolor the inner tub.
PRODUCT SPECIFICATIONS
Rated Voltage 120V AC
Frequency 60Hz
Wattage Max 480W
Weight Approx. 8.34 lbs.
Dimensions 20.5” (h) x 12” (w) x 12” (d)
This device complies with Part 15 of the FCC Rules.
DO NOT USE IT WHILE EMPTY. The red “HOT SURFACE” LED INDICATOR will turn on to indicate the inside surfaces of the Towel Warmer are hot to the touch. Handle the Towel Warmer carefully when the red “HOT SURFACE” LED INDICATOR is on. The “HOT SURFACE” LED INDICATOR light will turn off when the Towel Warmer has safely cooled down.
TO REDUCE THE RISK OF ELECTRIC SHOCK, DO NOT REMOVE THE COVER. THERE ARE NO SERVICEABLE PARTS INSIDE.
TO REDUCE THE RISK OF FIRE OR ELECTRIC SHOCK, DO NOT EXPOSE THIS UNIT TO RAIN OR MOISTURE.
WARNING
To reduce the risk of electric shock, burns, fire, or injury:
- Always unplug the unit from the electrical outlet immediately after use.
- Do not use this appliance for anything other than its intended use.
- Do not place or store the unit where it can fall or be pulled into a tub or sink.
- Do not place in or drop into water or other liquid.
- Do not reach for a unit that has fallen into the water. Unplug it immediately.
- Care should be taken so that objects do not fall into and liquids are not spilled onto the unit.
- This unit should never be left unattended when plugged in.
- Close supervision is necessary when this unit is used near children or disabled persons.
- Use this unit only for its intended use as described in this manual.
- Never operate this unit if it has a damaged cord or plug, if it is not working properly, or if it has been dropped, damaged, or dropped in water.
- Keep cords away from heated surfaces. Do not wrap the cord around the exterior of the appliance or let the cord hang over the table or counter edge.
- Do not use outdoors.
- Do not alter the safety plug or use an extension cord with this device.
- Do not operate with a voltage converter.
- Do not touch hot surfaces.
- Do not use accessory attachments not recommended by the manufacturer as this may cause injuries.
POLARIZED PLUG
This appliance has a polarized plug. This plug will fit in a polarized outlet only one way. If the plug does not fit fully in the outlet, contact a qualified electrician to install the proper outlet. Do not change the plug in any way.
FCC INFORMATION
WARNING: Changes or modifications not expressly approved by the party responsible for compliance could void the user’s authority to operate the equipment.
NOTE: This equipment has been tested and found to comply with the limits for a Class B digital device, pursuant to Part 15 of the FCC Rules. These limits are designed to provide reasonable protection against harmful interference in a residential installation. This unit generates, uses, and can radiate radio frequency energy and if not installed and used in accordance with the instructions, may cause harmful interference to radio communications. However, there is no guarantee that interference will not occur in a particular installation. If this equipment does cause harmful interference to radio or television reception, which can be determined by turning the equipment off and on, the user is encouraged to try and correct the interference by one or more of the following measures:
- Reorient or relocate the receiving antenna.
- Increase the separation between the equipment and receiver.
- Connect the equipment to an outlet on a circuit different from that to which the receiver is connected.
- Consult the dealer or an experienced radio/TV technician for help.
This device complies with Part 15 of the FCC Rules. Operation is subject to the following two conditions:
- This device may not cause harmful interference.
- This device must accept any interference received including interference that may cause undesired operation.
1 Year Limited Warranty
Zadro products include a 1 Year limited warranty from the date of purchase against defects in materials and workmanship. This warranty does not include damage to the product as a result of misuse or accident.
Should your product become defective during the warranty period, Zadro, Inc.™ will repair or replace (at our sole discretion) your product, at no charge. However, you are responsible for properly packing your product and any applicable shipping charges to Zadro, Inc.™
Please contact our Customer Service at 800-468-4348, 714-892-9200, or email [email protected] on how to obtain an RMA (return authorization number). Please have available and/or include a copy of your receipt, model number (TWBA2000), and the issue you are experiencing with your product.
CUSTOMERS OUTSIDE THE UNITED STATES OF AMERICA, PLEASE CONTACT THE RETAILER OF PURCHASE DIRECTLY TO RESOLVE ANY PRODUCT WARRANTY ISSUES.
Any product returned for preference is subject to a 20% restocking fee of the product and no shipping charges will be refunded.
Zadro, Inc.™ shall not be liable for any incidental or consequential damages arising out of defects in this product, whether or not caused by its negligence.
Some states do not allow the exclusion or limitation of incidental or consequential damages or allow limitations on how long an implied warranty lasts, so the above limitations or exclusions may not apply to you.
This warranty gives you specific legal rights and you may also have other rights, which vary from state to state.
Thank you for your purchase! Please visit us online to leave comments and reviews, & see more exciting new products from www.ZadroInc.com
© Zadro, Inc.™


Huntington Beach, CA
Phone: (714) 892-9200
[email protected]
ZadroInc.com
ZADRO®



















