ancona AN5550WF01 Towel Warmer

Required Tools

- Electrical requirements: 120V, 220W, 60Hz, 1.83A. MUST HAVE A GROUND CONNECTION. Should be protected by a 15 amp GFI circuit breaker or equal.
READ ALL INSTRUCTIONS IN THE MANUAL BEFORE INSTALLING THIS TOWEL WARMER.
Before You Begin
Unpack the towel warmer carefully to avoid any damage or loss of any part. When opening the box, care should be taken tom (30 in.) not discard packet of mounting screws. It is your responsibility to immediately inspect for any damage. Shipping damage should be reported immediately to your place of purchase. Follow instructions to make sure your towel warmer is properly installed. FAILURE TO FOLLOW THESE STEPS COULD RESULT IN HAZARDOUS CONDITIONS.
To avoid possible fire hazard, The Towel Warmer must be mounted as intended. MOUNT THIS UNIT AS SHOWN IN THESE INSTRUCTIONS. The towel warmer must be used in accordance with any prevailing code and relevant electrical wiring rules and regulations, in particular regulations that cover the use of products and accessories in damp situations such as showers, laundries and other areas with fixed water containers.
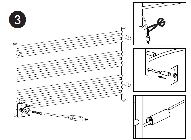
- Towel Warmer must be mounted vertical with cord in position as shown. No other position is safe or recommended.
- To provide continued protection against the risk of electrical shock, connect to properly grounded outlet only.
- Towel Warmer must be securely mounted to the wall. When possible, the Towel Warmer should be attached to adequate blocking or framing. Installations where blocking or framing is not available, must use appropriate wall anchors for mounting directly to sheetrock.
CAUTION:
- Approved for domestic use only. Do not use outdoors.
- Install in accordance with national and local codes.
- Do not install in the shower, sauna or any wet locations.
- Make sure towel warmer is properly secured to the wall before use.

For illustrative purposes only
- Failure to follow the installation instructions may lead to overheating and malfunction.
- Any repairs that involve opening the Towel Warmer must be carried out by manufacturer or their representative.
- Please contact your supplier in the event of any problem or if repair is needed.
Product Dimensions

Parts for Plug-In Wall Mount Installation
Plug-In Installation


Parts for Hardwire Wall Mount Installation
Hardwire Installation


All electrical connections in the junction box must be performed by a fully qualified electrician.


Operation and Maintenance Instructions
- After installation, connect the electric power and turn on the switch. The indicator light will show red and the towel warmer will start to work.
- Turn off the switch when the towel warmer is not in use. The indicator light will turn dark and the towel warmer will stop working.
- When cold, clean the towel warmer with a soft dry towel. Do not clean with abrasive cleaning powder.
- Unplug the unit if not in use for a long period of time.
CAUTION : Overlapping towels may increase towel warmer temperatures.
- PROPERLY HANG TOWELS.
- DO NOT OVERLAP TOWELS.

NOTE: There is no limit to how long a towel warmer can stay on. However, in order to conserve the life expectancy of our Ancona towel warmer, we recommend that the unit be on consecutively no more than two to three hours at a time.
- According to the National Electrical Code, all electrical work must be carried out by authorized licensed professionals. For your safety, please ensure you adhere to these regulations.
- Please ensure the power cord does not come in contact with the rail during operation.
- The power code is the means of disconnecting the unit from the main power outlet.
- The Towel Warmer will be hot. Please exercise caution if the Towel Warmer is accessible to children or the elderly. Please ensure that children are supervised at all times in the vicinity of the Towel Warmer and warn them that it is a hot surface that can cause burns.
HIGH OPERATING TEMPERATURE!
- Towel warmers are designed for heating towels and bathrobes and should not be used for other purposes. The manufacturer or reseller assumes no liability if the device is used in combination with equipment or accessories not sold by the manufacturer.
- This towel warmer is to be only used with fabrics that are water washable. Towels which contain soap or detergent residue may appear to have scorch marks; however, this is simply discoloration of the residue in the towels themselves. The unit does not reach a temperature sufficient to scorch towels.
- Never stand, sit or climb on the unit.
- This towel warmer operates at high temperatures that can cause burns. Do not touch surfaces of the towel warmer while the warmer is in operation. The unit is designed to warm up towel and may become very hot.
- Do not allow unsupervised children in the vicinity of the towel warmer; and warn children of hot surfaces. An adult must supervise when the device is used by or near children. Unplug the unit with a dry hand and ensure that the electrical circuit breaker is off the main panel before wiring, carrying out a repair or servicing your heated towel warmer.
- Do not place your towel warmer inside a shower, sauna or plunge into the water.
- To ensure continued protection against risk of electric shock, plug the unit into a properly grounded outlet.
- Approved for domestic use only. Do not use outdoors.
Information: [email protected] or 1-800-350-4562
INSTALLATION INTRUCTIONS
Wireless Home Automation Control Device Interchangeable Face Cover On/Off Switch
The PA-TM-WF01 ON/OFF Switch is a perfect wireless manual and remote on/off control, replacing regular wall switch, controlling incandescent, LED, fluorescent, ballast and so on.
WARNINGS AND CAUTIONS:
Be sure to read the instructions carefully before installation, as the manufacturer will not be responsible for any product damage caused by not following the instructions.
- Wet hands are strictly prohibited.
- Must work strictly according to the rated load.
- Do not continue to work after self-disassembly of any nature and damage of external forces.
Features
- Perfect replacement for regular wall switch, 120VAC, 15Amp.
- Manual and remote ON/OFF control of any connected lighting and other electrical load.
- You can turn your devices on or off at any time or anywhere with internet connection, using the free Tuya App on your smartphone
- Interchangeable color face plate.
- Indoor use only.
Specifications
| Voltage | 120VAC, 60Hz |
| Incandescent | 1000W |
| Electronic Ballast | 5A |
| Standard Ballast | 1200VA |
| Resistive | 1800W(15A) |
| Motor | 1/2 HP |
| Operating Temperature | 32°F~104°F (0°C~40°C) |
| Wire Strip Length | 16 mm (5/8 in.) |
| Supply Connection | 14 AWG wires, suitable for at least 90°C |
| Screw Torque | 20 lbf-in |
| Protocol | IEEE 802.11b/g/n |
| Wireless Type | 2.4GHz (Type 1.B action, operating control) |
- WARNING: To avoid fire, shock, or death. High Voltage – Turn off power at circuit breaker or fuse and test that power is off before wiring.
- Remove wall plate and existing switch mounting screws.
- Carefully remove the existing switch from the switch box.
- Disconnect the wiring from the existing switch.
- Connect the switch as shown in the wiring diagram: Black lead to hot wire, white lead to neutral wire, red lead to load wire, green lead to ground wire.
Wiring diagram
- Check connections to make sure they are tight and no bare conductors are exposed.
- Insert the PA-TM-WF-01 switch into the standard outlet box carefully.
- Secure the switch to the box using the supplied screws.
- Attach the wall plate.
- Restore power at the circuit breaker and test the system.
Operation
Manual Control
The switch paddle allows the user to turn ON/OFF the connected lighting.
- To turn the connected lighting ON: Tap the top of the switch paddle.
- To turn the connected lighting OFF: Tap the bottom of the switch paddle.
Please Note: After a power failure, the on/off switch returns to OFF state.
Tuya Smart App Control
- Download Tuya Smart app from the App Store or Google Play.

- Connect mobile device to your 2.4GHz Wi-Fi network. Please note this Smart switch can only be connected to 2.4GHz network.

- Launch Tuya and follow the in-app instructions to connect the Wi-Fi switch to your network.
- Click the button “+”.

- Select “Wi-Fi Switch”.

- Click the bottom button.

- Enter your Wi-Fi password.

- Connect.

- Finished.

- Click the button “+”.
- Once the device is added, Wi-Fi switch can be opened, closed, set countdown and timer.

Please Note
- While adding device, you must correctly select the router’s Wi-Fi device name and fill in the correct Wi-Fi password, otherwise the device will not be added successfully.
- This Wi-Fi switch can only be paired with one phone device. If you want multiple phones to control the Wi-Fi switch, click the “profile” then choose “Device Sharing”.

- When the device fails to add the App, please try to enter the AP mode. Before entering the AP mode, please press the top or bottom button 5 times continuously, then press and hold at the sixth time for 5 seconds, then release. The LED indicator is green and slowly blinks.

Operation and LED Indication
- Quick blinking green: Connecting to the network.
- Slow blinking green: AP mode.
- Green bright after 2 seconds off: Connected to the network.
- Solid green: Network working normally or in standby mode.
- Solid blue: The Wi-Fi switch is switched on.
- Off: The Wi-Fi switch is switched off.
FCC Compliance Statement
Federal Communication Commission Interference Statement
This equipment has been tested and found to comply with the limits for a class B Digital Device, pursuant to part 15 of the FCC Rules. These limits are designed to provide reasonable protection against harmful interference in a residential installation. This equipment uses, generates and can radiate radio frequency energy and, if not installed and used in accordance with the instructions, may cause harmful interference to radio communication. However, there is no guarantee that interference will not occur in a particular installation. If this equipment does cause harmful interference to radio or television reception, which can be determined by turning the equipment off and on, the user is encouraged to try to correct the interference by one or more of the following measures:
- Reorient or relocate the receiving antenna.
- Increase the separation between the equipment and receiver.
- Connect the equipment into an outlet on a circuit different from that to which the receiver is connected.
- Consult the dealer or an experienced radio/TV technician for help.
FCC Caution
This device complies with Part 15 of the FCC Rules. Operation is subject to the following two conditions:
- This device may not cause interference, and
- This device must accept any interference received, including interference that may cause undesired operation.
FCC Radiation Exposure Statement
This equipment complies with FCC radiation exposure limits set forth for an uncontrolled environment. This equipment should be installed and operated with a minimum distance of 20 cm between the radiator and your body.
RF Exposure: A distance of 20 cm shall be maintained between the antenna and users, and the transmitter module may not be co-located with any other transmitter or antenna.
Non-modification Statement
Any changes or modifications not expressly approved by the party responsible for compliance could void the user’s authority to operate this equipment.
Warranty Information
AMS warrants its products to be free of defects in materials and workmanship for a period of one (1) year. There are no obligations or liabilities on the part of AMS for consequential damages arising out of or in connection with the use or performance of this product or other indirect damages with respect to loss of property, revenue, or profit, or cost of removal, installation or reinstallation. Limited Product Warranty shall be automatically void if:
- any repair, alteration, modification, customization, disassembling, addition or any other work is performed on the Product by any person not authorized by AMS to do so;
- any alleged material defect, including deterioration or wear, is a result of failure to observe the manufacturer’s instructions or guidelines, abuse, misuse, improper operation, care or maintenance, unusual physical or electrical stress and/or power surges, brown-out, chemical abrasion or improper chemical or environmental conditions, leaking, fire, lightning, force majeure or superior force, accident, error, negligence, or is a result of use for nondomestic or non-residential purposes or for any purpose other than the Product’s intended purpose;
- the Product is operated in conjunction with accessories, other products, ancillaries or peripheral equipment or substances that have not been previously approved in writing or validated by AMS; or
- Purchaser fails to comply with the Warranty Claim Procedure.
www.anconahome.com
MAPA-TM-WF-01-03 20201211

































