TRUPER MADE-20NX Demolition Hammer

MADE-20NX Demolition Hammer
Product Information
The product is a demolition hammer with code MADE-20NX and model number 100893. It has a power requirement of 1 600 W and operates on a voltage of 127 V~ and a frequency of 60 Hz. The tool has a weight of 20 kg and comes with a HEX 1 1/8 tool holder. It has an impact energy of 55 Joules and a work cycle of 50 minutes per 20 minutes rest, with a maximum operating time of 6 hours per day. The tool has Class II insulation and an IP20 grade. The grips used in this product are Type Y, and it has reinforced insulation build quality. The motor winding has thermal insulation of Class E.
Product Usage Instructions
Before using the tool, read the manual thoroughly to understand the safety warnings and instructions for operation, maintenance, and warranty policy. Keep the manual for future reference. When using the tool, keep the work area clean and well-lit to avoid accidents. Remove any wrench or vice before turning the power tool on to prevent personal injury. When using an extension cable, ensure the gauge is sufficient for the power requirements as specified in the table provided in the manual. Use a grounded extension cable labeled for outdoor use when operating power tools outdoors to reduce the risk of electric shock. Do not expose the tool to rain, liquids, or dampness as it may alter the build quality of the electric insulation. Before gaining access to the terminals, disconnect all power sources to avoid electric shock. In case of damage to the power cable, replace it only with the manufacturer or at an authorized service center to avoid electric
shock or severe injury. If spills or liquid get into the tool while in use, it may cause hazards of fatal.
CAUTION
To gain the best performance of the tool, prolong the duty life, make the Warranty valid if necessary, and to avoid hazards of fatal injuries please read and understand this Manual before using the tool. Keep this manual for future reference. The illustrations in this manual are for reference only. They might be different from the real tool.

Technical Data

WARNING Avoid the risk of electric shock or severe injury. When the power cable gets damaged it should only be replaced by the manufacturer or at an Authorized Service Center. The build quality of the electric insulation is altered if spills or liquid gets into the tool while in use. Do not expose to rain, liquids, and/or dampness.
WARNING Before gaining access to the terminals all power sources should be disconnected.
Power Requirements

WARNING Tools with double insulation and reinforced insulation are equipped with a polarized plug (one prong is wider than the other). This plug will only fit in the right way into a polarized outlet. If the plug cannot be introduced into the outlet, reverse the plug. If it still doesn’t fit, call a qualified electrician to install for you a polarized outlet. Do not alter the plug in any way. Both insulation types eliminate the need of a grounded third power cord with three prongs or a grounded power connection.
WARNING When using an extension cable, verify the gauge is enough for the power that your product needs. A lower gauge cable will cause a voltage drop in the line, resulting in power loss and overheating. The following table shows the right size to use depending on the cable’s length and the ampere capability shown in the tool’s nameplate. When in doubt use the next higher gauge.

It is safe to use only if the extensions have a built-in artifact for over current protection. AWG = American Wire Gauge. Reference: NMX-J-195-ANCE
WARNING When operating power tools outdoors, use a grounded extension cable labeled “For Outdoors Use”. These extensions are specially designed for operating outdoors and reduce the risk of electric shock.
General power tool safety warnings
WARNING! Read carefully all safety warnings and instructions listed below. Failure to comply with any of these warnings may result in electric shock, fire and/or severe damage. Save all warnings and instructions for future reference.
Work area
Keep your work area clean, and well-lit. Cluttered and dark areas may cause accidents. Never use the tool in explosive atmospheres, such as in the presence of flammable liquids, gases or dust. Sparks generated by power tools may ignite the flammable material. Keep children and bystanders at a safe distance while operating the tool. Distractions may cause losing control.
Electrical Safety
- The tool plug must match the power outlet. Never modify the plug in any way. Do not use any adapter plugs with grounded power tools.
- Modified plugs and different power outlets increase the risk of electric shock.
- Avoid body contact with grounded surfaces, such as pipes, radiators, electric ranges, and refrigerators.
- The risk of electric shock increases if your body is grounded.
- Do not expose the tool to rain or wet conditions.
- Water entering the tool increases the risk of electric shock.
- Do not force the cord. Never use the cord to carry, lift or unplug the tool. Keep the cord away from heat, oil, sharp edges or moving parts.
- Damaged or entangled cords increase the risk of electric shock.
- When operating a tool outdoors, use an extension cord suitable for outdoor use.
- Using an adequate outdoor extension cord reduces the risk of electric shock.
- If operating the tool in a damp location cannot be avoided, use a ground fault circuit interrupter (GFCI) protected supply.
- Using a GFCI reduces the risk of electric shock.
Personal safety
- Stay alert, watch what you are doing, and use common sense when operating a tool. Do not use a power tool while you are tired or under the influence of drugs, alcohol or medication.
- A moment of distraction while operating the tool may result in personal injury.

- Use personal protective equipment. Always wear eye protection.
- Protective equipment such as safety glasses, anti-dust masks, non-skid shoes, hard hats, and hearing protection used in the right conditions significantly reduce personal injury.
- Prevent unintentional starting up. Ensure the switch is in the “OFF” position before connecting to the power source and/or battery as well as when carrying the tool.
- Transporting power tools with the finger on the switch or connecting power tools with the switch in the “ON” position may cause accidents.
Remove any wrench or vice before turning the power tool on
- Wrenches or vices left attached to rotating parts of the tool may result in personal injury.
- Do not overreach. Keep proper footing and balance at all times.
- This enables better control of the tool during unexpected situations.
- Dress properly. Do not wear loose clothing or jewelry. Keep hair, clothes, and gloves away from the moving parts.
- Loose clothes or long hair may get caught in moving parts.
- If you have dust extraction and recollection devices connected to the tool, inspect their connections and use them correctly.
- Using these devices reduces dust-related risks.
- Power Tools Use and Care
- Do not force the tool. Use the adequate tool for your application.
- The correct tool delivers a better and safer job at the rate for which it was designed.
- Do not use the tool if the switch is not working properly.
- Any power tool that cannot be turned ON or OFF is dangerous and should be repaired before operating.
- Disconnect the tool from the power source and/or battery before making any adjustments, changing accessories or storing.
- These measures reduce the risk of accidentally starting the tool.
- Store tools out of the reach of children. Do not allow persons that are not familiar with the tool or its instructions to operate the tool.
- Power tools are dangerous in the hands of untrained users.
- Service the tool. Check the mobile parts are not misaligned or stuck. There should not be broken parts or other conditions that may affect its operation. Repair any damage before using the tool.
- Most accidents are caused due to poor maintenance of the tools.
- Keep the cutting accessories sharp and clean.
- Cutting accessories in good working conditions are less likely to bind and are easier to control.
- Use the tool, components, and accessories in accordance with these instructions and the projected way to use it for the type of tool when inadequate working conditions.
- Using the tool for applications different from those it was designed for, could result in a hazardous situation.
Service
Repair the tool in an Authorized Service Center using only identical spare parts. This will ensure that the safety of the power tool is maintained.
Safety warnings for the use of Demolition Hammers
Choose the appropriate drill or attachment
CAUTION
- The tool is designed to work with bits or accessories with 1 1/8″ HEX shanks. Choose the appropriate one for the material to be worked on, this reduces the risk of serious injury and speeds up the work.
- Do not attempt to use bits that exceed the capacity of the drill.
- Use well-sharpened and well-conditioned drill bits/accessories to optimize the work.
Before operating the demolition hammer
- Take your time to evaluate the work to be done and make sure you have followed all the necessary precautions before starting to drill
WARNING
Fit the accessory correctly to the Chuck, otherwise, it can be thrown out at high speed and cause serious injury
DANGER
Before hitting a wall, floor, or ceiling, make sure there are no embedded objects, such as wires or electrical conduits, or pipes.
DANGER
Make sure the switch is off (page 8 Start-up) before connecting the tool, otherwise, it will start working unexpectedly, which can cause serious injury. Turn off and disconnect the tool before
CAUTION
installing or replacing an accessory.
WARNING
This electric tool produces an electromagnetic field during its operation that could interfere with medical implants. To reduce the risk of serious or fatal injury, it is recommended that people with medical implants consult their physician and the manufacturer of the implant before operating the tool

While operating the demolition hammer
CAUTION
- Hold the tool by its handle and by the auxiliary handle. Remember that loss of control can cause personal injury.
- Hold the tool by its insulating surfaces, especially when performing work where the cutting portion of the drill may contact hidden wiring or the tool’s own power cord. Contact with a live wire also makes the metal parts of the tool live and can cause an electric shock to the operator.
- Do not subject the tool to excessive stress.
CAUTION
- If the drill bit gets stuck in the workpiece, turn off the demolition hammer immediately. Then remove the drill bit from the workpiece. Do not attempt to remove jammed bits by turning the tool on
and off. - Do not put too much pressure on the tool to speed up the drilling. Otherwise, the drill bit will be damaged and the efficiency of the tool will decrease as well as its life span.
WARNING
- The larger the chisel area, the greater the reactive force, which can lead to a loss of control of the tool. To avoid this possibility, hold the tool firmly with both hands and maintain a balanced position on both feet while drilling at 90°.
- Be careful and ready to relax the force as soon as the drill bit penetrates the material. Sudden movements can cause accidents.
CAUTION
- Do not touch the chisel or drill holes immediately after drilling. Wait for them to cool down before handling them. Do not try to cool them with water or oil.
- Avoid placing the tool in a place with particles and/or dust immediately after use, these can be absorbed into the tool mechanism and thus damage it.
- Use headset protectors, when running services that make noise above 85 dB. Exposure to noise can cause hearing loss.
- Use a dust mask and dust extraction equipment if necessary. Remember that working with materials such as asbestos, lead paint, additives, some types of wood, metals, or minerals is highly toxic.
- Wear safety goggles
Parts

Assembly

CAUTION
To prevent accidents, confirm that the switch is off and disconnect the plug from the power supply.
WARNING
- Wear gloves whenever you change accessories.
- They can become extremely hot during the operation.
- Clean the accessories shanks and apply grease from the included tubes before mounting them on the tool fastener (A).
- The attachments are secured in the tool chuck by the retaining lever (B).
- The position of the lever depends on the type of shank of the fixture being used, usually slotted or shouldered.
SLOTTED ACCESSORIES (C)
- Move the retention lever to the bottom of the fastener without reaching the tool axis, as shown in image (D).
- Insert the accessory into the fastener; ensure that the attachment slot is parallel to the retention lever.
- Return the lever to its original position to lock the attachment (E).
- Pull the bit to confirm that it is fully secured.
- To remove the accessory, move the lever to the tip of the drill chuck and remove the accessory.
ACCESSORIES WITH SHOULDER (F)

- Move the retention lever toward the bottom of the fastener until it exceeds the axis of the tool, as shown in image (G).
- Insert the accessory into the fastener.
- Return the lever toward the accessory to lock it (H).
- Make sure the shoulder is inside the retaining lever.
- Pull the bit to confirm that it is fully secured.
- To remove the accessory, pull the lever and remove the accessory.
Adjustments

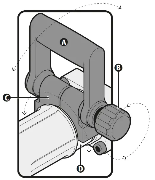
Auxiliary handle
CAUTION
- Operate the power tool only with the auxiliary handle installed (A).
- The auxiliary handle can be rotated to any position and tilted back and forth for safe, low-fatigue positioning.
- Turn the auxiliary handle knob (B) counterclockwise to loosen the mount (C) and place the auxiliary handle in the desired position.
- Then retighten the auxiliary handle knob by turning it clockwise.
- Make sure the band of the mount (D) is positioned in the proper section of the housing.
Startup
ON AND OFF
- To turn on the demolition unit, press “ I ” on the switch.
- To turn it off press “O” on the switch.

Operation

- Hold the tool firmly with both hands.
- Turn it on and apply light pressure to it to prevent kickback.
- Over-pressing with the tool will not improve efficiency.
Maintenance
Cleaning and care
- Clean the machine with a soft cloth, moistened with soap and water, preferably after each use.
- Always keep the vents clean and unobstructed to ensure proper engine cooling.
- Regularly inspect all mounting screws and make sure they are properly tightened. If any of the screws are loose, tighten them immediately.
Carbon brush replacement
- The carbon brushes must be checked periodically, and always replaced by an Authorized Service Center when they have worn out.
- After they have been replaced, ask them to inspect if the new carbon brushes can move freely in the carbon holder and ask them to turn the tool on for 5 minutes to match the contact of the brushes and the switch.
- Only original spare carbon brushes should be used, specifically designed with the right hardness and electrical resistance for each type of motor.
- Out-of-spec coals can damage the engine.
- When changing carbon brushes always replace both coals
Lubrication
- The demolition hammer crankshaft is lubricated with low-viscosity grease so that it can be used for a long period without the need to replace the grease.
- Go to an Authorized Service Center to replace the grease in case of leakage. Applying non-recommended grease will stick to the machine and reduce it useful life.
Service
- Servicing of the tools must be performed only at an Authorized Service Center. Service and maintenance by unqualified persons can be dangerous and can cause personal injury in addition to
invalidating the product warranty.
Authorized Service Centers
In the event of any problem contacting a Truper Authorized Service Center, please see our webpage www.truper.com to get an updated list, or call our toll-free numbers 800 690-6990 or 800 0187-8737 to get information about the nearest Service Center.
Warranty Policy
Code 100893 Model MADE-20NX
This product is guaranteed for 3 years. To make the warranty valid or purchase parts and components you must present the product in Corregidora 22, Col. Centro, Alc. Cuauhtémoc, CDMX C.P. 06060 or at the establishment where you purchased it, or at any Truper® Service Center listed in the annex to the warranty policy and/or in www.truper.com . Transportation costs resulting from compliance of this warranty will be covered by For questions or comments, call 800-690-6990. Made in China. Imported by Truper S.A. de C.V. Parque Industrial 1, Parque Industrial Jilotepec, Jilotepec, Edo. de Méx. C.P. 54257



















